Back to Home Page of CD3WD Project or Back to list of CD3WD Publications

PREVIOUS PAGE TABLE OF CONTENTS NEXT PAGE


5.2. Guidelines for the use of pheromone trapping for the larger grain borer

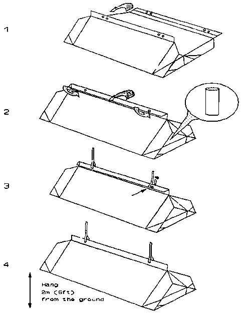
5.2.1. The standard Pink Bollworm or "Delta" traps are packed in pairs, sticky sides facing. Separate the two traps and fold each into a triangular shape, securing the top edges with staples or paper clips.

5.2.2. If very short trap exposures are planned, say one or two days, the traps can be inverted so that their sticky surfaces face outwards; this results in higher catches. However exposures of longer than two days result in the glue becoming inoperative due to dust, insect bodies or rain.

5.2.3. Where possible the sealed pheromone dispenser sachets should be kept at below 15°C. At this temperature they retain their full efficacy for about 18 months. If retained at 4°C they can be stored for up to 4 years. Lures stored at ambient temperatures in the tropics, in unopened sachets, should be used during the year or season of purchase. To minimize loss of pheromone, opened sachets should be kept in sealable metal cans or glass jars. Do not expose pheromone dispensers to excessive heat, such as may build up inside a parked vehicle. Only a sufficient number of dispensers should be taken for immediate usage in the field.

5.2.5. One lure should be dropped into the centre of each trap so it sticks securely. The pheromone dispenser should be used as supplied and not opened, as the pheromone readily diffuses through the walls of the dispenser.

5.2.6. Traps should be positioned approximately 1 and 3 metres above ground level. To prevent disturbance or theft it is usually wise to locate them in a secure place, (next to an office or in someone's compound). If possible find a sheltered spot where rain and wind will have least effect, (under a canopy or open shed).

5.2.7. Tie or pin the trap securely (eg, to a roof support), label it with the date set and the location. Use a waterproof marker pen.

5.2.8. Traps should be place in a wide variety of locations, typically where there is maize and cassava trading or storage, but also away from stores and maize cultivation, (at stopping points on transport routes). Substantial numbers of LGB adults have been caught in traps located in uninhabited, uncultivated areas, far away from areas of maize cultivation.

5.2.9. Maximum effectiveness extends to about 400 metres.

5.2.10. Traps are normally left in place for about 14 days. After this period the pheromone loses its attractiveness and the sticky surface of the trap may become coated with dust and insects. Inspect trap sites at 7-day intervals, and replace traps and/or vials after 14 days.

5.2.11. Counting and identification can normally be undertaken while the insects are held in the glue of the traps. If need be, the insects can be picked off the glue and cleaned using a suitable solvent, eg kerosene or petrol. Only LGB are specifically attracted to the trap. Any other insects found, (eg, storage moths), have become trapped accidentally.

5.2.12. The trap and lure are not toxic, so when finished with they can be disposed of with rubbish.

5.2.13. It is no longer recommended to use window traps designed for monitoring LGB in grain stores. Recent findings from MEXICO suggest that a crevice traps of this type attract LGB mostly from sources external to the storage environments.

Figure 5.1 Delta trap assembly instructions

Figure 5.2 Securing delta trap on a tree branch


PREVIOUS PAGE TOP OF PAGE NEXT PAGE