Back to Home Page of CD3WD Project or Back to list of CD3WD Publications

10. Entreposage en cribs

Table des matières - Précédente - Suivante

10.1 Introduction

Les systèmes traditionnels exploitent le pouvoir desséchant de l'air naturel ambiant. La culture commence à sécher dans le champ avant la moisson. Les petits producteurs font sécher le maïs avec son enveloppe en exposant, par exemple, les épis à l'air. Les grands exploitants utilisent toutes sortes de structures ventilées naturellement pour ramener la teneur en eau des épis à environ 20 pour cent, stade auquel on considère qu'ils sont raisonnablement à l'abri de l'attaque des insectes.

Dans les zones tropicales humides, on utilise beaucoup, pour le séchage, des structures rondes en lattis. Elles ont de I à 3 m de diamètre et peuvent atteindre 2,5 m de hauteur. Pour entreposer les épis de mais sans les déshabiller, on utilise des plates-formes, souvent selon une disposition spéciale, sous lesquelles on peut allumer un feu. Un toit de chaume abrite le mais de la pluie.

Le principal inconvénient des structures ventilées traditionnelles est la longue période de séchage sur pied à laquelle la récolte doit être soumise avant de pouvoir être chargée dans le crib. Les infestations sont donc beaucoup plus importantes au moment de la moisson et risquent de s'aggraver pendant l'entreposage.

En ce qui concerne la moisson, le séchage et le stockage du maïs, les systèmes améliorés devraient consister à:

10.2 Meilleur modèle de crib

Toute une série d'essais ont été effectués pour mesurer l'effet de la taille et de la forme des cribs sur la vitesse de séchage des épis de mais sans enveloppe, et sur l'ampleur des infestations et des dégâts, essais menés sous la direction du African Rural Storage Centre (ARSC) à Ibadan et Benin, au Nigéria. Les résultats suivants ont été obtenus:

10.3 Cribs améliorés

Le modèle recommandé est illustré par les figures 5.4 et 10.1 et la section 5.6.2.

Le fond de la cellule de stockage se trouve à 1 m du sol; il est soutenu par des supports verticaux de 1,5 m, indépendants des supports verticaux plus longs qui supportent le toit et les parois du crib. Des plaques antirats sont posées sur les supports verticaux au-dessous du niveau du plancher.

La largeur du crib est de 60() mm dans les zones très humides et peut aller jusqu'à 1500 mm quand l'air est plus sec.

Le tableau figurant à la page suivante donne la capacité du crib par mètre de longueur.

Le crib peut être aussi long qu'on le veut. On peut le construire avec n'importe quel matériau à condition qu'il supporte le poids des épis et permette de réserver un minimum de 10 pour cent d'ouvertures.

Largeur du crib (mm) (kg) Poids des épis à la moisson d'humidité Poids du grain à 14 pour cent
600 500 300
1 000 850 500
1 500 1275 750

Figure 10.1 Cribs ventilés traditionnels.

10.4 Coût de construction d'un crib

Un crib fait de poutres en bois de sciage, de grillage pour les parois, de tôle ondulée pour le toit et de plaques métalliques antirats, coûtera trois fois plus qu'un crib de même dimension fait de poteaux en teck, de lattes en bambou pour les parois, de tôle ondulée pour le toit et de plaques métalliques antirats. Un crib construit exclusivement avec des matériaux tirés de l'exploitation ou de la forêt coûtera à peu près la moitié d'un crib soutenu par des poteaux en teck et six fois moins cher qu'un crib ayant une armature en bois de sciage.

Ces coûts correspondent à la dépense d'investissement relative à l'entreposage d'une tonne de produit pendant un an, compte tenu de la durée de vie des cribs.

Les cribs construits avec des matériaux de l'exploitation exigent plus d'entretien que les constructions plus onéreuses et, même ainsi, ils ne durent pas plus de quatre campagnes. Les cribs à supports en teck peuvent servir pour huit à dix campagnes s'ils sont traités contre les termites.

La Rural Structures Unit du Ministère de l'agriculture du Kenya et le FAO/DANIDA African Rural Storage Centre d'Ibadan (Nigéria) ont publié des brochures décrivant le mode de construction et d'emploi d'un crib amélioré pour le mais.

11. Entreposage des plantes-racines et des tubercules

La récolte est une opération très importante. Si elle n'est pas conduite avec le maximum d'efficacité, les activités ultérieures de prévention des pertes risquent de n'être qu'une perte de temps. Si, par exemple, des plantes-racines ou des tubercules sont meurtris ou endommagés d'une façon ou d'une autre pendant la récolte, il ne vaut sans doute pas la peine d'envisager une manutention ou un emballage améliorés, car il faut s'attendre que les moisissures et les virus les envahissent rapidement et que le pourrissement soit déjà déclenché. Si les opérations de ramassage sont faites convenablement, il y a plus à espérer de l'emploi ultérieur de méthodes améliorées. La prévention des pertes de produits alimentaires dans ce domaine devrait consister en tout premier lieu à fournir des outils et du matériel de récolte appropriés et à montrer comment on s'en sert.

11.1 Ignames

Dans la plupart des régions d'Afrique de l'Ouest, par exemple, la principale récolte d'ignames se fait entre septembre et novembre. Une partie de cette production sera consommée ou vendue immédiatement, mais le gros de la récolte sera stocké pendant un maximum de six mois, pour être ensuite mangé ou planté.

Il existe plusieurs méthodes traditionnelles de stockage des ignames.

Dans ce genre d'installations traditionnelles, -les pertes sont très élevées; elles atteignent pour le moins 25 pour cent. Elles sont dues à un œrtain nombre de facteurs.

En règle générale, les pertes en cours d'entreposage sont moins importantes en savane qu'en forêt. Cela tient sans doute au fait que le nématode Scutellonema est moins répandu dans les environnements plus arides et que les ignames qui y poussent tendent à avoir une teneur plus élevée en matière sèche, ce qui semble avoir une incidence importante sur le stockage. D'autre part, les cultivars qui poussent en savane ont une période de dormance endogène plus longue et ne germent pas aussi rapidement pendant l'entreposage.

Il est connu que les problèmes de stockage sont l'un des principaux obstacles auxuels se heurte la production de l'igname; de nombreuses discussions ont été consacrées à l'amélioration du stockage de l'igname, mais n'ont apporté aucune idée nouvelle en œ qui conœrne les techniques intermédiaires. Il semble qu'il n'y ait aucune différence pratique entre les meilbures des méthodes de stockage traditionnelles utilisées actuellement par les agriculteurs et les technologies avancées employées à grande échelle, lesquelles ne seraient de toute façon pas applicables aujourd'hui dans de nombreuses régions rurales.

Pour réduire les pertes dans les installations d'entreposage traditionnelles, il faut tenir compte des facteurs suivants.

De récentes expériences ont montré que le traitement des tubercules d'ignames à des températures et des humidités relativement élevées pouvait renforcer leur résistance au stockage en cicatrisant les meurtrissures et en affermissant la peau du tubercule. Des températures de 30 à 40°C et une humidité relative de 70-90 pour cent pendant un à quatre jours réduisent efficacement les pertes. Ces conditions peuvent être obtenues par divers moyens; l'un des plus faciles consiste à couvrir les tubercules d'une bâche.

Le moment où l'on pratique le traitement est un facteur important. Il doit être fait immédiatement après la récolte de façon à fermer les blessures provoquées lors de l'arrachage et le transport jusqu'à la grange. Après le traitement, les ignames devront être manipulées avec le plus grand soin pour éviter de nouvelles blessures.

Le traitement est très profitable dans le cas de tubercules entreposés à basse température; il l'est moins lorsque les tubercules sont placés dans les granges traditionnelles ou dans des cribs. La raison en est que, dans les structures traditionnelles, les tubercules d'ignames guérissent au début de la période de stockage.

Deux innovations technologiques à grande échelle ont été étudiées. Elles ne conviennent pas au stockage sur l'exploitation, mais elles peuvent avoir une application future dans le cadre de la commercialisation des produits entreposés en vrac auprès des centres de collecte. Il s'agit de:

C'est là une plongée dans le futur, mais si l'on a mentionné ces méthodes c'est pour indiquer que la recherche sur l'entreposage de l'igname n'est pas négligée.


12. Traitement des céréales autres que le riz

La moisson et le battage des céréales sont des opérations tout aussi importantes que la récolte des plantes-racines et des tubercules. Si elles ne sont pas menées avec soin, les autres activités de prévention des pertes de produits alimentaires n'auront sans doute guère d'effet. Par exemple, il importe de ne pas briser l'enveloppe des grains pendant la moisson si l'on ne veut pas qu'ils soient plus rapidement attaqués et infestés par les insectes. La prévention des pertes de produits alimentaires passe par la fourniture du matériel de moisson et de battage approprié, et par la formation des utilisateurs.

Les principales opérations du traitement des céréales sont:

- le battage
- le tri
- l'usinage.

12.1 Battage

Le battage consiste à séparer les grains de la tige ou de la panicule sur laquelle ils sont fixés. Il peut s'effectuer dans le champ, 3 la ferme ou au village; il peut se faire à la main, avec l'aide d'animaux ou de machines. Les méthodes les plus simples consistent à battre les épis contre un mur ou sur le sol, à fouler aux pieds les particules sur une surface dure, à les faire piétiner par des animaux directement ou tractant une machine ou un traîneau.

Les batteuses peuvent être actionnées par l'énergie humaine ou animale ou, d'une manière plus sophistiquée, par un moteur à combustion interne. De nombreux modèles ont été expérimentés sur le terrain et jugés satisfaisants.

On égrène l'épi de mais après l'avoir débarrassé de sa spathe. Il existe pour cette opération une grande variété de systèmes manuels et mécaniques.

12.2 Tri

Le tri consiste à séparer les grains sains de la paille et des impuretés. Pour ce faire, on les passe au crible ou on les vanne.

Figure 12.1 Crible manuel.

12.2.1 Tamisage. Les impuretés sont séparées des grains du fait de leurs dimensions différentes. Les cribles manuels sont généralement utilisés seuls, tandis que la plus simple des machines aura deux cribles - l'un avec de grosses perforations (qui laisse passer les grains et retient les grosses impuretés), l'autre avec de petites perforations (qui retient les grains, mais laisse passer les petites impuretés).

12.2.2 Vannage. Avec ce procédé, les impuretés se séparent des grains du fait de leur densité différente. Cette opération utilise le déplacement d'air pour éliminer les fragments les plus légers. La méthode la plus simple consiste à déverser lentement le contenu d'un panier (grains et impuretés) sur une surface propre en le faisant traverser une légère brise naturelle. C'est un travail laborieux, mais encore très couramment pratiqué.

Les vans mécaniques utilisent le même principe, mais le déplacement d'air est créé par un ventilateur.

12.2.3 Tri sélectif. Pour enlever les impuretés de dimensions plus petites que les grains, on utilise un cylindre dont la paroi interne est alvéolée; lorsque le cylindre tourne, il arrive un moment où les grains sains sont éjectés et propulsés dans une auge, tandis que les impuretés restent bloquées dans les alvéoles du cylindre.

Il existe des appareils complexes (SORTEX) qui trient les grains selon leur couleur, mais il s'agit de machines coûteuses qui ne peuvent servir qu'à des usages spécifiques.

Le tri à la main donne de bons résultats, mais c'est un travail fastidieux, qui n'en est pas moins largement pratiqué par les agriculteurs.

Figure 12.2 Trieur à trois cribles.

Figure 12.3 Aspirateur simple

12.3 Mouture

La mouture est une opération qui consiste à réduire en farine l'endosperme des grains de céréales. Pour la plupart des céréales, y compris le maïs, on enlève tout d'abord l'enveloppe du grain (en le pilant à la main après trempage ou en se servant d'une décortiqueuse) avant de le moudre pour le transformer en farine. La mouture peut se faire en concassant le grain à la main dans un mortier, en le faisant passer entre deux pierres, ou en se servant d'un moulin à cylindres, à meules ou à marteaux mécanique.

12.3.1 Matériel de meunerie. Les machines les plus couramment employées sont, au niveau du village, le moulin à meules et le moulin à marteaux et, à l'échelle commerciale, le moulin à cylindres.

Le moulin à meules se compose de deux plateaux circulaires en fonte hérissés de barbures, montés sur le même axe horizontal de sorte que les meules se présentent verticalement. Une des meules est fixe, elle est attachée au bâti du moulin; l'autre est montée sur un arbre de transmission et sa distance par rapport à la meule fixe est réglable. L'opération consiste à introduire le grain par le centre de la meule fixe; il est moulu tandis qu'il passe entre les meules et qu'il est repoussé vers les bords. Là, la farine est recueillie et évacuée par l'orifice de sortie. Certains modèles ont trois meules: les deux meules extérieures sont fixes et celle du centre est rotative.

Figure 12.4 Machines à nettoyer le grain d deux cribles et aspirateur de tête.

Figure 12.5 Machine d nettoyer le grain d double aspiration.

Il faut bien veiller à ce que les meules n'entrent pas en contact. Quand le moulin tourne à vide, il faut les séparer au moyen de la manivelle. Une trémie d'alimentation est nécessaire pour assurer un écoulement régulier du grain vers le point d'entrée situé généralement au centre de la meule fixe. L'écartement des meules est réglé au moyen d'une manivelle qui fait avancer l'arbre de transmission et sa meule rotative dans ses coussinets lisses contre un ressort de compression.

L'arbre de transmission tourne à petite vitesse, habituellement à moins de 1500 tr/min; un moulin type pourvu d'un moteur de 5 ch et de meules de 270 mm de diamètre a un rendement d'environ 250 kg/heure. Le moulin à meules moud des céréales humides, qui bloqueraient un moulin à marteaux.

La finesse de la mouture dans un moulin à meules dépend des facteurs suivants:

- type de meules et de barbures utilisées
- vitesse de rotation
- état de la surface des meules
- pression exercée sur les meules

Figure 12.6 Vannage.

- vitesse d'alimentation
- type de grain
- teneur en eau du grain.

Les moulins à meules de petit diamètre peuvent être actionnés à la main.

L'idée du moulin à marteaux est venue de la pratique du pilonnage à la main. Le pilon a été remplacé par un marteau en bois plus lourd fixé à l'extrémité d'un levier monté sur pivot près de son centre. A l'arrêt, le marteau restait logé dans un creux (souvent taillé dans la pierre) où le grain était placé. Le pilonnage s'effectuait en soulevant le marteau (en pesant sur l'autre bout du levier) et en le laissant retomber de tout son poids.

Les moulins à marteaux modernes se composent d'une série de marteaux fixes ou mobiles, montés sur un arbre rotatif et entourés d'un écran métallique perforé. L'arbre tourne à une vitesse qui peut atteindre 6000 tr/min selon le type et le diamètre des marteaux; ceux-ci ont généralement une vitesse de 75-100 m/s, vitesse mesurée à l'extrémité des marteaux. Le grain entre par une fente de la tôle pour se trouver sur le passage des marteaux et le produit moulu s'évacue à travers l'écran.

Un ventilateur à pales souffle de l'air à travers l'écran et envoie la farine vers la trémie d'évacuation, où elle est séparée du courant d'air par un cyclone et/ou des sacs-filtres en textile tissé.

Le moulin à marteaux moderne est excellent pour moudre finement des céréales sèches. Le fait de tourner à vide ne l'abîme pas, et il peut être facilement actionné par des moteurs à combustion interne à grande vitesse ou par des moteurs électriques. Le rendement de cette machine est généralement d'environ 60 kg/h par kilowatt d'énergie consommée. Jusqu'à 25 pour cent de cette consommation reviennent au ventilateur qui non seulement évacue la farine, mais fournit aussi le courant d'air qui traverse l'écran.

La finesse de la mouture dépend presque entièrement de la dimension et de la forme des perforations des écrans qui entourent partiellement ou complètement les marteaux. La mouture résulte du frottement des grains qui sont sans cesse repoussés contre l'écran et les uns contre les autres et, surtout pour les matières friables, de l'impact des marteaux. Les marteaux sont généralement réversibles pour remédier à l'usure.

Le moulin à cylindres est un appareil plus sophistiqué que le moulin à meules ou le moulin à marteaux; il produit une farine fine de grande qualité, surtout de blé, mais aussi de mais et de sorgho.

Les cylindres de précision en acier moulé présentent une surface cannelée et tournent en sens opposés à des vitesses légèrement différentes. L'écartement entre les cylindres peut être réglé avec précision, de sorte que, lorsqu'on verse dans le moulin une simple couche de grains soign sement calibrés, c'est une petite quantité préétablie qui est prélevée de la surface du grain quand celui-ci descend verticalement entre les cylindres. Toute l'opération de mouture consiste à faire passer le grain successivement à travers une série de moulins de ce genre, parfois jusqu'à 10 fois. Le produit de chaque opération est criblé, ce qui permet de recueillir séparément les diverses parties du grain, comme le germe et le son. Ces moulins ont un rendement élevé et produisent en général la farine destinée à la population urbaine.


13. Usinage du riz à petite échelle

13.1 Introduction

La production de riz blanc à partir du paddy est une entreprise complexe qui comprend de nombreuses opérations. Les grandes rizeries utilisent un outillage et un matériel très spécialisés, chaque machine n'effectuant qu'une seule opération sur les 20 ou plus nécessaires au traitement du riz à des fins commerciales. Ces vastes usines doivent avoir une grosse capacité de production pour justifier leurs dépenses d'équipement.

Dans les petites rizeries, d'une capacité inférieure à 500 kg/h, une même machine effectuera plusieurs des opérations indispensables à la transformation du paddy en riz blanc, soit au cours d'un seul passage dans la machine, soit en plusieurs fois, la machine étant réglée différemment entre chaque passage. Deux ou plusieurs machines identiques pourront être utilisées successivement, chacune étant réglée pour accomplir une tâche donnée.

13.2 Etapes du traitement du riz

Les différentes étapes du traitement du riz sont représentées à la figure l 3. l, depuis la récolte des panicules jusqu'à la production d'un riz blanc, poli et calibré.

La teneur en eau du paddy moissonné dépasse généralement 20 pour cent du poids du produit humide. Il faut la ramener à 12-14 pour cent pour faciliter le décorticage et le traitement. Il est possible de décortiquer du paddy n'ayant pas une teneur en eau de cet ordre, mais le rendement des machines s'en ressentira. Les opérations normalement effectuées avant le décorticage sont les suivantes.

Etuvage. Cette opération consiste à faire tremper le paddy, à le passer à la vapeur, puis à le faire sécher. L'étuvage améliore la qualité nutritive du riz, facilite le décorticage et permet d'obtenir une plus grande proportion de riz blanc entier. Le paddy étuvé doit être séché avant d'être usiné. Le riz usiné à partir de paddy étuvé se conserve mieux que le riz qui n'a pas subi cette opération; il a une couleur, des propriétés culinaires et un goût différents. L'étuvage est une opération onéreuse, mais ses avantages compensent généralement son coût.

Figure 13.1 Etapes du traitement du riz

Séchage. Il existe deux méthodes principales. La méthode locale couramment employée est le séchage au soleil. Le paddy est répandu sur une surface propre (bâche, dalle de béton, ou même terre battue propre) et on le retourne régulièrement à la main. Un séchage trop rapide entraîne la formation de fissures très fines dans l'endosperme du grain de paddy (clivage du grain par exposition au soleil). Ces fissures s'élargissent et donnent un fort pourcentage de brisures lors des opérations suivantes. On peut empêcher la formation de ces fissures en faisant subir aux grains un séchage moins rapide, par exemple en augmentant l'épaisseur de la couche de paddy à sécher jusqu'à 150 mm et en la remuant fréquemment.

Si l'on emploie le séchage artificiel, il faut suivre les instructions du fabricant. Quand on doit sécher du paddy très humide, notamment après l'étuvage, on procède généralement en deux étapes séparées par un temps de repos au cours duquel on aère le paddy.

Nettoyage. Cette opération est importante car les petits graviers et les morceaux de métal risquent d'endommager la décortiqueuse, et les brins de paille peuvent gêner l'écoulement régulier du paddy vers la décortiqueuse. C'est pourquoi il convient d'enlever tous les corps étrangers avant de passer au décorticage. On emploie souvent un appareil combinant criblage et aspiration pour séparer les impuretés légères, et une épierreuse pour enlever les corps plus denses;

Figure 13.2 Coupe verticale d'un grain de paddy grossi.

Si le paddy doit être étuvé avant d'être décortiqué, il faut le laver et l'égoutter avant de le mettre à tremper afin d'éliminer toutes les impuretés solubles qui risqueraient de colorer les grains.

13.2.1 Décorticage. Cette opération consiste à enlever la balle (pellicule, son) du grain de paddy pour obtenir du riz brun. La balle de riz n'a pas de valeur nutritive, mais on peut s'en servir comme combustible, par exemple pour l'étuvage (figure 13.2). Les cendres donnent du carbone pur que l'on peut utiliser dans la fabrication de l'acier.

Il existe plusieurs sortes de machines à décortiquer le paddy. Les trois modèles les plus employés sont:

Ces machines sont représentées aux figures 13.3, 13.4 et 13.5.

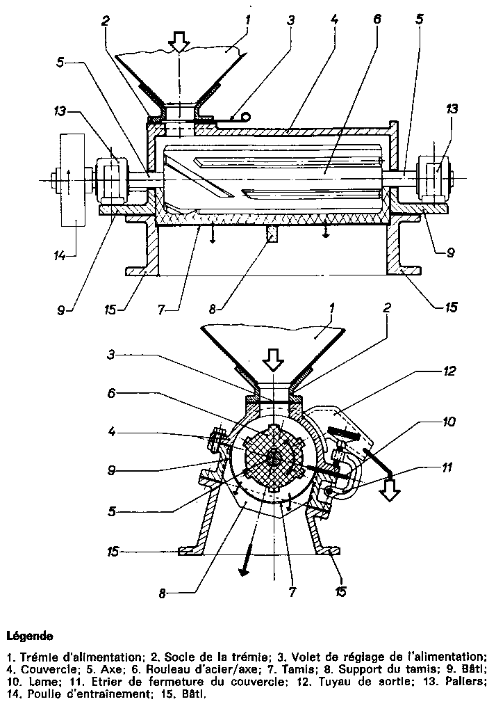
La décortiqueuse Englebert (Grant, Planter) est un ancien modèle toujours très utilisé au niveau du village; elle peut aussi servir au traitement du maïs. Elle se compose d'un axe en acier cannelé, travaillant à l'intérieur d'un tamis en acier perforé et comportant une lame d'acier en saillie dont la distance par rapport à l'arbre peut être modifiée. Pour donner de bons résultats, la décortiqueuse doit être pleine. Le degré de décorticage se règle en écartant plus DU moins la lame d'acier de l'arbre et en fixant la vitesse à laquelle le mélange de riz, de balles et de paddy non décortiqué sort de la trémie d'alimentation. Un volet réglable contrôle le débit.

Divers accessoires peuvent être ajoutés à la décortiqueuse Engleberg. Les plus courants sont une polisseuse à cylindres rotatifs munis de lanières de cuir qui pressent le riz contre une gaine perforée, et un simple aspirateur de balle.

Dans la décortiqueuse à cylindres de caoutchouc, le paddy passe en couche unique entre des cylindres gainés de caoutchouc qui tournent dans des sens opposés et à des vitesses différentes. En passant entre les cylindres, le paddy subit un cisaillement qui enlève la pellicule, opération bien moins brutale que celle de la décortiqueuse à axe en acier et qui produit moins de brisures.

La décortiqueuse à cylindres de caoutchouc est souvent munie d'un dispositif qui aspire la balle. Cet appareil sépare les pellicules et les grains de paddy immatures des grains de riz brun.

Les décortiqueuses à meules ne sont généralement pas utilisées dans les petites rizeries.

Figure 13.3 Décortiqueuse à rouleau en acier, type Englebert (utilisée pour decortiquer le paddy et blanchir le riz).

Figure 13.4 Décortiqueuse d cylindres de caoutchouc (utilisée pour décortiquer le paddy).

Figure 13.5 Décortiqueuse Englebert avec polisseuse (utilisée pour décortiquer et polir le paddy, blanchir le riz brun et polir le riz blanc).

Figure 13.6 Cylindre trieur à alvéoles (utilisé pour trier et nettoyer le paddy, trier le riz décortiqué et calibrer le riz).

13.2.2 Opérations consécutives au décorticage. Les principales opérations à effectuer après le décorticage sont le blanchiment, le polissage et le calibrage. Dans les usines qui travaillent à grande échelle, ces opérations se font en plusieurs étapes et font intervenir une succession de machines spécialisées. Dans les petites rizeries, certaines opérations (comme le calibrage) sont parfois omises, ou ne sont pas absolument nécessaires (le moulin à rouleau en acier enlève aussi le son), ou peuvent être accomplies par une seconde décortiqueuse, ajustée en conséquence.

Le blanchiment consiste à enlever le son des grains de paddy. C'est une opération distincte qui suit le décorticage. Les pellicules adhèrent fortement à l'endosperme et il faut les enlever par frottement contre une surface abrasive et contre les autres grains. La décortiqueuse du type Englebert peut enlever la balle et le son en une seule opération.

Le polissage est la dernière et la plus douce opération de traitement du paddy; il consiste à débarrasser le riz blanc des particules de son et de la poussière et à lisser sa surface pour améliorer son aspect.

Le blanchiment et le polissage sont effectués conjointement par le moulin à rouleau en acier accompagné d'une polisseuse.

Il est nécessaire de trier le riz poli pour séparer les grains entiers des grains brisés lorsque le riz blanc est destiné à la vente ou doit être entreposé au-delà de quelques jours. Les grains brisés se détériorent plus rapidement que les grains entiers, et ces derniers se vendent généralement à un prix plus élevé.

Le calibrage se fait à l'aide de machines qui trient les grains en fonction de leur taille (tamis ou trieur à alvéoles) ou de leur densité (aspiration) ou combinent les deux moyens.


Table des matières - Précédente - Suivante

CD3WD Project Donate