Back to Home Page of CD3WD Project or Back to list of CD3WD Publications

6.3 Contenido de humedad y humedad relativa

Indice - Precedente - Siguiente

El contenido de humedad de los granos de cereales expuestos al aire ambiental varía constantemente como consecuencia de la variación de la humedad relativa del aire. Cuanto mayor sea la h.r., mayor será el contenido de humedad del grano. El cambio se realiza con relativa lentitud, pero con suficiente tiempo se obtiene un nuevo valor de humedad relativa y se alcanza un contenido de humedad próximo al valor de equilibrio.

Figura 6.5: Movimiento del aqua

Esta característica de equilibrio (equilibrio del contenido de humedad referido al grano y equilibrio de la humedad relativa referida al aire que rodea el grano) es muy útil, porque puede utilizarse en la práctica para ajustar el contenido de humedad del grano durante el secado y el almacenamiento.

Se han medido los contenidos de humedad en equilibrio en una gran variedad de granos. Algunos de ellos se indican en el Cuadro 5. Estos valores se han determinado exponiendo los granos a atmósferas de diferentes humedades relativas y midiendo el contenido de humedad del grano después de varias semanas de exposición. Evidentemente, hay muchos otros factores que intervienen en la determinación del valor de equilibrio del grano, pero los valores tabulados constituyen una guía de extrema utilidad.

 

CUADRO 5. Contenidos de humedad de equilibrio de diversas semillas

Semilla Humedad relativa del aire (%)
  40 50 60 70 75 80 90
Trigo 10,7 12,0 13,7 15,6 16,6 17,6 23,0
Maíz 11,0 12,0 13,0 15,0 15,5 16,0 20,0
Centeno 10,0 11,6 13,2 14,8 16,1 17,3 24,6
Guisantes 9,4 11,1 13,1 15,5 17,2 19,5 27,7
Frijoles 9,1 11,1 13,1 15,8 18,0 20,4 28,0
Hierba 8,9 10,3 11,6 13,9 15,4 17,4 23,3
Cebollas 8,3 9,6 10,8 12,6 14,1 16,2 23,5

Fuente: K A. McLean. ASAE YEAR BOOK.

 

6.4 Secado

Durante el secado se transfiere agua del interior del grano a la superficie del mismo, transformándolo en vapor de agua y dispersando luego este vapor de agua en la atmósfera.

Para el secado es necesario disponer de tres elementos:

 

6.4.1 Contenido de humedad. Es el exceso de agua contenida en el grano que, si permanece en él, provocará su deterioro. El exceso de agua que hay que eliminar al secar el grano, haciéndolo pasar de un contenido de humedad a otro, puede deducirse del Cuadro 4. Dicha eliminación no constituye una pérdida de alimento.

 

6.4.2 Fuentes de energía. Para evaporar el agua, es decir, para transformar agua liquida en vapor de agua, se utiliza energía. Para evaporar el agua del grano se necesita el doble de energía que para evaporar agua hirviendo en un puchero. El agua se evapora a cualquier temperatura por debajo del punto de ebullición, pero la energía necesaria para convertir el agua líquida en vapor de agua es aproximadamente la misma que para hacerla hervir. Las principales fuentes de energía son la energía solar, utilizada bien directamente, como en el secado al sol, o bien indirectamente como en el secado en hórreo, y la energía derivada de material combustible, como la madera, el carbón, el gas o el petróleo. En todos los casos, salvo en el secado directamente al sol, la energía se transfiere al aire (haciendo aumentar su temperatura) y a través de él al grano, donde evapora el agua y se enfria al mismo tiempo.

Figura 6.6: Variación tipica de la temperatura y la humedad relativa (ibadàn, Nigeria)

Durante el día, la temperatura del aire ambiental aumenta como consecuencia directa del calentamiento del sol. El aire almacena la energía solar que puede utilizarse luego para secar el grano hacia la mitad del día. En la Sección 6.2 se ha mostrado el efecto del aumento de la temperatura del aire con la humedad relativa. Así, durante las horas del medio día, aumenta la temperatura del aire, pero se reduce también la humedad relativa. Este aire tiene por tanto una capacidad mayor de secado por el aumento de temperatura, y por tanto dispone de más energía para la evaporación. Además, al reducirse su humedad relativa, puede absorber más vapor de agua. En la Figura 6.6 se muestra el efecto combinado del aumento de la temperatura y la reducción de la humedad, y puede verse también su interacción.

 

6.4.3 Receptor de vapor. Hay que alejar el agua evaporada de las proximidades del grano; de lo contrario, aumenta la humedad relativa, como ya se ha indicado, y cesa la evaporación, aunque el grano esté húmedo y se disponga de energía. En la práctica, el aire que circunda al grano se sustituye con nuevo aire por difusión (como en los hórreos), o artificialmente, es decir, extrayéndolo mediante un ventilador (como en un horno o en un secador con corriente constante de aire) o mediante secador de convección (como en los secadores del tipo Brook).

La difusión del aire en condiciones de quietud es un proceso muy lento. Es una de las razones por las que en ambientes en que el secado resulta difícil se recomienda un hórreo muy estrecho.

 

6.5 Tipos de secadores

Los diseños de secadores y sus métodos de construcción se prestan a una amplia variedad de posibles combinaciones para satisfacer los requisitos examinados en la Sección 6.4. Un determinado secador será útil sólo si se demuestra técnicamente eficiente a bajo costo. A nivel de granja y de aldea significa que se debe hacer el mayor uso posible de materiales y de expertos disponibles en el lugar. Puede que un secador sea excelente desde el punto de vista técnico, pero si es demasiado costoso no será más útil que uno de bajo costo que no se ajuste perfectamente a los principios fundamentales del secado.

Hay muchos tipos de secadores y muchos modelos de cada tipo. Es importante recordar, al seleccionar un modelo, que debe:

El secado puede constituir una operación separada del almacenamiento, o pueden combinarse ambas operaciones.

Figura 6.7: Secado como operación separada del almacenamiento

 

6.5.1 El secado como operación separada del almacenamiento. Este tipo de secado constituye una operación totalmente aparte de las operaciones de almacenamiento que puedan realizarse después. Es importante, porque el grano se mezcla después que ha sido secado. Los granos demasiado secos absorberán la humedad de los granos demasiado húmedos. Una vez mezclados después del secado, se obtendrá el contenido medio de humedad que conviene. En las operaciones de almacenamiento-secado, no tiene lugar el mezclado, porque el producto se halla ya almacenado. Después del secado no debería haber diferencias de contenido de humedad; los granos no deben estar ni demasiado secos ni insuficientemente secos.

Figura 6.8: Secado y almacenamiento combinados

En el secado al sol, los únicos requisitos para exponer el grano al aire libre son disponer de una superficie nivelada y de suficiente mano de obra para extender y revolver el material, y para recogerlo en caso de lluvia o cuando el grano ya está seco. La superficie de secado mas barata es una playa de tierra apisonada, que sin embargo tiene la desventaja de contaminar el grano y de transferirle la humedad del suelo. Si se trata de pequeñas cantidades, con una lona alquitranada o una tela de plástico se evitan estas dificultades, y cuando amenaza lluvia o durante la noche pueden doblarse los extremos para cubrir el grano. El secado más rápido se obtiene extendiendo sobre una tela de plástico negra una capa de grano de 40 mm y revolviéndolo frecuentemente. Las exigencias de mano de obra constituyen una impar tante limitación.

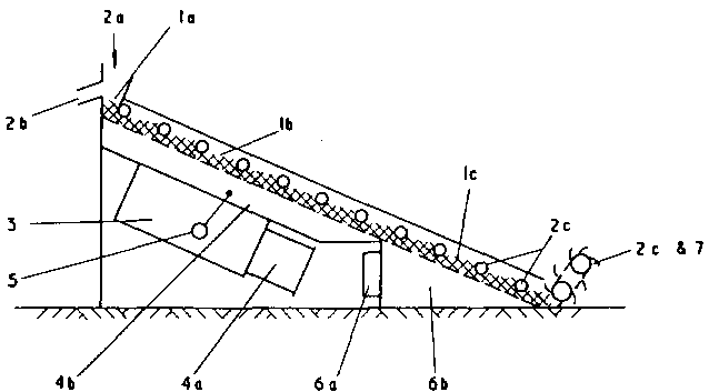
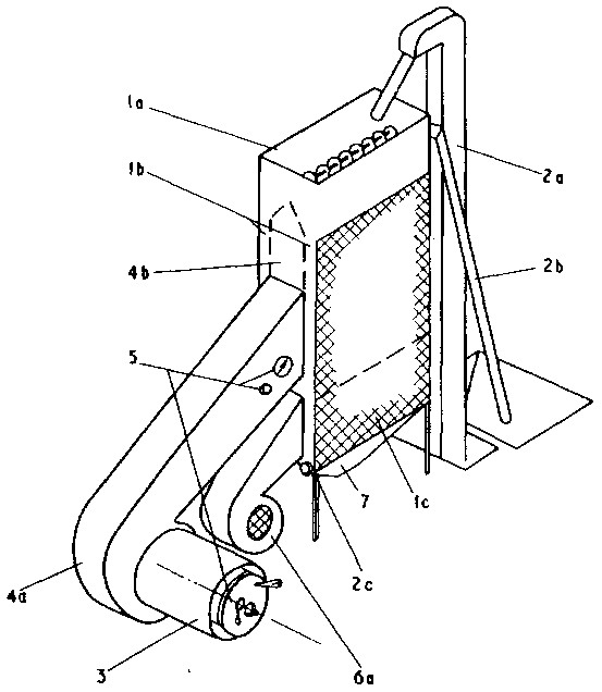
Figura 6.9: Secador de convección natural, vista general

Otro método es el secador de convección con calor añadido. El secador Brook (Figura 6.9) es un ejemplo de secador de convección. Se extiende el producto en una capa delgada sobre una base perforada. La base forma el techo de una cámara impelente que contiene una fuente de calor. Conviene que los lados de la base per forada se alarguen lo más posible hacia arriba, pero teniendo en cuenta que para cargar y descargar el producto hay que superarlos, a no ser que se trate de lados desmontables (con lo cual aumenta el costo). El aire entra por la cámara impelente a través de los orificios que hay en sus extremos, se calienta y pasa a través de la base perforada y luego por entre el producto que ha de secarse, por convección natural.

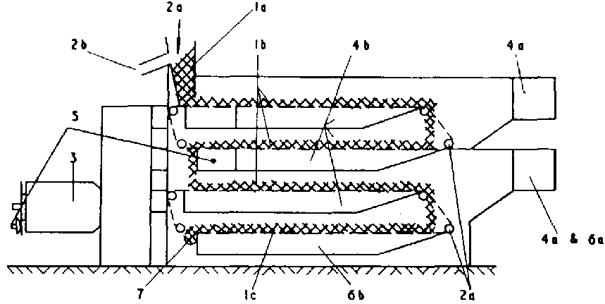
Otro tipo es el horno secador con ventilación forzada. En su forma más simple. consta de una base perforada colocada encima de una cámara impelente. Un venti Iador hace pasar el aire a través del producto extendido sobre la base perforada Normalmente se calienta el aire antes de hacerlo pasar por el producto. Después de haberlo secado, se saca el producto, se deja enfriar y se almacena. Con este sis tema, los productos se secan rápidamente, pero los costos de construcción son mu, elevados. Se requieren también componentes que no se encuentran fácilmente al alcance del agricultor. Presupone, además, la compra de combustible para acciona' el ventilador y gastos de mantenimiento del equipo. Hay muchos ejemplos de este tipo de secador. En la Figura 6.10 puede verse una ilustración de un secador típico

En el secador de aire forzada y flujo continuo de grano, se hace pasar un flujo continuo de grano por el secador, y al mismo tiempo una corriente de aire caliente que lo atraviese. El grano puede moverse por gravedad entre dos paredes perforadas, o por una base inclinada perforada. En algunos secadores el grano pasa sobre una superficie horizontal perforada empujado por paletas que se mueven lentamente. Hay que controlar con mucho cuidado la temperatura del aire para evitar que se dañe al grano. Para este tipo de secador se necesitan hornos especialmente diseñados y ventiladores costosos. Son aptos sólo para operaciones en gran escala y grandes cantidades de grano. En las Figuras 6.11, 6.12 y 6.13 se muestran ejemplos de secadores de flujo continuo de grano.

Figura 6.10: Horno secador con ventilación forzada

Figura 6.11: Secador en cascada

Figura 6.12: Secador en cascada de varias hileras

Figura 6.13: Secador de doble flujo continuo

Leyenda de las Figuras 6.11, 6.12 y 6.13

1. Compartimientos de grano

  1. deposito
  2. compartimiento(s) de secado
  3. compartimiento(s) de enfriamiento

2. Mecanismos de producción y regulación del flujo de grano

  1. alimentador
  2. rebalse
  3. mecanismo de regulación

3. Calentador del aire

4.

  1. Ventilador(es) de aire caliente
  2. Càmaras de aire caliente

5. Mecanismos de control (e indicación) de las temperaturas del aire caliente

6

  1. Ventilador de enfriamiento del aire
  2. Càmaras de aire enfriado

7. Descarga del grano

 

6.5.2 Secado y almacenamiento combinados. En este grupo, se utiliza la misma estructura para el almacenamiento y el secado. Dicha estructura está diseñada de forma que el producto pueda secarse durante la parte inicial del periodo de almacenamiento. En la mayoría de los secadores de producto almacenado, no se saca el producto de la estructura hasta que se necesite para consumirlo. En algunos, sin embargo, la estructura se utiliza para el secado por lotes.

Uno de estos secadores es el de producto almacenado con ventilación natura/; el ejemplo más común de este grupo es el hórreo, que se examina detalladamente en la Sección 10.

El grupo de los secadores de producto almacenado con ventilación forzada comprende sistemas de arcones ventilados y secado de producto almacenado en el suelo. Ambos se utilizan para grandes cantidades de grano a granel. Se necesita considerable pericia y experiencia para hacer funcionar con éxito estos sistemas. En las Figuras 6.14 y 6.15 se muestran ejemplos de este tipo de secador.

La Figura 6.11 muestra un secador de grano de lecho apersianado y flujo continuo, que funciona según el principio de la cascada.

Se trata de un secador de flujo por gravedad ayudado por la corriente descendente del lecho apersianado y con espesor controlado mediante una serie de presas cilíndricas. El indice de extracción de humedad se controla mediante un accionador de velocidad variable en el elevador de salida, que levanta el grano homogéneamente de toda la profundidad del lecho en la base de la sección de enfriamiento. Esta máquina sirve para todo tipo de granos y la mayor parte de los materiales granulares fluidos. Al ser una máquina casi totalmente autolimpiadora, tiene una gran aceptación entre los que se ocupan de semillas. Este secador es particularmente idóneo Para secar guisantes. frijoles. café y arroz.

Figura 6.14: Almacen de secado a traves del suelo

La mayoría de los modelos constan de un solo cuerpo, lo que hace que la instalación sea extremadamente sencilla y rápida. Los modelos normales tienen una capacidad de secado de 2,5 a 12,5 toneladas por hora. Existen también secadores en cascada más pequeños y móviles. Se fabrican también, a petición, secadores en cascada de varias hileras (véase Fig. 6.12) cuando las condiciones del lugar lo aconsejan.

La Figura 6.13 muestra un secador de grano de lecho apersianado y flujo continuo funcionando con el principio del doble flujo.

El flujo de grano en estas máquinas circula movido suavemente por un transportador de cadena de rodillos de velocidad variable y de gran capacidad. El secador de doble flujo es apto para la mayoría de los granos y productos granulares, incluidos granos de muy elevado contenido de humedad, como el arroz y el maíz. A mitad del recorrido, se revuelve y mezcla completamente el material según cae del lecho superior al inferior. Se puede aprovechar el fuerte efecto limpiador de la corriente de aire que pasa a través de la cortina de grano en este punto.

Los puntos de entrada y salida en este modelo se encuentran al mismo lado, lo que simplifica la instalación. El resto del secador generalmente se coloca fuera del edificio para economizar espacio, y asegurar que el aire húmedo y el polvo se dispersan en la atmósfera. Los soportes del techo están diseñados de forma que puedan cubrirse con seis paneles de amianto. Se dispone de modelos estándar con una capacidad de 4 a 85 toneladas por hora. Pueden suministrarse secadores de doble flujo móviles con una capacidad de producción de 21 toneladas por hora. Pueden proporcionarse también, a petición, secadores de flujos múltiples.

Figura 6.15: Zona de secado en un barril de almacenamiento con ventilación inferior

Figura 6.16: Barril de almacenamiento radialmente ventilado con cilindro central y paredas perforadas


Indice - Precedente - Siguiente

CD3WD Project Donate