Back to Home Page of CD3WD Project or Back to list of CD3WD Publications

Instalaciones y material de los centros de almacenamiento a granel

Indice - Precedente - Siguiente

Habida cuenta de las importantes cantidades de producto con que han de operar, los centros de almacenamiento a granel deben estar equipados no sólo con silos de capacidad adecuada sino también con instalaciones que faciliten una ejecución rápida y sin tropiezos de las operaciones de recepción, tratamiento, almacenaje, control y salida de los granos.

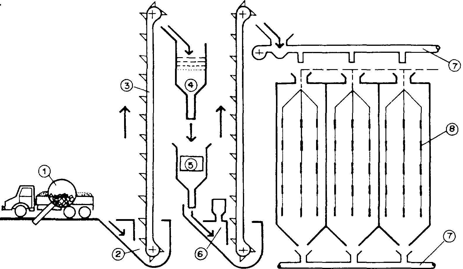
La siguiente ilustración presenta el esquema de funcionamiento de un centro de almacenamiento a granel.

Esquema de un centro de almacenamiento a granel: 1 Control; 2 Tolva de entrada; 3 Transportador vertical; 4 Limpieza; 5 Verificación del peso; 6 Desinsectación; 7 Transportador horizontal; 8 Control de temperatura.

Las instalaciones se seleccionan en función de diversos factores, a saber:

Para el buen funcionamiento de los centros de almacenamiento, sobre todo en períodos de aprovisionamiento, es necesario prestar una atención muy particular al cálculo de las dimensiones de las instalaciones y a la selección del material y equipo utilizados para la recepción y la manipulación de los granos.

Tolva de recepción

La tolva de recepción es una fosa hecha de hormigón y recubierta con un enrejado en la que se vierte el grano a su llegada al centro de almacenamiento.

Se sitúa a nivel del suelo, en un lugar protegido contra la lluvia, y de tal manera que los vehículos de transporte puedan maniobrar fácilmente para llegar a ella.

La capacidad de la tolva de recepción (es decir su volumen interno) debe determinarse teniendo en cuenta la capacidad de almacenamiento de las instalaciones.

A título indicativo se presentan en el siguiente cuadro los volúmenes de tolva recomendados en función de la capacidad de almacenamiento de las instalaciones.

CAPACIDAD DE ALMACENAMIENTO VOLUMEN DE LA TOLVA
1000 q 8 m3 = 60 q
1500 q 10 m3 = 75 q
2000 q 13 m3 = 100 q
3000q 16 m3 = 120 q

La forma que se escoja para la tolva dependerá del sistema adoptado para recoger los granos. En efecto, en caso de recogida mediante tornillo transportador, la forma de la tolva puede ser una pirámide regular invertida (de base cuadrada o rectangular).

Si la recogida, en cambio, se hace mediante elevador de cangilones, la forma de la tolva seguirá siendo de pirámide invertida, pero de base más bien rectangular y con el lado próximo al elevador en posición vertical.

Para que los granos fluyan bien, es importante establecer las dimensiones exactas de la tolva: longitud y anchura de la base, y profundidad.

 

TOLVA DE BASE CUADRADA PARA TORNlLLO TRANSPORTADOR
SILO

TOLVA

Capacidad de almacenamiento (q)

Volumen (m3)

Longitud de la base (m)

Anchura de la base (m)

Profundidad (m)

1000

8

3,30

3,30

2,25

3000

16

4,00

4,00

3,00

 

TOLVA DE BASE RECTANGULAR PARA TORNILLO TRANSPORTADOR

SILO

TOLVA

Capacidad de almacenamiento (q)

Volumen (m3)

Longitud de la base (m)

Anchura de la base (m)

Profundidad (m)

1000

8

2,60

3,60

2,50

3000

16

3,30

4,60

3,20

 

TOLVA DE BASE RECTANGULAR PARA ELEVADOR DE CANGILONES
SILO TOLVA

Capacidad de almacenamiento (q)

Volumen (m3)

Longitud de la base (m)

Anchura de la base (m)

Profundidad (m)

1000

8

4,00

2,00

3,00

1500

10

4,50

2,25

3,15

2000

13

4,80

2,40

3,40

3000

16

5,20

2,60

3,60

En los cuadros anteriores se presentan algunos ejemplos de dimensiones de tolvas de recepción de forma piramidal.

Además de las tolvas de formas piramidal o cónica, existen también tolvas poco profundas en forma de "V".

En este caso, la recogida de los granos debe realizarse disponiendo transportadores horizontales, de cadena o de cinta, bajo la arista inferior de la tolva.

Material para la manipulación de los granos

Por manipulación de los granos se entiende el desplazamiento de éstos a partir del momento de su recepción en el almacén hasta su salida.

En la sección anterior hemos citado ya algunos de los sistemas de vaciado de las tolvas, que requieren el empleo de aparatos especiales para la manipulación de los granos. Veamos ahora más detalladamente cuáles son tales aparatos y sus características principales.

El material para la manipulación de los granos puede dividirse en cuatro categorías de aparatos de motor: los tornillos transportadores, los elevadores, los transportadores y los dispositivos neumáticos.

Los tornillos transportadores

Se trata de tornillos helicoidales (tornillos de Arquímedes) a los que un motor imprime un movimiento rotatorio.

Según sus dimensiones y su modo de empleo (en posición horizontal, vertical u oblicua), van montados en un cárter acanalado o cilíndrico.

Para el transporte horizontal se suelen emplear "tornillos en canal" que trabajan como máximo con el 45 % de su sección, mientras que para el transporte oblicuo o vertical se sustituye el canal por un tubo de chapa, de manera que la rosca del tornillo trabaja en toda su sección; se trata entonces de "tornillos entubados. "

A diámetro igual, los tornillos entubados utilizados horizontalmente pueden alcanzar rendimientos dos veces mayores que los de los tornillos en canal.

A titulo indicativo, he aquí los rendimientos medios de estos dos tipos de tornillos:

Añádase que, a rendimiento igual, la velocidad de rotación de los tornillos entubados es el doble de la de los tornillos en canal.

Los tornillos entubados son móviles y operan con cualquier ángulo, mientras que los tornillos en canal suelen ser fijos, ocupan más espacio y no pueden superar pendientes de más del 25%.

No obstante, hay que señalar que cuando trabaja oblicuamente a 45°, el rendimiento del tornillo entubado se reduce en 1/3; a 90°, la reducción es de 2/3.

La energía consumida por los tornillos entubados es superior en un 15 a 20% a la consumida por los tornillos en canal.

Con un rendimiento igual, el tornillo entubado requiere inversiones inferiores en un 20 a un 25 % a las que se precisan para la instalación de un tornillo en canal. Además, su precio en el mercado es relativamente modesto para menos de 30 t/h y de 30 metros de longitud.

El tornillo entubado remueve intensamente los granos, y los riesgos de quebrarlos o partirlos son más importantes que con el tornillo en canal.

Añádase que estos dos tipos de aparatos presentan el inconveniente de ser difíciles de limpiar.

Entre los demás modelos de máquinas-tornillos, citemos también el tornillo barredor, utilizado para el vaciado completo de las cámaras redondas de fondo plano (rendimiento hasta 20 t/h); el tornillo de recogida Integra para el vaciado de cámaras de 8 a 15 m de diámetro (rendimiento hasta 50 t/h); y por último el tornillo "zapador" de tubo flexible, para recoger granos de lugares difícilmente accesibles.

Los elevadores

Los elevadores de cangilones se utilizan para el desplazamiento vertical (10 grados de inclinación como máximo) y se componen de una correa sin fin provista de cangilones y tensada verticalmente entre dos poleas.

Los elevadores de cangilones ofrecen la ventaja de un montaje fácil, permiten alcanzar una gran altura (70 m), consumen poco, ocupan poco espacio, y su precio es moderado. Se trata no obstante de un material fijo, y los costos de instalación son relativamente elevados (excavación de la fosa).

Existen elevadores más o menos rápidos, cuya utilidad es función del peso específico y de la naturaleza de los granos; a título indicativo, precisemos que su velocidad media es de 2,5 a 3 m/s, lo que permite un trabajo continuo, mientras que su velocidad máxima es de 6 a 8 m/s.

Mencionemos finalmente la existencia de elevadores particulares como el elevador de balancines, utilizado para productos frágiles (por ejemplo maní) y el elevador de palettes o tarimas de carga, aparato ligero y económico, que mueve cantidades pequeñas.

Elevador de cangilones. 1 Tolva, 2 Motor; 3 Cangilones; 4 Cinta.

 

Los transportadores de cinta y de cadena

El transportador de cinta se compone de una banda sustentadora de caucho resistente que circula sobre rodillos y es movida por un juego de cilindros, una tolva de alimentación y eventualmente un carrito de descarga a la salida.

El transportador de cinta se utiliza para trasegar numerosos productos, ya que la gran variedad de sus accesorios permite realizar prácticamente toda clase de transporte, sea en sentido horizontal u oblicuo, de productos frágiles o abrasivos, calientes o húmedos, a granel o en sacos.

Este tipo de aparato tiene también la ventaja de poder alcanzar rendimientos muy elevados (600 t/h) un consumo relativamente pequeño de energía, sobre todo para el transporte horizontal.

Por otra parte, a rendimiento y longitud iguales, el transportador de cinta es aproximadamente un 10% más barato que el tornillo helicoidal.

Su uso es muy frecuente en las estaciones de tratamiento de semillas, ya que permite una evacuación total y rápida.

El inconveniente de estos dispositivos es que ocupan mucho espacio (sobre todo cuando disponen de carrito de descarga); además deben llevar una capota o cubierta para operar al aire libre; y su utilización produce mucho polvo.

Además de este modelo clásico, existen transportadores de cinta particulares, con bordillos, o de cintas entubadas.

El transportador de cadena se compone de una cadena sin fin de eslabones planos con barrotes, que circula en el interior de un cofre de sección rectangular, arrastrando los productos a una velocidad que oscila, en funcionamiento horizontal, entre 0,20 y 1 m/s.

Este tipo de transportador puede inclinarse en cualquier sentido y no es muy voluminoso, ocupando por ejemplo menos espacio, a rendimiento igual, que un tornillo helicoidal o un transportador de cinta.

Su consumo de energía es asimismo muy inferior al de un tornillo del mismo rendimiento, pero es 2 a 3 veces más elevado que el de un transportador de cinta o el de un elevador de cangilones.

Sus rendimientos varían entre 20 y 200 t/h, con poca rotura de granos. Su mantenimiento es muy fácil, siendo su ventaja principal el hecho de estar totalmente cerrado, es decir que es hermético y no desprende polvo, y puede utilizarse en el exterior.

Por otra parte, el transportador puede ser alimentado o vaciado en diferentes puntos de su recorrido. Sin embargo, su precio es relativamente elevado y es muy ruidoso en las secciones que funcionan sin carga.

Existen también algunas variantes de transportadores de cadena (de costados abiertos, de cables).

Los dispositivos neumáticos

La manipulación neumática se realiza arrastrando los granos mediante una corriente de aire que circula en tubos, a una velocidad suficiente para que no puedan detenerse.

Este tipo de transporte obliga a realizar un estudio técnico para cada instalación, teniendo en cuenta el tamaño de los granos, sus propiedades abrasivas, su densidad y compresibilidad, su grado de humedad y su temperatura, y finalmente su fragilidad.

Las ventajas de este tipo de dispositivos son las siguientes: flexibilidad, que permite transportar los granos por toda clase de trayectos; rendimiento importante (máximo de 300 t/h); volumen reducido de las instalaciones.

En cambio, necesitan una gran potencia energética (5 a 6 voces más que los transportadores mecánicos) y se desgastan rápidamente pese a tener un precio elevado.

 

Gestión del almacenaje a granel

Algunas de las reglas indicadas para el almacenaje en sacos son aplicables, eventualmente con algunas modificaciones, al almacenaje a granel.

En este caso, el aspecto más especifico en lo tocante a la gestión se refiere a la ventilación.

Cámaras o silos sin sistema de ventilación

El almacenaje de granos a granel en silos sin sistema de ventilación es relativamente sencillo y económico, pero pone gravemente en peligro la buena conservación de los productos.

En efecto, en tales silos es imposible combatir de manera eficaz los fenómenos de transferencia de humedad y por consiguiente de condensación, que pueden manifestarse durante el almacenaje y provocar la rehumectación de los granos con el mayor desarrollo consiguiente de insectos y microorganismos.

Este tipo de almacenaje debe practicarse pues únicamente en las zonas de baja humedad relativa del aire y en los casos en que las cámaras estén protegidas contra las variaciones de la temperatura exterior (por ejemplo, cámaras de hormigón).

A falta de sistema de ventilación, es indispensable que, en el momento de llenar los silos, los granos estén bien secos y limpios y hayan sido tratados con insecticidas de gran persistencia de acción.

Es también necesario equipar las cámaras con sondas termométricas adecuadas, para poder controlar la temperatura de los granos.

Durante el tiempo de almacenaje, la menor variación anormal de temperatura debe interpretarse como signo de un posible proceso de degradación en marcha. Si se confirma la existencia de tal fenómeno, el único remedio posible para evitar la pérdida total de la masa de granos consiste en realizar un trasvase a otro silo y una limpieza a fondo, junto con un tratamiento contra insectos.

El trasvase ha de tener como destino otro silo vacio y limpio, lo que permitirá ventilar y homogeneizar los granos.

El trasvase es una operación que entraña costos adicionales y eleva los riesgos de roturas en el mantenimiento posterior de los granos.

Esta operación es costosa, y no es recomendable como medida rutinaria; no obstante, el trasvase a otro silo es necesario cuando el estado de conservación de los productos parece dudoso.

Cámaras o silos equipados con sistemas de ventilación

Por ventilación o aireación se entiende la circulación forzada de aire ambiente (más raramente enfriado artificialmente) a través de una masa de granos.

En el interior de los silos, esta circulación de aire se consigue mediante ventiladores impulsores o extractores, conducciones y tubos para la repartición del aire.

Los sistemas de ventilación en los silos de almacenaje a granel garantizan unas mejores condiciones de conservación de los productos.

En efecto, la adopción y el empleo de sistemas de ventilación, además de refrescar y mantener los granos a una temperatura suficientemente baja, permiten también, en algunos casos, obtener un secado lento y progresivo de los productos almacenados.

En una cámara ventilada, los granos en un primer tiempo y en un plazo relativamente corto se enfrían hasta alcanzar la temperatura del aire, o incluso una temperatura ligeramente inferior. En un segundo tiempo, y por efecto de una ventilación prolongada, los granos pueden igualmente secarse, a condición de que el aire esté suficientemente seco.

Los intercambios de temperatura y humedad vinculados a los fenómenos aquí descritos se rigen evidentemente por las leyes del equilibrio entre el aire y los granos.

Cuando se inicia una ventilación, el primer equilibrio, es decir entre la temperatura de los granos y la del aire, se establece rápidamente con volúmenes de aire relativamente modestos (de 800 a 1 500 m3 de aire por m3 de granos).

El segundo en cambio, es decir el equilibrio entre el contenido de humedad de los granos y la humedad relativa del aire, requiere un tiempo más prolongado y mayores cantidades de aire (50 000 a 80 000 m3 de aire por m3 de granos).

Una masa de granos sometida a ventilación se encuentra dividida en tres zonas:

En la zona refrescada, los granos de las capas inferiores, más cercanos a la entrada del aire, se enfrían más rápida y completamente.

Inmediatamente por encima, una zona llamada "de transición" se extiende gradualmente en el sentido de la corriente de aire. En esta zona los granos están en proceso de enfriamiento.

Por último, en la parte superior de la cámara, se encuentra la zona aún no refrescada, en la que los granos están todavía calientes, e incluso ligeramente recalentados.

Esquema de un silo ventilado; 1 Aire secante; 2 Granos enfriados; 3 Granos en proceso de enfriamiento; 4 Granos calientes.

No puede considerarse que una ventilación ha terminado mientras la zona refrescada no haya alcanzado la parte más alta de la cámara.

No hay que detenerla por consiguiente antes de que las capas superiores hayan alcanzado la misma temperatura que la de las inferiores, o sea una temperatura cercana a la del aire de ventilación.

La duración de la ventilación debe ser tal que no pueda provocar un calentamiento excesivo y prolongado de las capas superiores de granos.

Para conseguir que se enfríe una masa de granos, es necesario que la temperatura del aire de ventilación sea inferior en 5°C a 7°C a la de los granos.

Diferencias superiores a 8°C pueden provocar fenómenos de condensación con el riesgo de rehumectación de los granos. Diferencias inferiores a 3°C pueden ser insuficientes para garantizar el enfriamiento deseado.

Es evidente que, para la buena marcha de la ventilación, es preciso controlar con instrumentos termométricos adecuados la temperatura del aire y en particular la de los granos.

Para que se produzca un efecto de secado, es preciso que la humedad relativa del aire de ventilación sea inferior a la de equilibrio del grano.

Se recomienda, sobre todo en el caso de granos húmedos, empezar a ventilar desde que se empiezan a llenar las cámaras; por lo demás, éstas no deben llenarse de una sola vez, sino por etapas sucesivas, en la medida de lo posible.

Además, para evitar fenómenos de condensación, es necesario dejar abiertas las salidas de aire húmedo y hacer funcionar los extractores previstos para evacuar ese aire.

En caso de productos almacenados húmedos, la ventilación debe continuar hasta alcanzar la estabilidad de los granos.

Una vez estabilizados los granos, puede realizarse la ventilación a intervalos más o menos regulares, para garantizar la buena conservación de los productos.

Es necesario proceder a controles frecuentes y regulares de la humedad y de la temperatura de los granos. Toda elevación brusca de la temperatura debe ser interpretada como señal de fenómenos de degradación en curso.

Por consiguiente debe considerarse necesaria una ventilación con un aire tan seco y frío como sea posible.

En conclusión, las múltiples aplicaciones de la ventilación y la complejidad de los procesos asociados a ella requieren la intervención de un personal especializado, tanto en la fase de estudio como en la de gestión de las instalaciones.


Indice - Precedente - Siguiente

CD3WD Project Donate