Home-immediately access 800+ free online publications. Download CD3WD (680 Megabytes) and distribute it to the 3rd World. CD3WD is a 3rd World Development private-sector initiative, mastered by Software Developer Alex Weir and hosted by GNUveau_Networks (From globally distributed organizations, to supercomputers, to a small home server, if it's Linux, we know it.)

Indice - Precedente - Siguiente


Ejemplos de materiales de cubierta


Techo de bobinas de tierra
Techo de bloques de tierra - cemento
Techos de tejas de arcilla
Conoide de yeso y fibras de sisal
Techo prefabricado de canales de concreto
Techos de ferrocemento
Sabanas de fibrocemento corrugadas
Tejas de micro concreto TMC (mortero vibrado)
Techos de paja de tallo rígido durables
Estructura de bambú para techos
Estructura de techo de madera rolliza
Tejas de bambú y madera
Cubierta de planchas metálicas corrugadas


Techo de bobinas de tierra

CARACTERÍSTICAS:

Propiedades especiales Techo pesado, buen aislamiento térmico
Aspectos económicos Bajo costo
Estabilidad Buena
Capacitación requerida Experiencia en construcciones de barro
Equipamiento requerido Equipo de construcción usual
Resistencia sísmica Baja
Resistencia a huracanes Buena
Resistencia a la lluvia Depende de la capa de acabado
Resistencia a los insectos Baja
Idoneidad climática Calido, seco o clima andino
Grado de experiencia Normal

BREVE DESCRIPCIÓN:

• Este sistema constructivo es apropiado para techos inclinados y planos.

• Su densidad y capacidad para retener el calor, hace que sea apropiado para regiones montañosas o con clima cálido seco donde los días son calurosos y las noches frías.

• La pieza principal es una bobina, hecha enrollando un material fibroso vegetal, largo (generalmente paja) y un suelo arcilloso húmedo alrededor de una varilla de madera (3 - 5 cm de diámetro, 80 - 100 cm de largo).

• Las bobinas se colocan sobre vigas de madera, cuando están todavía humedas y se presionan las unas contra las otras y rellenan los espacios entre las bobinas con la mezcla de fibra y tierra.

• Después del secado, las grietas son llenadas con una pasta de tierra, y encima se aplica una capa de 2 cm de tierra estabilizado con cal y fibra finamente cortada.

• Finalmente el techo es cubierto con papel asfaltico y una capa de arena o grava fina.

• Teniendo en cuenta la gran proporción de fibras vegetales y madera, el riesgo de ser afectado por termitas es grande.

Más información: Bibl. 02.19, 23.24.

Preparación de las bobinas de tierra construcción del techo
(Dibujos: Vorhauer, Bibl. 23.24)

Figura 1

Figura 2

Figura 3

Figura 4

Figura 5

 

Techo de bloques de tierra - cemento

CARACTERÍSTICAS:

Propiedades especiales Simple sistema de prefabricado de auto-ayuda
Aspectos económicos Costo bajo a mediano
Estabilidad Buena
Capacitación requerida Conocimientos medios de construcción
Equipamiento requerido Prensa para bloques CINVA, encofrado para vigas
Resistencia sísmica Baja
Resistencia a huracanes Buena
Resistencia a la lluvia Depende del acabado de la superficie
Resistencia a los insectos Buena
Idoneidad climática Clima cálido y seco, climas montañosos
Grado de experiencia Experimental, numerosas viviendas en Tunez

BREVE DESCRIPCIÓN:

• Este método de construcción para techos fue desarrollado por la "Swedish Association for Development of Low-Cost Housing, Lund University", Suecia, para un proyecto piloto en Rohia, Túnez, basado en "construcción de auto-ayuda planificada".

• Aparte del aspecto de auto-ayuda, el objetivo fue el de construir un techo resistente (sobre el cual se pueda transitar), usando materiales locales diferentes a la madera, que es escasa y costosa.

• El principal material escogido fue el suelo del lugar, llamado Torba, suelo de una granulometria fina, con un contenido de 60 % de CaO (cal). Este se usó para hacer bloques de tierra-cemento con una prensa para bloques CINVA-Ram.

• Los techos ligeramente inclinados fueron construidos con vigas de concreto prefabricadas, colocadas con mucha exactitud y en forma paralela, a una distancia suficiente para soportar dos bloques de tierra-cemento apoyados el uno al otro (por lo que los bloques fueron diseñados una de las caras menores biseladas). El par de bloques se unieron con mortero de cal y cemento. Una vez completado, el techo fue cubierto con una lechada de cemento, encima una capa de 5 cm de tierra-cemento compactado, y finalmente una lechada de cal.

Más información: SADEL, Arkitektur 1, P.O. Box 118, 221 00 Lund, Sweden; Bibl. 00.01

Construcción del Techo Torba Estabilizado con Cemento
(Fotos: Bibl. 00.01)

Izquierda: Prefabricado de elementos de tierra-cemento y de concreto

A - Derecha: Construcción del techo

B - Derecha: Construcción del techo

C - Derecha: Construcción del techo

D - Derecha: Construcción del techo

 

Techos de tejas de arcilla

CARACTERÍSTICAS:

Propiedades especiales Durable, cobertura impermeable para techos inclinados
Aspectos económicos Costos bajos a medianos
Estabilidad Buena
Capacitación requerida Mano de obra especializada
Equipamiento requerido Unidad de producción para tejas de arcilla
Resistencia sísmica Baja
Resistencia a huracanes Mediana a buena
Resistencia a la lluvia Muy buena
Resistencia a los insectos Muy buena
Idoneidad climática Todos los climas, pero usual en zonas humedas
Grado de experiencia Tradicional

BREVE DESCRIPCIÓN:

• Tejas de arcilla cocida solo se pueden usar en techos inclinados, de 20° a 50° de inclinación de las vigas, y la forma de las tejas difiere segun el rango de la inclinación. Cabe recordar que el angulo de las vigas siempre es mayor que el de las tejas (ver dibujos en la pagina siguiente).

• La producción de tejas de arcilla es un oficio artesanal tradicional en muchas regiones, sin embargo es muy difícil lograr una calidad y forma uniforme. Las plantas mecanizadas producen tejos de buena calidad, pero a mayor costo Una solución intermedia apropiada se logra usando prensas móviles con moldes intercambiables, para diferentes formas de tejas (ver ANEXO: Maquinas y Equipos).

• El mayor problema de las tejas de arcilla es la inmensa pérdida (en la India aprox. 35%) por agrietamiento y rótura, que depende del tipo de arcilla y el sistema de producción. Un buen remedio se ha encontrado en el uso de cloruro de amonio como aditivo (entre 0.1 y el 1.0 %), de acuerdo al tipo de tierra (Bibl. 00.41).

• Las tejas de barro son pesadas y por lo tanto requieren de una estructura portante resistente y con listones sin mucha separación. Por eso, el diseño de tejas que requieren mayor separación de los listones (ej. tejas Mangalore) son más livianas y económicas. Pero generalmente el reducido peso del techo y la poca unión entre tejas, lo hacen susceptible a la destrucción sísmica.

• Las tejas de buena calidad y con suficiente traslape son impermeables. El color rojo sin embargo tiende a absorber la radiación solar, por lo que podría ser necesario un cielo raso para mejorar el confort interior.

Relación entre el angulo de la viga y el angulo de la teja

Relación entre el angulo de la viga y el angulo de la teja

Elementos coberturas de arcilla cocida

Tejas de caballete

Tejas Lima hoya

Tejes de ventilación

Algunas tejas de barro típicas y su angulo de viga mínimo
(reducido en 5°, si la teja es colocada sobre una membrana impermeable)

Teja Pantile 25°

Teja Romana 25°

Tejas Marsellesas Mangalore 25°

Teja Española o China 30°

Tejas planas 30°

 

Conoide de yeso y fibras de sisal

CARACTERÍSTICAS:

Propiedades especiales Material y diseño innovativo
Aspectos económicos Costos bajos a medianos
Estabilidad Buena
Capacitación requerida Preparación especial
Equipamiento requerido Encofrado sencillo de madera
Resistencia sísmica Buena
Resistencia a huracanes Buena, si tiene protección contra la lluvia
Resistencia a la lluvia Baja
Resistencia a los insectos Buena
Idoneidad climática Climas secos
Grado de experiencia Experimental

BREVE DESCRIPCIÓN:

• Esta es una unidad experimental desarrollada por el Prof. Roberto Mattone y Gloria Pasero en el Politécnico de Turín, Italia.

• La forma del elemento conoide le permite ser usado como techo o como componente de un muro.

• El proyecto se basaba en lograr un componente resistente y versátil, en base a yeso y sisal (que abundan en ciertas regiones), usando equipo y encofrado simple.

• Los ensayos de laboratorio mostraron buena resistencia en relación a su peso, ya que las fibras tienen una gran resistencia a la tracción y se adhiere bien con el yeso. Además la resistencia al fuego y a ataques biológicos es buena.

• La mayor desventaja es la solubilidad del yeso en agua, lo que requiere una impermeabilización total de la superficie.

Más información: Prof. Roberto Mattone, Facoltà di Architettura, Politecnico di Torino, Viale Mattioli 39, Torino 10125, Italia; Bibl. 23.15.

Preparando el encofrado: el marco de madera es llenado con trozos de ladrillo y piedras, primero piezas grandes, luego más pequeñas y al final arena fina, que es moldeada segun la forma deseada y cubierta con una lámina de politeno. Sobre ésta base se coloca el mortero de yeso y sisal, para lograr el conoide.

Figura 1

Figura 2

Figura 3

Ensayo de resistencia del conoide terminado

Posibles formas de ensamblaje de los módulos

 

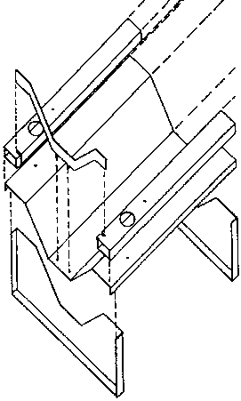
Techo prefabricado de canales de concreto

CARACTERÍSTICAS:

Propiedades especiales Alto rendimiento, encofrado y espacio mínimo
Aspectos económicos Costos medianos a altos
Estabilidad Muy buena
Capacitación requerida Mano de obra promedio
Equipamiento requerido Encofrados metálicos especiales
Resistencia sísmica Buena
Resistencia a huracanes Buena
Resistencia a la lluvia Buena
Resistencia a los insectos Muy buena
Idoneidad climática Todos los climas
Grado de experiencia Experimental

BREVE DESCRIPCIÓN:

• Este sistema, desarrollado en el "National Building Research Institute", Pretoria, Sud-Africa, se basa en un elemento de concreto armado perfilado en forma de canal, que se fabrica fácilmente y con gran rapidez, requeriendo muy poco espacio de trabajo.

• Las dimensiones del corte transversal están indicadas en la siguiente pagina; la longitud usada en el proyecto es de 4.27 m, resultando un peso total de 107 kg. (o 25 kg/m). La armadura se compone de 7 barras de acero de 4 mm en el sentido de su longitud y de estribos de barras de acero de 3.3 mm cada 30 cm. Los elementos son autoportantes, tienen una luz de 3.50 m, con un voladizo a cada lado de los muros.

• El ensamblaje del techo se lleva a cabo manualmente. Después de colocar los canales uno al lado del otro, se cierran las aberturas entre el muro y los canales con un bloque prefabricado, sellando las juntas. Se coloca una lamina de politeno sobre los canales, que a su vez es cubierta por una capa de grava suelta de 20 mm de espesor, que mejora el aislamiento térmico y protege la lamina. La grava es contenida por bloques prefabricados de concreto cavernoso, colocados en seco en los extremos de los canales. El agua de lluvia que se acumula en los canales puede drenar a través de los bloques y ser recolectada. Una pendiente del 5% es recomendable.

Más información: Jorge L. Arrigone, Senior Chief Research Officer, National Building Research Institute, P.O. Box 395, Pretoria 0001, Sud Africa; Bibl. 23.02.

Prefabricación de las unidades con forma de canal

El molde de acero consiste de una base perfilada en forma de canal, con soportes fijados en el piso de concreto, así como de partes móviles como son las tapas laterales y de los extremos. El interior del molde es cubierto con una lamina de politeno que es presionada sobre la superficie otro molde de acero con forma de canal. Las tapas laterales y de los extremos son fijadas con pernos, y una mezcla seca de mortero de 1:3 (cemento: arena gruesa), de 33 mm de espesor en las partes horizontales y 22 mm en las partes inclinadas se coloca y se distribuye uniformemente. La malla de refuerzo de barras de acero de 4 mm se coloca sobre el mortero y se presiona hacia abajo y la superficie se aplana golpeando los lados del molde. Aprox. una hora más tarde, una nueva lamina de politeno se coloca sobre el elemento, y se presiona sobre la superficie con el molde de acero, las tapas laterales y de los extremos se fijan con pernos y se repite el mismo procedimiento. 10 unidades pueden ser fabricadas una sobre la otra, terminadas cada una en 20 minutos. En promedio, seis modulos de cobertura se producen por molde y día de trabajo de 8 horas. Las unidades se curan en húmedo durante dos semanas y en seco dos semanas más.

A - Prefabricación de las unidades con forma de canal

B - Prefabricación de las unidades con forma de canal

C - Prefabricación de las unidades con forma de canal

D - Prefabricación de las unidades con forma de canal

 

Techos de ferrocemento

CARACTERÍSTICAS:

Propiedades especiales Mayor relación resistencia: peso que concreto armado
Aspectos económicos Costo alto
Estabilidad Muy buena
Capacitación requerida Adiestramiento especial
Equipamiento requerido Encofrados, herramientas de carpintería
Resistencia sísmica Muy buena
Resistencia a huracanes Muy buena
Resistencia a la lluvia Muy buena
Resistencia a los insectos Muy buena
Idoneidad climática Todos los climas
Grado de experiencia Experimental

BREVE DESCRIPCIÓN:

• Los elementos de ferrocemento son muy delgados (15 a 25 mm), pero tienen un mayor porcentaje de armadura que el concreto armado, logrando una mejor relación entre resistencia a la tracción y el peso. Se obtiene más resistencia y rigidez con piezas curvas o plegadas.

• Los techos de ferrocemento pueden ser ejecutados in-situ o prefabricados, siendo los primeros adecuados para formas libres, y los segundos para construcciones modulares repetitivas.

• Dependiendo del diseño, los techos de ferrocemento pueden cubrir grandes áreas sin necesidad de estructuras intermedias que lo soporten, bajando así los costos y obteniendo áreas cubiertas sin obstrucciones. Si la superficie de ferrocemento es ejecutada en forma correcta (recubrimiento total de mallas de alambre, acabado denso y liso, grietas selladas) no es necesario proteger la superficie, disminuyendo aún más los costos. Sin embargo es recomendable aplicar una capa reflectante sobre la superficie exterior, para reducir la absorción de la radiación solar.

Más información: Bibl. 10.02,10.03,10.04, 23.01, 23.13, 23.22.

Techo de Ferrocemento con marco

• Éste techo esta diseñado para actuar como viga de arriostre.

• Se colocan, un marco de madera (6 x 6 cm) en la parte superior exterior de los muros, así como dos marcos en forma de trípode sobre el piso. La superficie definida por estos marcos son paraboloides hiperbólicos, compuestos por líneas rectas, lo que facilita la colocación de la armadura.

• La malla de alambre (2 o 3 capas) se estira sobre el marco y se clava o se grapa al mismo. El marco se necesita solamente para soportar la malla durante la construcción. Una vez colocado y fraguado el mortero, la estructura es autoportante.

• Las barras de refuerzo se colocan sobre los muros y a lo largo de los pliegues.

• El mortero se coloca con un equipo de trabajadores desde la parte superior que obligan al mortero pasar a través de las mallas, mientras que otro equipo de trabajadores recuperan el mortero que cae y lo usan para rematar la parte inferior.

• Éste techo curvo, desarrollado por P. Ambacher, Francia, es muy aerodinámico, y por lo tanto muy adecuado para zonas afectadas por huracanes. (Bibl. 23.01)

A - Techo de Ferrocemento con marco

B - Techo de Ferrocemento con marco

Marco de madera colocado sobre muro

Techo terminado

Elementos acanalados prefabricados (Bibl. 23.22)

• Estos elementos se basa en el principio, de que las losas plegadas tienen mucho más resistencia que las losas del mismo espesor sin pliegues.

• El modulo mostrado en esta pagina, fue desarrollado en el "Structural Engineering Research Centren", Roorkee, y puede ser ejecutado en un molde fijo de ladrillo y concreto o en un encofrado de madera portátil, y puede tener la forma de un canal o de un canal invertido.

• La armadura se prepara en el encofrado.

• Antes de colocar el mortero, se aplica con una brocha una capa delgada de lechada de cemento sobre la armadura. Luego se coloca el mortero, asegurando que penetre debajo de la armadura. Esto se hace en 2 o 3 capas. Con un vibrador especialmente diseñado dos operarios compactan el mortero.

• El elemento terminado se cura en humedo durante una semana, antes de sacarlo del encofrado. La cara inferior es acabada con una capa de lechada de cemento. El elemento debe ser curado por lo menos una semana más, antes de ser manipulado e instalado.

A - Elementos acanalados prefabricados

B - Elementos acanalados prefabricados

C - Elementos acanalados prefabricados

Elementos en forma de bóveda prefabricado (Bibl. 23.13)

• La alternativa a los elementos acanalados, mostrados en la pagina anterior, es un elemento en forma de bóveda, ejecutado básicamente de la misma manera.

• El módulo mostrado aquí fue desarrollado en el "Regional Research Laboratory", Jorhat, India.

• Éste módulo mide 60 cm de ancho, 250 cm de largo y 2 cm de espesor. La armadura de cada modulo consiste de 5 barras de 6 mm Ø en dirección longitudinal y 10 barras del mismo diámetro en dirección transversal, con dos capas de malla de alambre de gallinero hexagonal. El mortero esta compuesto de 1 parte de cemento: 2 partes de arena (por peso).

• Los ensayos del comportamiento a largo plazo dieron resultados muy satisfactorios.

A - Extracción del elemento terminado del encofrado, ensamblaje de dos elementos

B - Extracción del elemento terminado del encofrado, ensamblaje de dos elementos

Ensayo de los elementos en forma de bóveda en un cobertizo para bicicletas

 

Sabanas de fibrocemento corrugadas

CARACTERÍSTICAS:

Propiedades especiales Sistema de bajo costo local
Aspectos económicos Material de cobertura duradero económico
Estabilidad Buena, si es adecuadamente producido e instalado
Capacitación requerida Adiestramiento especial y control de calidad constante
Equipamiento requerido Moldes simples, hechos localmente y transportables
Resistencia sísmica Sin experiencia
Resistencia a huracanes Buena, si están bien instaladas y aseguradas
Resistencia a la lluvia Buena
Resistencia a los insectos Buena
Idoneidad climática Todos los climas
Grado de experiencia Tecnología desarrollada, requiere de más experiencia

BREVE DESCRIPCIÓN:

Sabanas corrugadas de FC

• fueron los primeros módulos de FC para techos desarrollados, con el objetivo de substituir sabanas gci y ac;

• requiere equipamiento simple, fabricado localmente y un equipo de trabajo perfectamente coordinado, de mínimo dos operarios;

• consume aprox. la misma cantidad de cemento como sabanas de asbesto-cemento (15 kg. por m²), tomando en cuenta su mayor espesor y método de producción manual, pero no requiere de electricidad;

• son difícil de manipular y de curar en recipientes de agua, por su gran tamaño;

• son difícil de transportar e instalar sin roturas, y no toleran construcciones de soporte inexactas;

• resisten fuertes vientos porque son pesadas y tienen poca superficie de empalme.

Mayormente es más fácil de producir e instalar tejes de FC que sabanas de FC y por lo tanto son la solución más adecuada

Más información: FAS c/o SKAT, Vambüelstr. 14, CH-9000 St. Gallen, Suiza; Bibl. 11.03, 11.05, 11.07, 11.08, 11.12, 11.15.

Producción de Sabanas de FC

Materiales y equipamiento

Cemento: cemento portland común (9.8 kg. por sabana corrugada de 10 mm de espesor y de 100 x 78 cm) con una relación cemento: arena de 1:1; puzolana (ej. ceniza de cascara de arroz) puede ser añadida, para mejorar la durabilidad de la fibra y reducir la cantidad de cemento, pero alarga el tiempo de la fragua, o sea mayor numero de moldes y mayor área de trabajo.

Arena: (10 kg. por sabana) de preferencia con partículas angulares y entre 0.06 y 2 mm, libres de limo y arcilla.

Fibra: (0.2 kg. por sabana) preferentemente natural, como sisal, yute, coco, o fibra de plátano, pero también son aplicables fibras sintéticas, ej. polypropileno o fibra de vidrio. Fibras largas pueden ser usadas, pero requieren de un procedimiento de producción más difícil y el producto es menos resistente. Fibras cortas, cortadas de 12 a 25 mm de largo, son muy fácil de procesar, dan cohesión al mortero fresco, y también ayudan a prever rajaduras durante el proceso de secado.

Agua: de preferencia agua potable, en cantidad suficiente para hacer el mortero trabajable.

Aditivos: como impermeabilizantes pueden agregarse, si la arena no tiene una granulación uniforme, y colorantes, si el color gris del cemento no es deseado.

Plancha maestra: tablero horizontal con un marco, que define el tamaño de la sabana de FC y sujeta la lamina separadora de politeno.

Moldes corrugados de fraguado: sabanas de gci o ac, suficientes para dos días de producción. Todas las sabanas deben proceder del mismo vaciado y molde maestro, ya que sabanas de diferentes vaciados o de diferentes fabricantes, difieren ligeramente en cuanto a la exactitud de la corrugación, y ésta es vital para un buen montaje y uso sin problemas.

Otros equipos: herramientas habituales.

A - Producción de Sabanas de FC

B - Producción de Sabanas de FC

C - Producción de Sabanas de FC

Moldeado y curado

• El mortero bien mezclado en la proporción correcta es repartido sobre la lamina de politeno, fijada sobre la plancha maestra; el mortero es apisonado, igualado a un grosor uniforme de 10 mm y allanado con la plancha.

• Se retira el marco, recortando las esquinas de la capa de mortero e inclinando la plancha maestra, hasta que la lamina de politeno con el fibrocemento fresco encima pueda resbalar gradualmente sobre el molde corrugado.

• La sabana de FC fresca con su molde son apiladas para el curado primario de 24 horas, siendo después lo suficientemente rígidos para ser sacadas del molde y colocadas verticalmente, para seguir siendo curadas (humedeciendo regularmente), o completamente sumergidas en agua durante dos semanas.

• El desencofrado debe concluirse antes de las 48 horas, ya que las sabanas tienden a contraerse y se rajarían, por la resistencia del molde.

Producción de Tejas cumbreras de FC

Materiales y equipo: como para sábanas, pero forma de molde diferente, plancha maestra con bisagras, permitiendo ser plegada y ser usada como molde de fraguado, sujetada por una plantilla.

Moldeado y curado: como para sabanas.

Figura 1

Figura 2

Figura 3

Figura 4

Figura 5

Figura 6

Colocación de Sabanas Corrugadas de FC

Las sabanas corrugadas de FC son colocadas sobre una estructura de madera, similar a las sabanas de gci y ac. Sabanas de FC son menos flexibles y pueden ser dañadas, si las cargas no son distribuidas uniformemente. Al construir la estructura de soporte, se debe prever que los bordes superiores estén adecuadamente alineados. Si se usan clavos o tornillos, los respectivos huecos (diámetro ligeramente mayor) deben ser perforados de antemano. Como alternativa, se pueden insertar lazos de alambre durante el moldeado, evitando las perforaciones. Esquinas biseladas son esenciales para la impermeabilidad del techo.

Fijación con un tornillo en forma de J

Esquina biselada

Fijación con lazos de alambre

Lazos de alambre

Junta que cubre el mortero de FC


Indice - Precedente - Siguiente