CD3WD Project

Back to Home Page of CD3WD Project or Back to list of CD3WD Publications


Home - English - French - German - Italian - Portuguese - Spanish
             VITA TECHNICAL BULLETIN   51035-BK    
 
                CENTRIFUGAL HONEY EXTRACTOR
 
This Bulletin explains how to build a wooden honey extractor.
Honey hives are placed in two containers.  These are spun with
a pulley mechanism.  Thus, the honey is extracted by centrifugal
force.
 
This extractor was developed by VITA affiliates in Nicaragua.
It has since then been built and used successfully in several
other countries.
 
VITA makes this material available to generate ideas among as
wide an audience as possible.  Readers should write VITA about
their experience with the design.  Please send test results,
suggestions, and requests for further information to:
 
              Technical Bulletins
                       VITA
           1600 Wilson Boulevard, Suite 500
             Arlington, Virginia 22209 USA
        Tel:  703/276-1800 * Fax:  703/243-1865
              Internet:   pr-info@vita.org
 
                                           Revised August 1981
                                            ISBN 0-86619-114-3
 
           VOLUNTEERS IN TECHNICAL ASSISTANCE
 
             VITA TECHNICAL BULLETINS
 
This Technical Bulletin is one of a series of
publications that offer do-it-yourself technology
information on a wide variety of subjects.
 
Technical Bulletins are idea generators, intended
not so much to provide a definitive answer as to
guide the user's thinking and planning.  Premises
are sound and testing results are provided, if
available.
 
Users of the information are asked to send us their
evaluations and comments based on their experiences.
Results are incorporated into subsequent
editions, thus providing additional guidelines for
adaptation and use in a greater variety of conditions.
 
             CENTRIFUGAL HONEY EXTRACTOR
 
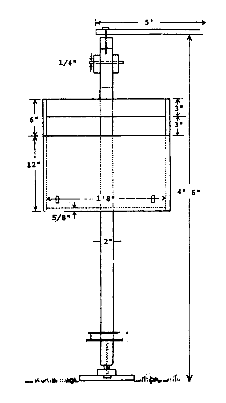
VITA volunteers in Nicaragua have built a simple, wooden,
honey extractor.  These are two wooden arms that hang down from
a horizontal brace.  A box is attached to the end of each arm.
Each box holds honey hives.
 
The horizontal brace is attached to a vertical pole.   There is
a wooden pulley around the bottom of this pole.  A rope around
the pulley spins the pole.  This motion also spins the horizontal
brace, wooden arms, and honey boxes.  Centrifugal force
makes the two boxes rise and move outward.  This forces the
honey to the bottom of the boxes, from where it is later
scooped out.
 
<FIGURE 1>

47p01.gif (600x600)


 
This is a view of an extractor in stationary position.
 
<FIGURE 2>

47p02a.gif (600x600)


 
View of the revolving extractor while in operation.
 
<FIGURE 3>

47p02b.gif (600x600)


 
The simple joints for the horizontal crosspiece and the wooden
arm.
 
<FIGURE 4>

47p03a.gif (600x600)


 
The rope is attached to a piece of rubber inner tube that is
tied to a wooden stake.  This creates the necessary tension.
 
<FIGURE 5>

47p03b.gif (600x600)


 
The rope is then wrapped around a wooden pulley.  This pulley
design comes from VITA's Village Technology Handbook.
 
<FIGURE 6>

47p04a.gif (600x600)


 
Pull the rope a short distance and then let it recoil.  The
extractor will revolve in one direction.
 
<FIGURE 7>

47p04b.gif (600x600)


 
Lift the lids from the two honey boxes.
<FIGURE 8>

47p05a.gif (600x600)


 
<FIGURE 9>

47p06a.gif (600x600)


 
<FIGURE 10>

47p07.gif (600x600)


 
POINTS TO REMEMBER
 
1.   The top portion of the extractor must be very secure to
    prevent swaying.   Attach guy wires, as shown in the diagram.
    Also brace the vertical piece with a board attached
    to a shed or a tree, as shown.
 
2.   Attach the rope to a piece of tire inner tube.  Tie the
    tube piece securely to a wooden spike that has been driven
    deep into the ground.   This arrangement makes the rope
    spring back during operation.
 
3.   The photos show some modifications that differ from the
    drawing.  The "arms" attached to the horizontal crosspiece
    are longer than shown in the drawing.   You should experiment
    with varying lengths to see which works best.
 
4.   Sudden stops as the rotation slows will cause the boxes to
    jerk and slam into the vertical pole.   Place rubber mountings
    around the main pole at points where the boxes may
    touch the pole.
 
VITA also publishes A Beekeeping Guide, by VITA Volunteer
Harlan H.D. Attfield, which includes the following information:
 
*   The Bee Colony
*   What Bees Need to Live
*   Beehives
 
   *  The Langstroth Hive
   *  The Newton Hive
   *  Simple Hives
 
*   Some Simple Equipment Needed for Beekeeping
*   How to Move Bees into New Hives
*   Inspecting the Colony
*   Helping A Colony Make More Honey
*   What to do Before the Honeyflow
*   What to do During the Honeyflow
*   Harvesting the Crops (Honey and Beeswax)
*   Appendix:  Species and Varieties of Bees
 
For a free catalog that lists this and other VITA publications,
write:
 
              VITA Publications Service
              1815 North Lynn Street, Suite 200
              Arlington, Virginia 22209-8438 USA
 
========================================
========================================
 

CD3WD Project Donate