VITA BOLETIM 51025-BK TÉCNICO

CD3WD Project

Back to Home Page of CD3WD Project or Back to list of CD3WD Publications


Home - English - French - German - Italian - Portuguese - Spanish
VITA                    BOLETIM TÉCNICO               51025-BK
 
 
                        Chain Ligação Cerca Fabricação Máquina
 
Este boletim contém procedimentos passo por passo para partes fabrique e
assembléia de uma máquina mão-operada por fazer esgrima de ligação de cadeia.   O
máquina aqui é projetada para produzir esgrima até 244 cm (96 ") mas pode ser
produza esgrima de qualquer height.  O tamanho das aberturas dentro o
cercar é controlado pelo tamanho da " dobrar-cabeça ". A máquina descreveu
aqui requer #12 ou #14 arame, mas a máquina poderia ser modificada
leve arame maior.
 
A cadeia ligação cerca fabricação máquina foi projetada por VITA com respeito a pedidos
da América do Sul e Africa.  Em Botsuana, se tornou a máquina
a base para uma cerca pequena negócio industrial que serve como uma fonte
de emprego e produz esgrima que está localmente mais disponível
que é a esgrima importada que era o único material previamente disponível.
 
Por favor envie prova resulta, comentários, sugestões e pedidos para mais adiante
informação para:
 
                                     VITA
                       1600 Bulevar de Wilson, Apartamento 500,
                         Arlington, Virgínia 22209 E.U.A.
                     TEL: 703/276-1800. Fac-símile: 703/243-1865
                          INTERNET: pr-info@vita.org
 
 
                                                         ISBN 0-86619-105-4
 
                  VOLUNTEERS EM AJUDA TÉCNICA
 
 
                           VITA BOLETINS TÉCNICOS
 
                 Este Boletim Técnico é um de uma série de
Publicações de                  que fazer-isto-lhe oferecem tecnologia
Informação de                  sobre uma variedade larga de assuntos.
 
                 Boletins Técnicos são geradores de idéia, planejado,
                 não tanto prover uma resposta definitiva sobre
                 guiam o usuário está pensando e Premissas de planning. 
                 estão sãos e testando resultados são providas, se
                 disponível.
 
São pedidos para os Usuários de                  da informação que nos enviem o deles/delas
Avaliações de                  e comentários baseado nas experiências deles/delas.
Resultados de                  estão incorporados em subseqüente
Edições de                 , provendo diretrizes adicionais assim para,
Adaptação de                  e usa em uma maior variedade de condições.
 
FABRICAÇÃO
 
Segure dois meio de bloco de eixo de manivela-porte (1A) em vício, perfure dois 0.6cm (1/4 ")
diâmetro fura vertically por ambos meio e perfura 2.5cm (1 ") buraco de diâmetro
horizontally. <veja figura 1>

clf1x1.gif (353x353)


 
Semelhantemente, braçadeira e perfura dois 0.6cm (1/4 ") diâmetro e um 5.7cm (2 1/4 ") diâmetro
buracos em bloco de dobrar-cabeça (1B); também broca 0.6cm (1/4 ") diâmetro vertical
fure com 1.3cm (1/2 ") diâmetro x 0.6cm (1/4 ") counterbore fundo em topo meio. <veja figura 2>

clf2x1.gif (353x353)


 
Perfure 0.6cm (1/4 ") buraco de diâmetro em braço de dobrar-cabeça (4) e redondo fora cantos. <veja figura 3>

clf3x1.gif (317x317)


 
DIMENSÃO   CENTIMETERS  POLEGADAS
 
    A          5        2
    B          1          3/8
    C          0.5        3/16
    D         21        8 3/8
    E          3.2      1 1/4
    F          0.5        3/16
    G         16        6 1/4
    H          3.7      1 1/2
    I         11        4 1/4
    J          5        1 7/8
    K         14        5 5/8
    L         13        5 1/4
    M         38        15
 
ASSEMBLÉIA
 
1.   Assemble tensão-assembléia como mostrada. <figo 14>

clf14x2.gif (309x382)


 
Ajunte gavela de tensão-assembléia de um modo. <figo. 11 & 12>

clf11x20.gif (353x353)


 
Tubo agüentando ODs em Figura 12 pode ter que ser arquivado ligeiramente de forma que gavela

clf12x2.gif (353x353)


é livre-torneamento de snugly.
 
2.   Assemble assembléia de dobrar-cabeça. <figura 13>

clf13x3.gif (486x486)


 
Eixo de manivela OD pode ter que ser arquivado ligeiramente assim
aquela manivela (1) é snugly que livre-vira; dobrar-cabeça
braço (4) largura pode ter que ser arquivada ligeiramente de forma que isto é
snugly que livre-vira dentro de tubo.
 
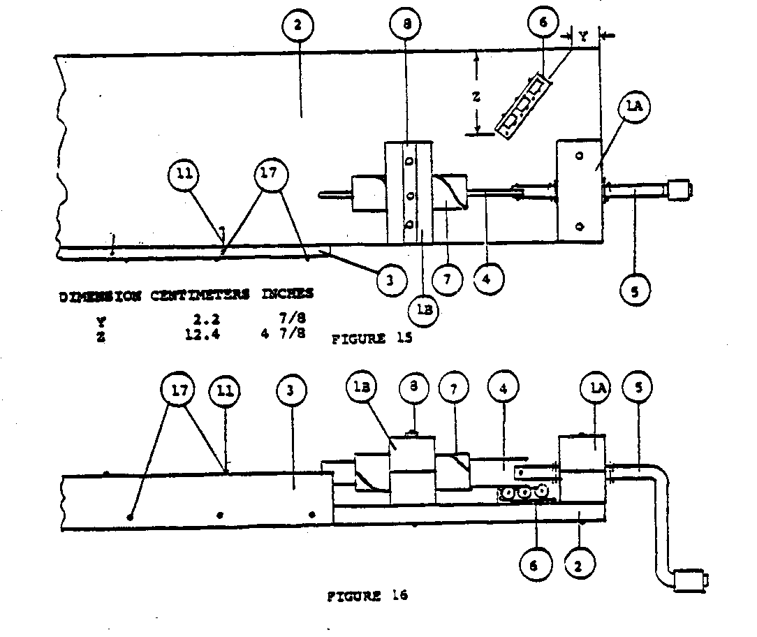
3.   Fasten cama de máquina (2) para pernas robustas satisfatórias aproximadamente 90cm (36 ")
sobre chão. <veja figura 15 e 16>

clf15x3.gif (600x600)


 
4.   Mount todos os componentes de máquina para cama (2) como mostrada em topo e visões laterais.
<veja figura 18>

clf18x4.gif (600x600)


 
Visão de assembléia de corte transversal de ascensão de dobrar-cabeça; noz de força (14) em
bloco de dobrar-cabeça de counterbored (1B), cinta de dobrar-cabeça de lugar (8) em cima
de bloco e monta a cama (2) com parafusos (13), lavadoras planas, lockwashers,
e louco; parafuso de linha (14) por noz até fim de parafuso rubor é com
tubo de dobrar-cabeça ID; aperte segunda noz para prevenir afrouxamento.
 
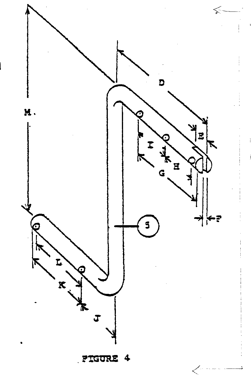
4.   Bend eixo de manivela (5), abertura cortada em fim
    indicou, broca 0.6cm (1/4 ") diâmetro
    furam por slotted termine e
    perfuram quatro 0.3cm (1/8 ") diâmetro
    fura. <veja figura 4>

clf4x5.gif (486x486)


 
5.   Cut 0.5cm (3/16 ") largo
    espiralam abertura em dobrar-cabeça
    transportam (7); marcar
    disparam, tira cortada de
    papel 8cm pesado (3 1/8 ")
    largo e embrulha ao redor
    pipe.  Drill 0.6cm
    (1/4 ") buraco de diâmetro
    em topo de tubo. <veja figura 5>

clf5x5.gif (393x393)


 
Alisando o encaixe espiral.
 
É necessário alisar o encaixe espiral com um arquivo pequeno de forma que o arame
mova livremente pela dobrar-cabeça.
 
Fortalecendo a dobrar-cabeça.
 
Fazer a dobrar-cabeça mais forte, comece com um pedaço de tubo 2 " (5cm) mais muito tempo
que required.  Cut o encaixe espiral como descrita o instruções partindo
o 2 " uncut repartem ao fim perto do crank.  Made em deste modo o tubo vá
segure sua forma original muito melhor e a parte de uncut não interfira com
a operação da máquina.
 
Método alternado de construção de manivela.
 
A manivela pode ser feita de 1/2 " tubo de diâmetro e fittings, se disponível.
 
Método alternado de construir tensão-assembléia.
 
Uma tensão-assembléia muito simples e satisfatória pode ser feita com cavilhas de madeira
montada em uma tábua como below.  mostrado O arame é passado ao redor de como muitos do
cavilhas como necessário prover o próprio tension.  Como uso começa a mostrar em
as cavilhas eles podem ser dirigidos na tábua até a área de uso desaparece.
Depois de certo tempo será necessário substituir as cavilhas.
 
O posicionamento da tensão-assembléia de cavilha de madeira dependerá do general
construção do machine.  Se é construído com pernas de madeira, as cavilhas podem
seja colocada na perna mais próximo a dobrar-cabeça formar o dispositivo de tensioning.
Caso contrário, a tensão-assembléia deve ser construída como um pedaço separado e
prendida à cama de máquina na posição apropriada.
 
6   Drill três 0.6cm (1/4 ") diâmetro fura em cinta de dobrar-cabeça (8). <veja figura 6>
 
7   Form ganchos (11). <veja figura 7>
 
8   Drill três 1.3cm (1/2 ") diâmetro e três 0.6cm (1/4 ") diâmetro fura dentro
   tensão-assembléia base (6). <veja figura 8>
 
9   There são dois métodos de fabricar os gavela de tensão-assembléia (9A & 9B,
   ou 10) e os eixos deles/delas (26A ou 26B):
 
   a.  Preferred método, se uso de torno mecânico for possível, Figure 9 corte transversal
       vêem: fabrique gavela (10) como mostrada.
 
   b.  método Alternado, se uso de torno mecânico não for possível, Figure 10 corte transversal
       vêem: ajunte gavela (2-9A & 1-9B) cada) com portes (9C)
       como mostrada; porte de arquivo (9C) comprimentos de forma que gavela ajuntadas vão
       revolvem sungly; 9A e 9B podem cada seja construída para cima de série de magro
Lavadoras de       , se necessário.
 
ALGUMAS NOTAS ADICIONAIS NA MÁQUINA de CERCA-FABRICAÇÃO de CADEIA-LIGAÇÃO <veja figuras>
 
Fazendo o encaixe espiral no tubo.
 
A largura do papel usada por marcar o encaixe espiral é:
     2 5/8 " (6.7cm) largo para 1 1/2 " (3.8cm) tubo
     3 1/8 " (8cm) largo para 2 " (5cm) tubo
 
O papel é embrulhado spirally ao redor do tubo com só bastante espacial entre
as extremidades do papel para marcar com um lápis.
 
Usando um hacksaw, cortada ao longo desta linha, enquanto há pouco girando o tubo de forma que a lâmina
passa pelo metal.  Muito fundo um corte fará a lâmina de hacksaw ligar.
 
Um segundo corte é feito perto do primeiro de forma que o encaixe resultante é 3/16 "
(0.5cm) largo.
 
OPERAÇÃO
 
1.   Feed #12 ou #14 arame de rolo de alimento de arame em cima de mais próximo tensão-sheave;
debaixo de meio tensão-sheave e em cima de último tensão-sheave em abertura espiral
em tubo de dobrar-cabeça.
 
2.   Figure 17:  À direita rotação de manivela de eixo de manivela produzirá corretamente
arame formado a fim de produção de dobrar cabeça; continue manivela de eixo de manivela giratória
até arame formado é de comprimento suficiente por altura de cerca desejada.
 
3.   Figure 17:  arame de Corte e gira manivela de forma que uma segunda praia é formada
que engrenará com primeira praia.
 
4.   Figure 17:  Continuam o anterior procedimento até comprimento de cerca chega a fim
de máquina-cama; ganchos de gancho (11) para última praia formada apoiar cerca e
continue como above.  Como cada praia é completada, mova ganchos àquela praia.
 
5.   5cm (2 ") ID dobrar-cabeça tubo usou com 5cm (2 ") braço de dobrar-cabeça largo
faça esgrima com 10cm (4 ") malha, enquanto 3.8cm (1 1/2 ") tubo de ID e
3.8cm (1 1/2 ") braço largo fará 7.6cm (3 ") malha.
 
6.   Lubricate assembléia de dobrar-cabeça e tensão-assembléia ocasionalmente.
Sabão faz o melhor lubrificante para a dobrar-cabeça porque não parte
a cerca sujo como lubrifique ou grease.  O sabão pode ser aplicado como um grosso
sabão e solução de água para a própria dobrar-cabeça ou permitindo o arame
ignorar uma barra seca de sabão logo antes entra na dobrar-cabeça--depois de
atravessando a assembléia de tensão.
 
  As partes são ajuntadas trancando os blocos " C " e
D " para uma mesa robusta, estreita ou banco de trabalho, como mostrada
sobre. Se tal um banco de trabalho não estiver disponível, pode ser
construída para este propósito. O topo do banco deve
seja feita de um plank 1 pé largo, 10 pés longo, e 1-1/2
polegadas em densidades.
  Como o arame alimenta fora o rolo de provisão, vai primeiro
pela assembléia de talha. Revisa a primeira talha,
debaixo do segundo, e em cima do terço. O fim do arame
é inserida então na abertura no tubo " UM ". Quando o
manivela é virada (à direita) o arame areja ao redor do
prato de aço ou " braço " dobrando, segue a abertura espiral, e
está forçado fora o outro fim na forma de uma espiral plana.
Quando a praia espiral alcançar o comprimento desejado, é
corte com alicates arame-cortantes. A primeira praia é contida
lugar enquanto os próprios próximos ventos de praia ao redor do primeiro.
  UMA tábua estreita (1 polegada x 4 avança lentamente x 103 polegadas) é
firmada a um lado do banco de trabalho, como mostrada acima.
São organizados ganchos de arame ao longo da extremidade desta tábua, e
é usada para segurar a seção acabado de arame em lugar,
enquanto cada praia sucessiva está sendo feita. Este arranjo
cabos a esgrima para cima fora a mesa, de forma que a espiral,
tem quarto para virar.
  Como cada praia está cortado fora, os dois fins são junto trançados
com os fins da praia precedendo.
  Finished ao lado do que esgrima acumula no chão em um rolo
o banco de trabalho. Para produção contínua, uma prateleira
possa estar preparado, com um arranjo de eixo-e-manivela, em
o qual o arame acabado pode ser enrolado como acumula.
  Also, para produção contínua, sempre é melhor para
deixe uma seção curta de cercar em linha na máquina,
desde que as primeiras praias sempre são um pouco difíceis
conter linha. Separar duas seções de cercar, é
não necessário cortar o arame; simplesmente solte os dois fins
de um das praias e vira a espiral para trás fora de
a esgrima.
 
     Um abstrato da máquina de cerca-fabricação como se apareceu em " Vizinhos Mundiais
     em Ação ". <veja figura>
 
Um. O tamanho deste tubo determina o tamanho das aberturas
   na malha. Uma 2-polegada com a que tubo fará esgrima
4-polegada de    aberturas. Marcar a espiral, corte uma tira de
   papel pesado 3-1/8 polegadas largo e embrulha isto ao redor do
   transportam. Para cortar a abertura espiral, um hacksaw é usado. O
Abertura de    deveria ser 3/16 polegadas larga. Uma 1/4-polegada que buraco é
   perfurou no topo do tubo, por segurar isto em lugar.
 
B. Esta " lâmina " pode ser feita de aço ou ferro de correia. Isto
   deve ser duro bastante de forma que isto não tenderá a torcer
   fora de forma com uso. As extremidades deveriam ser arquivadas fora
   de forma que isto ajusta snugly mas voltas livremente dentro do tubo.
 
C. São segurados dois blocos junto e uma 1-polegada buraco
   enfadou entre eles horizontally, como mostrada. Dois 1/4-polegada
Também são perfurados buracos de    vertically, por firmar o
   bloqueia ao banco de trabalho.
 
D. Da mesma maneira, os dois blocos são segurados junto.
   UM buraco 2-1/4 polegadas em diâmetro são horizontally entediado,
São perfurados    e três 1/4-polegada buracos vertically, como
   mostrado. O cabo de centro de topo também requer uma 1/2-polegada
Counterbore de   , (1/4-polegada profundamente) no bloco de topo, admitir
   UM LOCKNUT. Uma 6-polegada que também é perfurado ferro de correia com três
 
1/4-polegada de    buracos para emparelhar os buracos nos blocos. (Veja
   Figure 3 em página 5).
 
E. A manivela pode ser feita de uma 1-polegada vara, 31 polegadas em
Comprimento de   . Uma 3/16-polegada abertura está cortada no fim, de forma que isto,
   ajustará em cima da " lâmina ", ou dobrando braço. Buracos são
   perfurou como indicada, segurar a manivela em lugar. Uma 5-polegada
Comprimento de    de tubo é provido em cima da manivela, assim o
Manivela de    virará facilmente na mão.
 
F. O tamanho dos gavela de talha não é especialmente importante.
   UNS 1-1/2 ou 2-polegada diâmetro é um tamanho bom para
   usam.
 
 
                              [C] VITA, Inc. 1978,
 
 
                                     VITA
                                      VOLUNTEERS
                                      EM TÉCNICO
AJUDA DE                                      
 
                                  SOBRE VITA
 
                 Volunteers em Ajuda Técnica (VITA) é
                 um desenvolvimento privado, sem lucro, internacional
Organização de                 .   Started em 1959 por um
                 se agrupam de cientistas preocupados e engenheiros,
                 VITA mantém uma documentação extensa
                 centram e lista mundial de voluntário
                 os peritos técnicos.   VITA faz disponível para
Os indivíduos de                  e grupos em países em desenvolvimento
                 uma variedade de informação e técnico
Recursos de                  apontaram a nutrir auto-suficiência--necessidades
Avaliação de                  e desenvolvimento de programa
                 apóiam; por-correio e em-local consultando
                 conserta; sistemas de informação training.  Isto
                 também publica um boletim informativo trimestral e um
Variedade de                  de manuais técnicos e boletins.
 
                                     VITA
                       1600 Bulevar de Wilson, Apartamento 500,
                         Arlington, Virgínia 22209 E.U.A.
                     TEL: 703/276-1800. Fac-símile: 703/243-1865
                          Internet: pr-info@vita.org
 
== == == == == == == == == == == == == == == == == == == ==
== == == == == == == == == == == == == == == == == == == ==
 

CD3WD Project Donate