BIBLIOGRAFIA

CD3WD Project

Back to Home Page of CD3WD Project or Back to list of CD3WD Publications


Home - English - French - German - Italian - Portuguese - Spanish
                            SAVONIUS ROTOR
 
CONSTRUÇÃO DE                             
 
               Máquinas de Vento de Eixo Verticais De Tambores de Óleo
 
                                  por
 
                          JOZEF UM. Kozlowski
 
                             published por
 
                                 VITA
                   1600 Bulevar de Wilson, Apartamento 500,
                     Arlington, Virgínia 22209 E.U.A.
               Tel:  703/276-1800 * Fac-símile:   703/243-1865
                      Internet:  pr-info@vita.org
 
                           ISBN 0-86619-062-7
 
                           [C] VITA, Inc. 1977,
 
 
INTRODUÇÃO
 
VITA é agradado para fazer disponível o trabalho de Jozef UM. Kozlowski que
contribuiu as perícias dele nas áreas de água, vento e metano
dê poder a geração a problemas técnicos mundial por VITA para
quase 10 years.  Kozlowski que seguram um grau avançado criando
especializa consulta de onsite e projeto trabalho relacionando
para resolver problemas em países em desenvolvimento.
 
Jozef Kozlowski construiu dois rotores de Savonius--um em Gales e
o outro em Zambia.  rural Este manual detalha a construção de
este machines.  VITA e o autor oferecem este manual com o
espere que ponha os rotores primeiro em uma perspectiva que permite potencial
construtores para julgar a aplicabilidade de tais máquinas para
satisfazendo as necessidades deles/delas e então provê diretrizes efetivas para construir
cada.
 
O S-rotor, como é mais popularmente conhecido, é fácil construir.
Por isto e outros (não o menos de qual é que um S-rotor
pode ser construída para despesa relativamente pequena), as pessoas constroem rotores
antes de eles investigassem as próprias necessidades deles/delas completamente ou tiveram
pesada estes contra o potential.  um pouco limitado do rotor O
rotor não satisfará todas as necessidades, e consideração cuidadosa de todos os fatores
e possibilidades são essenciais para sucesso.
 
Para esses que decidem construir rotores, passo por passo construção
detalhes são provided.  O manual inclui um rotor de dois-fase para
água bombeando e um rotor de três-fase projetaram para carregar automóvel
baterias (o posterior pode ser construída usando só ferramentas de mão).
Ambos os rotores dependem de uso de tambores de óleo descartados.
 
Prover informação adicional e orientação ao potencial
Construtor de S-rotor, o autor revisou vários artigos e
livros no subject.  As revisões que são incluídas como um apêndice
para este manual, é completamente uma expressão do autor
resultados e opiniões.
 
Setembro de                                         , 1977,
 
O rotor de Savonius--também chamou o S-rotor--é um vertical-cabo
máquina de vento inventada por Sigurd J. Savonius de Finlândia uns cinqüenta
anos atrás.
 
O rotor é relativamente fácil construir, especialmente se fez
de padrão 45 galão Imperial (55 galão de EUA) tambores de óleo que são
geralmente disponível ao longo do mundo, a um custo nominal para
tambores usados.
 
Porque gira em um cabo vertical, o rotor pode virar em vento
vindo de qualquer direção e começará torneamento em muito baixos ventos.
 
<FIGURA 1>

11p01.gif (353x437)


 
Uma pesquisa de espetáculos de literatura disponíveis que o rotor é muito satisfatório
para fabrique em aldeia e situações de casa e que não é difícil
a construct.  However, o autor sente o usuário potencial
deva estar atento do fato que o rotor de Savonius, quando comparou
outras máquinas de vento, pode ser menos eficiente ou pode requerer vento mais alto
velocidades para alcançar uma produção de poder alcançada por outro tipo mais facilmente
de máquina de vento.
 
O texto nas páginas seguintes provê dados compilados por vários
investigadores na quantia de energia disponível de S-rotores a
vento vários speeds.  O autor sente o construtor de rotor potencial
deva usar estes dados cuidadosamente para ver se um S-rotor puder conhecer o seu
necessidades--antes de ele começasse o processo de construção.
 
EXEMPLOS DE PODER DISPONÍVEL DE S-ROTORES
 
Os gráficos seguintes provêem figuras específicas no poder disponível
de rotores de Savonius.
 
Rotores diferentes--reduzido ao mesmo tamanho--é comparada em gráficos 1 e 2

11p020.gif (486x486)


e a tabulação acompanhante. Gráficos de   3 e 4 produção de rotor de espetáculo

11p03b.gif (600x600)



11p040.gif (600x600)



11p03a0.gif (600x600)


para um rotor de dois-fase e um rotor de 1m área projetada respectivamente.
 
Aqui " figuras de contribuição " medem energia diretamente disponível do rotor.
Produção " figura leve em perdas de conta baseado nas eficiências
de bombas ou transmissão elétrica.
 
Note isso em gráficos 1,  2, e 4, as figuras de contribuição de energia são determinadas dentro
" watts por [meter.sup.2]."   O cálculo de área é baseado no " varrido pelo vento
área, " ou a área total passou rapidamente o rotor, como você está olhando
diretamente a isto do lado (como o vento vá).   Multiply a altura
do rotor pela largura a seu ponto mais largo (a distância em um
diretamente enfileire entre as gorjetas exteriores de um par de cata-ventos).
 
Em gráficos 1 e 2 o poder por metro quadrado de área projetada de
S-rotores são plotted contra a velocidade de vento, enquanto usando dados de teste de
sete sources.  diferente Embora há diferenças, todos o
espetáculo de resultados isso em velocidades de vento debaixo de 20mph a geração de poder é
muito pequeno.
 
Por exemplo, os dados de Bodek e Simmonds' S-rotor experimental em
os espetáculos de Indies Ocidentais que a energia útil de um 12mph vento deu
em água bombeada está 8.5 watts/[m.sup.2].   que Isto significa que aquele pode bombear
75 gallons/hour imperial até 30 ' sobre o nível de água (341
liters/hour até 9,14m) .  Em um 8mph vento a energia útil só é
2.8 watts/[m.sup.2] que meios que só 25 gallons/hour Imperial (104
liters/hour) pode ser bombeada à mesma altura.
 
Note que para uma 33 diminuição de por cento em velocidade de vento, a produção de água
--que é proporcional ao poder gerado pelo S-rotor--
derrubada por aproximadamente 66 por cento.   que O poder desenvolveu em um vento
máquina é proporcional à velocidade de vento cubada.   A significação
de ventos mais fortes é notada imediatamente.
 
Um 20mph vento adquirirá o gerador elétrico comercial menor
trabalhando, produzindo aproximadamente 100 watts de eletricidade.   Sobre uns 30mph
vento será requerido para um gerador de carro ou alternador para começarem
carregando um 12-volt bateria de carro.
 
Está até o usuário decidir se valer a pena construir um
S-rotor para ventos de menos que 20mph se ventos mais fortes são raros dentro
o area.  máquinas de vento de horizontal-eixo Distintas, S-rotores começarão
virando em mesmos ventos de baixo-velocidade--mas só produzirá pequeno
quantias de poder utilizável a essas baixas velocidades.   não é possível para
dê uma fórmula precisa para o poder disponível ao gerador ou um
bomba porque a fricção e perdas de transmissão são largamente dependentes
no desígnio e precisão de fabrique do rotor.   Desde
o rotor não é intrinsically muito poderoso, perdas de fricção devido a
portes ruins e perdas de transmissão poderiam absorver a maioria do
power.  Therefore disponível, própria construção e excelente
ajustando dos portes é muito importante.
DETERMINE SE UM S-ROTOR
É SATISFATÓRIO PARA SEU USO
 
É muito importante para estabelecer o seguinte antes de tentar
construa qualquer máquina de vento:
 
Disponibilidade de Achado de wind.  que com que freqüência vento vem, sua intensidade, e
seu patterns.  anual do que Estas informações geralmente podem ser obtidas
a mais próxima estação meteorológica.   Uma alternativa e mais preciso
método é usar um anemômetro (velocidade de vento que mede instrumento) para
meça velocidades de vento em um local escolhido para um período de talvez um ano.
 
Uso pretendido do moinho de vento.
 
  *   que bombeia água para uso doméstico
  *   eletricidade geradora
  *   outras aplicações
 
Escolha de um site.  satisfatório que A escolha de local dependerá claro que
no uso planejado do moinho de vento.   Then é muito importante para
selecione um local para o que permitirá a exposição de máximo de moinho de vento
areje, i.e., adquirir poder de máximo.
 
O topo de uma colina suavemente se inclinando sem árvores, arbustos ou outro
obstruções para o vento são ideais.
 
Porém, se o moinho de vento será usado por bombear água, freqüentemente o
provável coloque para um bem é o fundo em lugar de o topo do
colina, ou iguala na redondeza de edifícios onde a água será
used.  Se o local é abrigado dos ventos prevalecentes através de edifícios,
árvores ou outros obstáculos, seria bastante inadequado para um
moinho de vento--a menos que seja construído em cima de uma torre alta ou em cima de um
itself.  construindo Se esta for a escolha, então o moinho de vento tem que clarear
o obstáculo mais alto por um mínimo de cerca de 10'(3m).
 
Se o rotor será usado por carregar baterias, o topo de um
colina perto, claro de obstruções, pareceria ser uma escolha lógica.
Leve em conta quando transmitiu em cima de um
distancie, e localize o rotor tão íntimo quanto possível para o lugar
onde o, poder será usado.
 
Em quase qualquer local, o mais alto o moinho de vento está montado, o mais forte
os ventos vão be.  que deveriam ser comparados Os benefícios de poder extra
contra custos adicionais de uma torre ou uma estrutura de apoio.
 
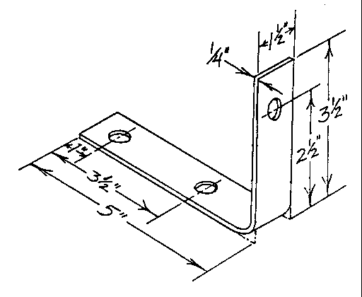
CONSTRUÇÃO
 
O autor construiu dois S-rotores.   Eles são diferentes em desígnio e
método de construção.
 
O primeiro, apresentada aqui como Rotor #1, é um rotor de dois-fase (dois

11p07a.gif (437x437)


tambores de óleo, cada dividiu pela metade e empilhou vertically em pares de
meio-tambores) fixo a uma bomba de água.   que pode ser duplicado facilmente
onde materiais satisfatórios e instalações de seminário estão disponíveis.
 
O segundo, Rotor #2, é um rotor de três-fase (três pares de

11p07b.gif (486x486)


meio-tambores empilharam vertically) projetou para gancho-para cima para pequeno elétrico
poder equipment.  gerador que Seu método de construção seria
destine em condições rurais com acesso para uma forja de aldeia.
 
Acesso para uma loja de máquina pequena, ou algo naquela ordem, seria
muito útil na assembléia de qualquer um destes rotores.   Algum tipo
de facilidade em qual formar e corte que aço moderado será requerido.
 
Ambos os rotores usam dividida tambores de óleo para cata-ventos.   Os tambores são standards
45 galão imperial (55 galão de EUA) tambores de óleo que estão disponíveis
ao longo da maioria do mundo; dimensões aproximadas de cada tambor
é 34 " (86cm) x 20 " alto (51cm) diâmetro.
 
Um rotor de dois-fase, como Rotor #1 que usa quatro meio-tambores,
produza a contribuição de poder de um rotor de um-fase aproximadamente duas vezes
usando dois meio-drums.  UM rotor de três-fase como Rotor #2, usando
seis meio-tambores, produzirá aproximadamente três vezes o poder
contribuição de um rotor de um-fase.
 
Um rotor que tem mais que três fases requereriam modificações de desígnio,
e seria difícil de embutir condições rurais.
 
Este é um S-rotor de dois-fase.   UM cabo conectando é prendido um
positivo-deslocamento borehole rotativo (submersível) bomba, fabricou
através de Bombas de Mono (Criando) Ltd. na Inglaterra. Água de   é empurrada o
borehole por um parafuso-igual mecanismo giratório.   Os cata-ventos do S-rotor
é colocada assim o vento virará o rotor dentro o mesmo (à esquerda--olhando
do topo) direção como isso em qual a bomba de Mono
operates.  Using uma bomba rotativa deste tipo habilita um rotor direto /
bombeie gancho-para cima--com um pedaço de extensão que conecta o cabo de S-rotor para
o cabo que estende abaixo o borehole à bomba.   SE VOCÊ USA UM
BOMBA ROTATIVA FEZ OPERAR DENTRO UM À DIREITA DIREÇÃO, TENHA CERTEZA
INVERTA A DIREÇÃO DE TODO O S-ROTOR, CATA-VENTOS DISSO MOSTRADA DENTRO,
ESTES PLANOS.
 
VITA oferece vários boletins técnicos que contêm planos para bombas.
Se você escolhe uma bomba que usa um reciprocando (de um lado para outro) movimento
para erguer a água, você terá que inventar um mecanismo para converter o
movimento rotativo do rotor para este tipo de movimento.   Expect um certo
perda em efficiency.  Diafragma bombas pode ser usada se colocou no
superfície de chão em cima de uma baixa cabeça (quer dizer, eles não podem ser equipados facilmente
operar abaixo um borehole).
 
MATERIAIS
 
*  2 padrão 45 galão Imperial (55 galão de EUA) tambores de óleo
 
*  Um e um meio 4x8 ' folhas de 1/2 " plywood.  grosso 3 discos de 46 "
Diâmetro de    será cortado de these.  plywood de qualidade Marinho é melhor.
 
*  aproximadamente 45 ' de 2x4 " madeira, para apoio de rotor frame.  que 2 pedaços devem
   têm um comprimento contínuo de cerca de 13 ' cada.
 
*  1 viga de madeira, 4"x4"x6 '
 
*  Sobre uns 8 ' seção de tubo direto (preferivelmente aço), nominal
   (aproximado) fora de diâmetro de 1 1/4 ".
 
*  aproximadamente 1 sq. pés de 1/4 " apartamento grosso folha de aço moderada; sobre uns 7 "
Comprimento de    de tubo de aço moderado, com um diâmetro interior grande bastante
   para deslizar em cima do 1 1/4 " tubo (sobre), e 1/4 " densidades de parede.
   Estes são fabricar parênteses de apoio de disco.
 
*  1 - 1 1/2 ' de barra de aço sólida, para fim de cabo FAZEM pieces.  See "
   CABO FIM PEDAÇOS " (página 21) para considerações adicionais.
 
*  2 portes de rolo, 1 " mínimo dentro de (cabo) diâmetro, com alojamentos.
   que O porte de fundo tem que estar ego-alinhando em todo o directions.  See
PORTES de    ", " página 18.
 
*  Bolts. Não são listadas Nozes de  --cada parafuso levará uma noz do
   Nota de size.  apropriada:   Bolt comprimentos estão medidos do undersurface
   da cabeça para a gorjeta.
 
   *   para firmar parênteses de apoio de disco a discs:  dezoito 3/8"x22 ";
      trinta-seis 3/8 " lavadoras de olhar; dezoito 3/8 " lavadoras claras.
 
   *   para firmar parênteses de apoio de disco a shaft:  três 1/2"x3 "; seis
      1/2 " lavadoras de fechadura.
 
   *   para firmar parênteses de tambor a discos:   aproximadamente sessenta ou setenta 1/4"x2 ";
      duas vezes como muitos 1/4 " esbanjadores de fechadura.
 
   *   para firmar cabo e pedaços a cabo:   dois 1/2 " x 2 1/2 ";
      quatro 1/2 " lavadoras de fechadura; duas 1/2 " lavadoras claras.
 
   *   Qualquer número e tamanhos de parafusos você precisa firmar o
      portes particulares que você seleciona às vigas de apoio de porte.
 
*  que aproximadamente 10 madeira grossa grande atarraxa, 3 1/2 " longo, com bom-de tamanho
   enfia, firmar armação de rotor junto
 
Cimento de * , areia e água para fazer aproximadamente 2 pés cúbicos de concreto
   para âncoras
 
*  alguns pés de cerca de 1 " tábuas grossas para fazer molde de âncora
 
*  aproximadamente 8'-12 ' de 1/2 " vara de aço de diâmetro, para voltas de âncora,
 
*  arame Forte ou cabo para sujeito Comprimento de wires.  precisado depende em
   numeram e arranjo de sujeitos que você usa.
 
*  Screw olhos ou outros conectores fortes para firmar arames de sujeito para
   rotor armação
 
FERRAMENTAS
 
*  Hacksaw; você também pode precisar de um cinzel de aço (cinzel frio), chama
Tocha de   , ou elétrodo cortante.
 
*  Outras ferramentas de mão--inclusive chave de fenda, arquiva martelo, serra, em volta,
   madeira lima ou lixa, lima de metal, unhas (alguns 3 1/2 " ones),
   que contende serra, alicates, malho de madeira, cinzel de madeira, torceduras,
 
*  Drill--elétrico ou dá, e alguns pedaços de tamanho diferentes, para madeira,
   e metal
 
*  Level; medindo fita ou regra; direito-ângulo honestamente
 
*  Shovel
 
Acesso de *  para soldar equipamento para fabricar parênteses de apoio de disco;
Acesso de    para forjar para cortar aço moderado para forma de ajuda
 
Acesso de *  para um torno mecânico de metal o permitiria a formar seu próprio cabo
   terminam pedaços; acesso para uma máquina de moenda o permitiria a fazer
   um porte de topo que mora (embora o autor fez o porte
   que mora em um torno mecânico só)
 
*  Tapping e enfiando ferramentas para fazer conexão entre fundo
   cabo fim pedaço e bomba de extensão de cabo
 
PREPARE MEIO-TAMBORES
 
Se vá topo removível e tampas de fundo
de dois 45 galão Imperial (55 galão de EUA)
óleo de aço drums.  Se tampas são permanentemente
fixada aos tambores os deixe em.
 
Corte o vertically de tambores em dois igual
halves.  que Você pode cortar com uma tocha de chama,
elétrodo cortante elétrico, mecanicamente,
com uma serra (bastante difícil) ou um aço
cinzel (cinzel frio).
 
Arquive extremidades ásperas fora de todos os quatro meio-tambores.
Bata fora qualquer disfiguration para
amolde com um malho de madeira.
 
<FIGURA 2>

11p11a.gif (353x353)


 
PREPARE TAMBOR (ANEXO) PARÊNTESES
 
Abertura o topo e lábios de fundo de cada meio-tambor com umas Aberturas de hacksaw. 
deva ser aproximadamente 1 " (2 1/2 cm) separadamente.   que variações Pequenas são
não importante.
 
Abra os cachos com uma chave de fenda grande.
 
Chame estes " tocam tambor parênteses ".
 
Perfure 1/4 " buracos em todo terço ou quarto parêntese de tambor--espaço o
buracos tão uniformemente quanto possível.   que UM buraco deve ser perfurado no fim
parêntese de cada lateral do meio-tambor, topo e fundo.
 
<FIGURA 3>

11p11b.gif (437x437)


 
Use um redondo arquivo para remover os carrapichos e abrir os buracos ligeiramente,
se necessário, para accomodate 1/4 " parafusos.
 
FAÇA PARA TRÊS MADEIRA CIRCULAR DISCOS
 
Puxe três círculos de 23 " rádio em 1/2 " marinha de plywood  grossa
qualidade é melhor) .  Drive uma unha no Plywood ao ponto que
seja o centro de cada círculo.   Tie um fim de um fio para o
unha e o outro a um lápis--tenha certeza o comprimento de fio entre
a unha e lápis mede 23 ".   Keep o fio apertado e
o lápis em uma posição vertical, e puxa um círculo preciso.
 
Depois de puxar os círculos, cheque de mancha a distância do centro de
cada círculo para a extremidade em vários lugares.
 
Recorte os três círculos. Alise a extremidade de cada disco com uma madeira
lima ou lixa.
 
<FIGURA 4>

11p12.gif (393x393)


 
Em um lado de cada disco, tire uma linha de extremidade afiar por
o center.  Isto forma uma linha de diâmetro.
 
Aceso dos discos desenha uma linha de diâmetro exatamente no lado de parte de trás
a ângulos de direito para a linha no lado dianteiro.   que Este disco será
o meio dos três discos.
Puxe um 2 " círculo de diâmetro e uns 8 "
círculo de diâmetro ao redor do centro
de cada disco, nos lados marcados,
(e em ambos os lados do meio
disco).
 
Perfure um
fure dentro o
centro de cada
disco.
 
<FIGURA 5>

11p13a.gif (388x388)


 
FAÇA PARÊNTESES DE APOIO DE DISCO
 
Faça três disco apoiar parênteses
cortando, enquanto soldando e perfurando
prato de aço moderado e tubo.
 
Estes parênteses prenderão
o disc/half-tambor de plywood
assembléia para um cabo de tubo.
Tenha certeza cada parêntese
deslizamentos em cima de um escolhido,
diretamente 1 1/4 " (nominal
--quer dizer, não será
exato) tubo de diâmetro a
menos 8 ' long.  (Conduza tubo
fora de cogitação--muito pesado
e muito macio.)
 
<FIGURA 6>

11p13b.gif (600x600)


 
INSTALE OS PARÊNTESES DE APOIO DE DISCO
 
Centre um parêntese de apoio de disco no lado marcado de um da madeira
discs.  Trace seu fora de extremidade sobre o disco.
 
Recorte o 2 " círculo de diâmetro marcado no disco para formar um buraco dentro
o centro do Uso de disc.  2 " cortador de buraco, or:  perfuram fura tudo
redondo o dentro do 2 " círculo marcado com um pedaço de broca pequeno;
corte os espaços entre os buracos com um cinzel afiado, batendo,
suavemente com um martelo; liso fora o buraco com uma lima de madeira ou arquivo.
 
Segure o parêntese firmemente no círculo localizado ao redor de sua extremidade.
Perfure 3/8 " buracos na madeira pelos seis buracos no parêntese.
 
Parafusos de suplemento e lavadoras e aperta nozes para firmar o parêntese
para o disco.
 
Repita o mesmo procedimento para prender os outros dois parênteses para o
outra dois madeira discs.  Você pode usar qualquer um lateral do disco mediano
para este propósito--em assembléia o parêntese será abaixo o
disco mediano.
 
<FIGURA 7>

11p14.gif (432x432)


 
PREPARE MEIO-TAMBORES E DISCOS PARA ASSEMBLÉIA
Como você passe pelas preparações seguintes, marque todos os discos e
meio-tambores assim eles podem ser reajuntados depois exatamente como você tenha
os preparada--caso contrário buracos de parafuso não alinharão.
 
<FIGURA 8>

11p15a.gif (437x437)


Coloque um dos dois discos marcada em só um apartamento lateral no chão
com o parêntese de apoio que enfrenta para cima.   Mark este o disco de fundo.
 
Coloque dois meio tambores ao longo da linha de diâmetro marcada.   As duas gorjetas
Um e B de cada meio-tambor deve estar exatamente na linha, e o interno
incline UM de cada tem que tocar também a circunferência do 8 " círculo
utilizada o disco.
 
<FIGURA 9>

11p15b.gif (285x353)


 
Enquanto os meio-tambores estão nesta broca de posição 1/4 " buracos no
disco por cada buraco no tambor põe entre parênteses, enquanto inserindo 1/4 " parafusos
e louco, e lavadoras de fechadura (debaixo da cabeça de parafuso e a noz) como
você go.  Start com a gorjeta exterior B de um meio-tambor, vá diretamente para
a gorjeta interna UM, e então perfura os buracos entre--isto vai
estabilize o meio-tambor para a maioria do perfurar.
 
<FIGURA 10>

11p16a.gif (393x393)


 
Coloque o apartamento de disco mediano no chão com o parêntese de apoio
enfrentando para cima (quer dizer, o fundo do disco que enfrenta para cima).
 
Inverta o disco de fundo com os dois meio tambores fixos sobre isto, assim
que os fins grátis dos meio-tambores se alinham ao longo do diâmetro marcado
revista o mesmo modo como no disco de fundo.   O padrão formará um
reflita imagem do disco de fundo.
 
Buracos de broca pelo tambor perfurado põem entre parênteses em ambas as extremidades de meio-tambor
no disc.  mediano Se você foge por alguns dos buracos ajudar
perfurando, remove os parafusos quando você for acabado.
 
Remova o disco de fundo e assembléia de meio-tambor.
 
<FIGURA 11>

11p16b.gif (393x393)


 
Sacuda o disco mediano em cima de no chão.   Place os dois que permanecem
meio-tambores em posição ao longo da linha de diâmetro.   (Eles serão a
ângulos de direito para o alinhamento no outro lado do disco.)
 
Buracos de broca pelo tambor perfurado põem entre parênteses nas extremidades de meio-tambor
no disco, fugindo por alguns dos buracos como você vai.
 
<FIGURA 12>

11p17.gif (437x437)


 
Coloque o apartamento de disco de topo no chão com o apoio parêntese enfrentar
para cima (quer dizer, o fundo do disco que enfrenta para cima).
 
Inverta o disco mediano com os dois meio-tambores fixos sobre isto, assim
que os fins grátis dos meio-tambores se alinham ao longo do diâmetro marcado
linha.
 
Buracos de broca pelo tambor perfurado põem entre parênteses nas extremidades de meio-tambor
no disco de topo.
 
Desmonte qualquer disco e meio-tambores que permanecem junto e jogo
aparte para assembléia final depois.
 
Enquanto controlando os meio-tambores que eles podem mudar amolda ligeiramente, enquanto causando
buracos de parafuso para se mudar de alinhamento com buracos perfuraram nos discos.
Eles podem ser trazidos em Forma exata ao trancar para cima mostrando mão
pressão.
 
PORTES
 
Termine pedaços do topo e fundo do cabo de rotor cada resto
em um rolo ou rolamento de esferas prendeu a uma viga de apoio horizontal.
Isto assegura rotação lisa e eficiente.   é importante para
portes bons seletos e os instala corretamente.
 
O autor recomenda usar portes com um mínimo dentro--ou
cabo--diâmetro de 1 ".   que O porte de fundo tem que estar ego-alinhando
em todas as direções, e deve ser capaz de tomada o peso morto de
o rotor que--dependendo de sua construção--não deva
exceda 200 lb.; quer dizer, o porte de fundo tem que resistir ambos um
empurrão axial e cargas laterais de 200 lb.
 
O autor usou um Fafnir 1 " tipo de porte   RCJ P1 (agüentando
#GC1100KRRB5) para o porte de fundo.
 
Estes são dois outros portes de rolo que farão o trabalho, topo ou
fundo:
 
  * Selo de   Mestre MSFT-16 (ou MSFT-16C com um selo de umidade-prova);
     vale sobre US$12.00 (pode ser agora mais).
 
  * Selo de   Mestre LFT-16 (ou LFT-16C com um selo de umidade-prova);
     vale sobre US$6.50 (pode ser agora mais).
 
Portes que provêem para lubrificação periódica sem requerer
separação aliviará o trabalho de manutenção.
 
Pode haver muitos portes que você pode achar pronto instalar ou
adapte para usar no rotor.  Keep em mente as cargas envolvidas, especialmente,
para o fundo bearing.  portes Bons, instalou corretamente, é essencial
para a operação próspera do rotor.
 
<FIGURA 13>

11p18.gif (486x486)


 
Se você tem acesso a instalações de seminário que você pode fazer um alojamento para ajustar
snugly ao redor de uma bola satisfatória ou rolo que agüenta para o rotor de topo
bearing.  Na página oposta são diagramas do morar o autor
feita ajustar ao redor de um porte com um diâmetro externo de 2.81 ".
 
<FIGURA 14>

11p19.gif (600x600)


PREPARE VIGAS DE APOIO DE PORTE
 
Corte um 6'4 " comprimento de 2x4 " viga de madeira pela topo porte apoio viga.
Descansará e firmará em cima dos fins dos dois alto vertical
apoios de armação de rotor.
 
Corte uns 6 ' comprimento de uma 4x4 " viga de madeira para o apoio de porte de fundo
beam.  ajustará e firmará entre o rotor vertical alto
apoios de armação.
 
<FIGURA 15>

11p20.gif (600x600)


 
Os portes firmarão sobre o topside de cada viga, ao centro,
point.  Drill ou cortou um buraco no centro do 4 " lado largo do
topo porte apoio viga grande bastante de forma que o fim do rotor
cabo pode estender para cima por para o porte e pode girar livremente, sem
touching.  Drill ou cortou um buraco no centro do porte de fundo
viga de apoio grande bastante de forma que o cabo que estende até o
bombeie do porte poderá girar livremente.
 
Buracos de broca pelas vigas no padrão e tamanhos que emparelham o
buracos nas orlas nos portes particulares você é using.  Take cuidado
que seus portes serão centrados com precisão em cada viga de apoio.
Firme os portes a cada viga com parafusos, nozes e lavadoras de fechadura.
 
Você pode ter que preparar a superfície de madeira das vigas de apoio de porte
diferentemente, com cinzéis, limas e arquivos, ou usa bom-de tamanho, robusto
shims, para portes de accomodate com alojamentos de configurações outro
que uma planície, debaixo de-superfície plana.   QUE O ALOJAMENTO DE PORTE TEM QUE SENTAR
FIRMEMENTE QUANDO TRANCOU.
 
FAÇA PEDAÇOS DE FIM DE CABO
 
Pedaços de fim de aço sólidos firmados aos fins do cabo de tubo provêem
superfícies lisas para ajustar nos portes.
 
Se formou em um torno mecânico ou adaptou a esta aplicação de
materiais já-formados, os pedaços de fim devem ser de aço sólido
e--especialmente importante se não são equipados os portes que você usa
com jogo-parafusos prender o cabo em lugar--tenha um liso cilíndrico
superfície que faz uma interferência (apertado) ajuste em cada interno
superfície agüentando.
 
Se você formar os pedaços você, faça a porção na que desliza
o fim de tubo o diâmetro apropriado para ajustar no tubo (você pode
possa arquivar a superfície interior do fim de tubo um pouco) Corporação de . 
na forma do pedaço de fim de fundo um colarinho protraindo,
com uma debaixo de-superfície moida liso e achata em que descansará o
lábio do porte de rotor de fundo.   que UM colarinho formou no fim de topo
pedaço pode prover um ajuste mais seguro no porte particular que você é
usando, ou pode não ser necessário.
 
O pedaço de fim de fundo deve ser bastante longo para protrair fora do fundo
da Broca de bearing.  fora e bate o centro deste pedaço de fim com
uma linha à esquerda para emparelhar a linha na extensão do cabo
da bomba de Mono que gira contador-à direita (como vista do
topo).
 
Se você não tiver nenhum acesso a um torno mecânico, ache barra de aço com um diâmetro que
ajuste firmemente em cada porte que você escolheu usar.
Dependendo dos tamanhos de porte e o atual dentro de diâmetro do
transporte cabo que você está usando, moa abaixo ou construa (com uma manga)
pelo menos um 3 ou 4 " comprimento de cada pedaço de fim para ajustar snugly no fim
do tubo shaft.  Se o porte de fundo que você está usando não tem
jogo-parafusos para prender o cabo de tubo positivamente em lugar, use um fechando
colarinho--isso pode ser comprada com alguns portes--ao redor do
cabo protraindo do pedaço de fim de fundo, descansar em cima do lábio,
do fundo bearing.  UM Selo Mestre MSFT16-T (ou MSFT 16-TC com um
selo de umidade-prova) é vendido com um colarinho fechando--para US$13.40
(pode ser agora mais) .  que Você pode fazer sem um colarinho no pedaço de fim de topo;
tome cuidado em assembléia final considerar em suas medidas para um
espace entre o mais baixo lábio do porte de topo e o fim de unmilled
do cabo de tubo.
 
<FIGURA 16>

11p22.gif (540x540)


 
PRENDA O PEDAÇO DE FIM DE FUNDO AO CABO DE TUBO
 
Apare o fim de fundo do cabo de tubo para remover qualquer threads.  Se
necessário, arquive as superfícies interiores a accomodate o pedaço de fim de cabo.
 
Empurre o fim de tubo do fundo cabo fim pedaço no tubo até
o colarinho descansa no fim de tubo.   Mark 1 " do fim do tubo
com uma Broca de punch.  um 1/2 " buraco pelo tubo e o pedaço de fim,
e deburr it.  Keeping o pedaço de fim em lugar, tranque pelo
fure com um 1/2 " x 2 1/2 " parafuso e aperte abaixo com noz e lavadoras.
 
AJUNTE O ROTOR
 
Sente o fim de fundo do cabo de tubo no porte no 4x4 " fundo
viga de apoio agüentando.
 
Apóie a viga de fundo aproximadamente três pés fora o chão, com o
transporte cabo que projeta lateralmente fora disto.
 
Deslize o disco de plywood de fundo em cima do fim de topo do cabo, com o
parêntese de apoio de disco que enfrenta o fim de topo.   Position a face de fundo de
o disco 2 1/2 - 3 " longe do lado de topo do porte.
 
Segurando o parêntese firmemente, perfure um buraco grande bastante aceitar um
1/2 " parafuso de diâmetro pelo buraco no colarinho de parêntese e o
transporte, e atrás fora pelo outro lado do colarinho de parêntese.
(Se necessário, desfaça a propriedade de parafusos o parêntese de apoio para o
disco e remove o disco. )  Insert um parafuso pelo parêntese e
transporte, e aperte com lavadoras de fechadura e noz.   Bolt atrás o disco se
você removeu isto.
 
Traga um dos meio-tambores de fundo em posição contra o fundo
disco--tenha certeza para emparelhar o meio-tambor correto à posição em
o disco de acordo com o sistema marcando você fixou isto para up.  Fasten
firmemente contra o disco com parafusos, nozes e lavadoras de fechadura.
 
Deslize o disco mediano em cima do fim de topo do cabo com o apoio
parêntese que enfrenta o fim de fundo do cabo de Tubo.   Bolt isto firmemente para
o fim de topo do meio-tambor de fundo que está em lugar.
 
<FIGURA 17>

11p23.gif (486x486)


 
Perfure um buraco pelo colarinho de parêntese de apoio e transporte como antes
--1 " longe da orla de parêntese, e grande bastante para aceitar um
1/2 " diâmetro bolt.  Insert um parafuso e aperta com lavadoras de fechadura
e noz.
 
Coloque o meio-tambor de fundo restante em sua posição marcada entre
os dois discos e foge em lugar.
 
Firme o disco de topo ao cabo de tubo:
 
*  firmam um dos meio-tambores de topo ao disco mediano.
 
*  deslizam no disco de topo--parêntese de apoio que enfrenta abaixo--e
   fogem ao topo do meio-tambor.
 
*  perfuram e trancam o parêntese de apoio ao cabo de tubo.
 
*  trancam o meio-tambor de topo restante em lugar.
 
Tranque qualquer tambor un-trancado restante põe entre parênteses aos discos.
 
Deixe aproximadamente 6 " de tubo que projeta além do topo disc.  Cut qualquer
tubo restante fora squarely, e remove qualquer extremidade afiada.
 
Arquive o dentro do tubo assim o topo cabo fim pedaço faz um empurrão
ajuste com o pipe.  Com o pedaço de fim em lugar, perfure um buraco
todo o modo por isto e o tubo, aproximadamente 1 " longe do fim de tubo.
Insira um 1/2 " x 2 1/2 " parafuso e aperte com lavadoras e noz.
 
Sente o topo cabo fim pedaço no porte no 2x4 " porte de topo
apoio beam.  Support cada fim da viga aproximadamente três pés fora o
fundamente, há pouco igual a viga de fundo.
 
MOVIMENTOS AGÜENTANDO
 
O rotor tem que girar livremente nos portes, sem resistência.
 
O cabo de tubo deveria estar a ângulos de direito para o avião de rotação de
cada bearing.  As vigas de apoio de porte deveriam ser paralelas a cada
other.  Se qualquer um dos portes você usa é ajustável com jogo-parafusos,
e o rotor não vira livremente bastante, solte o porte
da viga, ajuste o parafuso, e então aperte o porte atrás para
o beam.  Test o ajuste dando para o rotor uma Repetição de turn.  como
necessário até movimento liso é alcançada.  If não há nenhum modo para
ajuste a colocação de cabo nos portes que você usa, você pode ter
faça compensações leves na colocação do apoio de porte
vigas relativo ao cabo de tubo.
 
Equilibre o rotor de acordo com o doador de procedimento em página 39.  Final
deveriam ser feitos ajustes no rotor em seu final, posição vertical.
 
NOTE:  portes Novos podem ser duros até que eles estão quebrados dentro um pequeno.
por causa do (graxa) empacotando.   Turr o rotor várias vezes
começar este process.  não confundem movimento apertado com áspero
movimento.
COMECE A ERGUER A ARMAÇÃO DE ROTOR
 
Você pode ajuntar a armação e rotor no chão e então pode erguer em
posição; ou procede como segue.
 
Afunde dois 2x4 " madeira alta apoios de armação verticais no chão de forma que
o deles/delas dentro de superfícies estão 6 ' separadamente, e dois pedaços mais curtos de 2x4 " madeira
corrija para cima próximo à superfície interior de cada dos apoios mais altos.
Todos os apoios deveriam ser embutidos firmemente no chão.
 
O fundo do rotor deveria ser sobre cintura alto.   Cut cada do
apoios verticais altos longo bastante incluir a porção que será
no chão, a distância de chão para cintura, uma distância equivalente
para a altura do próprio rotor (do ponto onde o porte de topo
conhece o cabo ao ponto onde o porte de fundo conhece isto), mais
um pé extra ou assim.
 
O topo termina dos apoios mais curtos deveria ser pelo menos altura de cintura;
a fundo porte apoio viga descansará neles.   que Esta viga deve
esteja perfeitamente horizontal, assim tem certeza os fins dos apoios curtos
está alinhado às alturas certas.   Nail eles nos apoios altos.
 
<FIGURA 18>

11p25.gif (540x540)


 
FAÇA ÂNCORAS E PRENDA ARAMES DE SUJEITO
 
Você tem que prover algum tipo de âncoras e sujeito telegrafa para estabilizar o
rotor Força de frame.  e integridade estrutural não são importantes
só proteger a máquina em ventos altos, mas também assegurar mínimo
use nas partes comoventes em ventos ordinários.
 
Quatro ou seis destas âncoras de concreto trabalharão bem.   Se você substitui
algum outro dispositivo, tenha certeza conterá o chão firmemente
contra forte puxa isso pode ser mostrada pela máquina e pode ser moldada dentro
ventos altos.
 
Quente-forma 1/2 " aço grosso
varas para este shape.  Start
com sobre uns 2 ' comprimento para
cada pedaço.
 
<FIGURA 19>

11p26a.gif (317x317)


 
Faça para uma madeira Aguaceiro de mold. 
em uma mistura standard de
cimente, areia e
água.
 
<FIGURA 20>

11p26b.gif (437x437)


 
Empurre uma vara de aço formada
em lugar no molhado
concreto mix.  Allow para
fixe durante 24 horas, no
shade.  Tap o molde para
erga fora a âncora.
 
<FIGURA 21>

11p26c.gif (353x353)


 
Faça o resto das âncoras.   Quando todo seco--eles são mais fortes
depois de curar durante uma semana--os enterre no chão com a volta dentro
a vara de aço há pouco anterior a superfície de chão.   que As âncoras devem ser
colocada distante bastante longe da armação de rotor assim os arames de sujeito podem mostrar
um bem tira contra movimentos na estrutura--mas não tão longe
que os arames são muito longos e elásticos.
 
Prenda o sujeito telegrafa--arame bom, forte ou cabo--para as voltas de âncora
e atarraxar olhos (ou algum outro tipo de conector forte) colocou
se aproxime os topos da armação vertical alta apóia (tenha certeza
eles debaixo do ponto para onde os apoios serão cortados corretamente
posicione a topo porte apoio viga quando o rotor estiver em lugar).
Os faça apertado bastante agora para manter a armação de rotor em posição enquanto
instalando o rotor, mas não tão apertado que eles puxam os fins de topo
dos apoios verticais altos longe de um ao outro.   TURNBUCKLES
ao longo dos arames lhe ajudará a ajustar os arames para tensão de máximo
depois de instalar o rotor na armação.
 
ASSEMBLÉIA FINAL
 
Remova a fundo porte apoio viga, com agüentar fixo, de
o rotor assembly.  Place isto horizontally entre o alto vertical
apoios de armação com os fins que descansam nos fins de topo do mais curto
supports.  Hold vertical em posição e buracos de broca para madeira grande
parafusos pelos apoios verticais altos e em cada fim do
beam.  Screw a viga em lugar.
 
Na assembléia de rotor, meça a distância da superfície de fundo
do colarinho no fundo porte fim pedaço para a superfície de fundo
da topo porte apoio viga que está em lugar no cabo de tubo.
Some as densidades do porte de fundo que mora a este figure.  Mark
fora a distância desta medida total em cada armação vertical alta
apóie, enquanto começando acima da superfície de topo do porte de fundo
apoio Corte de beam.  fora o topo de cada squarely de apoio vertical a
esta marca.
 
Remova a viga de apoio de topo da assembléia de rotor e coloque
em cima dos fins grátis dos apoios verticais, afetando Cabo de top.  
ou segura em posição e buracos de broca para parafusos de madeira grandes por
isto e abaixo nos apoios verticais.   não dividem a madeira.
Remova a viga.
 
Eleve o rotor em posição.   Este é pelo menos um trabalho de dois-homem.
Abaixe o fundo cabo fim pedaço em seu porte, batendo,
suavemente se necessary.  Enquanto o rotor está sendo sustentado à mão,
posicione o topo beam.  Slide o porte abaixo em cima do pedaço de fim
no fim do cabo de tubo, batendo suavemente com um malho ou pesado
pedaço de Parafuso de wood.  os fins da viga abaixo no vertical
apoios.
 
Se a fundo porte apoio viga foi instalada perfeitamente nivelado,
e o cabo de tubo é vertical--a ângulos de direito para a viga, e
o porte de fundo está corretamente alinhado em seu alojamento, então o rotor,
deva girar suavemente naquele porte.   Se há alguma aspereza dentro
a rotação do pedaço de fim de cabo no porte de topo, você pode tentar
fazer ajustes mais adiante (em um porte ajustável) no
alinhamento deste bearing.  Se isso não faz o trabalho (ou o porte
não é ajustável), você pode tentar inserindo shims entre um fim ou
o outro da viga de topo e o topo termine do apoio vertical
até lá movimento liso do cabo está no porte.
 
É muito importante que a volta de rotor livremente.   Os portes,
especialmente o fundo um, poderia ser arruinada, com dano conseqüente para
o rotor e molda, se portes impróprios e procedimento de instalação
causa tensões incontroláveis e puxa continuamente como as voltas de máquina
no vento.
 
Leve seu tempo e seja tão diligente quanto você pode nestes passos finais.
É possível que você possa ter que fazer algo como o seguinte:
 
*  desmantelam o rotor da armação fazer ajustes.
 
*  aplanam abaixo a superfície de madeira de uma viga debaixo do porte ajustar
   o porte para a relação angular correta para o cabo de rotor.
 
*  vão para um porte melhor que um que você estava esperando trabalharia.
 
Tudo que você faz para adquirir o rotor que corre suavemente agora valerá
a dificuldade que você vai evitar depois assim.
 
Você pode achar isto mais fácil de fazer a assembléia final no chão dentro um
posição horizontal e levanta isto depois de assembléia por meio de cordas.
Pelo menos meia dúzia que são requeridos os homens para esta operação final.
 
Este é um desígnio de rotor de três-fase que o autor embutiu rural
Zambia.  por meio de cintos e um bicicleta roda talha mecanismo isto
é engrenada para dirigir um alternador automóvel ou gerador que
gera corrente elétrica que é armazenada em baterias automóvel.
 
<ROTOR 2>

11p29.gif (600x600)


Uma compreensão dos procedimentos seguiu ajuntando Rotor #1

11p08.gif (540x540)


o ajude reunindo este rotor.   que referências Específicas são
freqüentemente feita aqui a passos em Rotor #1 assembléia onde o mesmo
procedimentos ou outras informações aplicam, em lugar de repetir o mesmo
material; mas até mesmo em outros passos pode ser útil para ler por
o material correspondente dado para Rotor #1.
 
MATERIAIS
 
*  3 padrão 45 galão Imperial (55 galão de EUA) tambores de óleo
 
*  aproximadamente 32 ' de 12 " x largo 1 " tábuas grossas, ser usada em 3 1/2 - 4 1/2 ",
Comprimentos de   , para discos de rotor,
 
*  aproximadamente 10 ' de ângulo de aço para suspensórios de disco
 
*  aproximadamente 14 ' de tira de aço plana para suspensórios de disco
 
*  aproximadamente 5 ' de 1/4 " x grosso 1 1/2 " tira de aço larga, para disc/shaft,
   põe entre parênteses
 
*  aproximadamente 2 ' de 1/8 " x grosso 1 " tira de aço larga, para lid/shaft,
   põe entre parênteses
 
*  UNS 10 ' comprimento de tubo direto, 1 1/4 " nominal (quer dizer, não vá
   é exato) fora de diâmetro.
 
*  1 - 1 1/2 ' de barra de aço sólida, para fim de cabo FAZEM pieces.  See "
   CABO FIM PEDAÇOS, " página 21, Rotor #1 e página 38, Rotor #2 para
   considerações adicionais.
 
*  2 rolo ou rolamento de esferas, 1 " mínimo dentro de (cabo) diâmetro,
   com housings.  O porte de fundo tem que estar ego-alinhando em tudo
Direções de   .   See " PORTES, " página 18, Rotor #1.
 
*  6 madeira direta, robusta propele (4 - 8 " diâmetro), para armação de rotor:
   2 postes aproximadamente 17 ' longo para apoios verticais; 4 postes
   aproximadamente 10 ' longo para apoios horizontais.
 
*  aproximadamente 10 ' de 1/2 " diâmetro vara de aço moderada, para armação de U-parafuso,
   põe entre parênteses
 
*  aproximadamente 3 ' de 3/16 " ângulo de aço grosso, para parênteses de armação,
 
*  até 12 ' de 3/16 " ângulo de aço grosso por agüentar montes
 
Cimento de * , areia e água para fazer aproximadamente 4 pés cúbicos de concreto
   para âncoras
 
*  alguns pés de cerca de 1 " tábuas grossas para fazer molde de âncora
 
*  aproximadamente 8 ' - 12 ' de 1/2 " vara de aço de diâmetro, para voltas de âncora,
 
*  arame Forte ou cabo para sujeito Comprimento de wires.  precisado depende em
   numeram e arranjo de sujeitos que você usa.
 
*  Screw olhos ou outros conectores fortes para firmar arames de sujeito
   para armação de rotor
 
*  Um sortimento de parafusos, objetos pequenos, pesados loucos ou outros para
   equilibram o rotor
 
*  BOLTS. Não são listadas Nozes de  --cada parafuso levará uma noz do
   Nota de size.  apropriada:   Bolt comprimentos estão medidos do undersurface
   da cabeça para a gorjeta.
 
   *   para firmar parênteses de tambor a discos de madeira e para cada other:  sobre
      sessenta ou setenta 1/4 " x 2 "; duas vezes como muitas 1/4 " lavadoras de fechadura.
 
   *   para firmar suspensórios a discos de madeira:   aproximadamente cinqüenta ou sessenta 1/4 " x
      2 - 2 1/2 ", e duas vezes como muitas lavadoras de fechadura.
 
   *   para firmar disc/shaft põe entre parênteses para transportar shaft:  quatro 1/2 " x 2 1/2 ";
      oito 1/2 " lavadoras de fechadura.
 
   *   para firmar parênteses de disc/shaft a discs:  de madeira dezesseis 1/2 " x
      2 1/2 "; trinta-duas 1/2 " lavadoras de fechadura.
 
   *   para firmar lid/shaft põe entre parênteses para transportar shaft:  dois 1/2 " x 2 1/2 ";
      quatro 1/2 " lavadoras de fechadura.
 
   *   para firmar lid/shaft põe entre parênteses para meio-tocar tambor lids:  oito 1/2 " x
      2 1/2 "; dezesseis 1/2 " lavadoras de fechadura.
 
   *   para firmar porte monta em cima de agüentar apoio poles:  oito 1/2 "
      x 5 " - 7 "; dezesseis 1/2 " lavadoras de fechadura.
 
   *   para firmar portes a montes:   número apropriado e tamanhos,
      de acordo com os portes particulares você usa.
 
   *   dezesseis 1/2 " louco para parênteses de armação de U-parafuso; oito 1/2 " fechadura
Lavadoras de      .
 
para equipamento adicional:
 
*  para rotor brake:  2-3 ' de 2 " poste de madeira de diâmetro; dobradiça e parafusos;
   fonte de rolo pequena; alguns pés de corda; pedaços pequenos de borracha.
 
*  para talha de transmissão e holder:  andam de bicicleta roda sem pneu; 1 "
   tábua grossa, 1 pé quadrado; aproximadamente 4 ' de 1/4 " 2 " aço largo grosso
   tiram; alguns parafusos, nozes, lavadoras, e parafusos de madeira.
 
*  cansam tube(s interno) fazer cintos de transmissão.
 
*  até 6 ' de 3/16 " ângulo de aço grosso, números apropriados e tamanhos
   de parafusos, nozes e lavadoras de fechadura--montar alternador ou gerador.
 
   O equipamento seguinte deve ser compatível em operação
  --como se do mesmo automóvel ou outro semelhante
Sistema de    (o autor usou auto separa):
 
Alternador de *  ou gerador
 
*  voltagem regulador
 
*  armazenamento bateria ou baterias
 
*  arame satisfatório para gancho-ups
 
FERRAMENTAS (o autor usou só handtools para construir este rotor)
 
Hacksaw de * ; você também pode precisar de um cinzel de aço (cinzel frio),
   pode usar uma tocha de chama se disponível
 
*  outras ferramentas de mão--inclusive chave de fenda, viu martelo, em volta
   arquivam, lima de madeira ou lixa, lima de metal, cinzel de madeira, pequeno,
   que esculpe ferramenta, torceduras,
 
*  perfuram--trabalhos elétricos melhor--, e alguns tamanho diferente
Pedaços de   , para madeira e metal,
 
*  nivelam; medindo fita ou regra; direito-ângulo honestamente
 
Acesso de *  para uma forja simples, ou alguma facilidade para cortar e formar
   aço moderado
 
*  que enfia ferramenta para enfiar 1/2 " vara de aço--se você faz
   metal rotor armação parênteses
 
*  cavam com pá
 
Você pode ter que achar alguém ou algum modo a máquina um cilíndrico
superfície do diâmetro apropriado sobre barra de aço, ajustar em
portes.
 
FAÇA PARA MADEIRA DISCOS
 
Faça para dois madeira discs.  Neste desígnio há só um disco ao topo
e um disco ao fundo do rotor; não há nenhum disco entre o
fases.
 
Para cada disco, ponha quatro 12 " tábuas largas (1 " grosso) lado a lado.
Embora as tábuas possam ser comprimentos diferentes, eles devem ser organizados assim
um 48 " círculo de diâmetro pode ser localizado neles.
 
Alinhave junto temporariamente as tábuas para cada disco.   Trace o circular
esboço dos discos sobre cada fixada de tábuas com um lápis no fim
de um 24 " comprimento de fio que é fixo ao outro fim para uma unha
dirigida em um ponto marcado como o centro.   Check a precisão do
circule medindo do centro à extremidade em vários lugares.
 
<FIGURA 22>

11p33a.gif (393x486)


 
Firme e suporte as tábuas junto com duas tiras de metal paralelas
e tiras de auxilio pequenas em lado oposto cada--duas ângulo-formas
para o fora do círculo e duas tiras de apartamento mais próximo o centro.
 
Corte cada disco para amoldar ao longo da extremidade do círculo você localizou.
 
No lado de unbraced de cada disco, localize um 8 " círculo de diâmetro ao redor
o center.  Draw uma linha de diâmetro em cada disco, a ângulos de direito para o
costuras entre as tábuas.
 
Corte um quadrado com 2 " lados ao centro de cada disc.  Center o quadrado
tão com precisão quanto possível.
 
<FIGURA 23>

11p33b.gif (353x486)


 
Prepare seis meio-tambores de três padrão
45 galão imperial (55 galão de EUA) tambores de óleo.
Se vá qualquer tampa removível, e corte cada
toque tambor vertically em dois igual meio.
 
<FIGURA 24>

11p34a.gif (353x353)


 
Da mesma maneira mostrada em página 11 dentro o
instruções para Rotor #1, faça parênteses de tambor
firmar os meio-tambores aos discos de madeira,
e para cada other.  Duas pilhas de três meio-tambores
cada formará este rotor.  A aproximadamente
cinco (ou mais) pontos em cada fixada de unir
extremidades fazem os parênteses se alinhar uniformemente
bastante para perfurar um buraco por cada par
(veja desenho abaixo).
 
Se os tambores cada teve uma tampa removível a
um fim, você também tem que levar se preocupe planejar
que haverá uma tampa em um meio-tambor a cada ponto de ligação entre
as fases do rotor--prover uns meios de anexo
para o cabo de rotor.
 
Os parênteses nas extremidades de meio-tambor que firmarão à madeira
discos podem estar preparados sem levar em conta alinhamento.   Como em Rotor #1,
perfure em todo terço ou quarto parêntese.
 
Marque cada meio-tambor como você prepara isto deste modo dentro, assim você saberá
qual ones pertencem junto.
 
Perfure todos os buracos grande bastante aceitar 1/4 " parafusos.
 
<FIGURA 25>

11p34b.gif (353x353)


 
AJUNTE OS MEIO-TAMBORES E DISCOS
 
Coloque a extremidade apropriada de um dos meio-tambores que
firme a um disco sobre o lado marcado do fundo
disco (o um com o encaixe ao redor da extremidade).   Touch
as duas gorjetas para o diâmetro marcado enfileiram, e o interno
incline à circunferência do 8 " diâmetro marcado
circle.  Starting com as gorjetas, perfure pelo
buracos nos parênteses de tambor no disco, trancando
como você vá com 1/4 " diâmetro tranca, louco e
feche lavadoras.
 
<FIGURA 26>

11p35a.gif (227x534)


 
Repita este procedimento para firmar o outro
meio-tambor para este mesmo disco, colocando isto
defronte o primeiro meio-tambor e alinhando o
gorjetas da mesma maneira.
 
Repita este procedimento inteiro para firmar os dois
meio-tambores apropriados para o disco de madeira de topo,
TENDO CERTEZA PARA REFLETIR A CONFIGURAÇÃO EM
O DISCO DE FUNDO.
 
Complete a assembléia dos tambores e discos
trancando (ou rebitando se você deseja) o
meio-tambores restantes em lugar entre o
duas assembléias de disc/half-tambor.   Follow seu
marcas nos meio-tambores para adquirir o direito
juntas together.  Qualquer mudança em forma em
os meio-tambores causados controlando podem ser
supere pressão à mão.
 
Corte um triangular-amoldou entalhe com
2 " lados em cada tampa de meio-tambor
entre fases, centrou 4 " do
dentro de extremidade de cada stack.  Estes
entalha ajustará ao redor do tubo
cabo.
 
<FIGURA 27>

11p35b.gif (437x437)


PREPARE PRENDER DISCOS E MEIO-TAMBORES PARA TRANSPORTAR CABO PARA PARÊNTESES
 
Prepare quatro disc/shaft põe entre parênteses cada do seguinte dois tamanhos
de tiras de aço (oito parênteses completamente).   Estes parênteses
prenda os discos de madeira ao cabo de tubo.
 
<FIGURA 28>

11p36a.gif (437x437)


 
Dobre ângulos certos em
Broca de steel.  quente vermelha
buracos para aceitar 1/2 "
parafusos quando as tiras
está fresco.
 
<FIGURA 29>

11p36b.gif (437x437)


 
Faça quatro parênteses de lid/shaft
do tamanho seguinte de
acere strips.  que Estes prenderão
tampas de meio-tambores entre
rotor organiza ao cabo de tubo.
 
<FIGURA 30>

11p36c.gif (437x437)


 
AJUNTE O ROTOR
 
Selecione uns 10 ' comprimento de tubo de aço direto com uns 1 1/4 " nominal
(quer dizer, não será exato) fora de diâmetro.
 
Empurre o tubo pelo buraco quadrado em um dos discos de madeira,
pelo entalha nas tampas de meio-tambor, e fora o buraco quadrado
no disco de madeira ao outro fim do rotor.   Aproximadamente igual
comprimentos do tubo deveriam estender fora de cada fim do rotor (a
menos 6 " em cada fim).
 
Firme 4 disc/shaft põe entre parênteses--2 de cada tamanho--em uma formação atravessada
sobre a superfície externa de um dos discos de madeira, de forma que os 5 " braços,
está no disco e os braços mais curtos fazem pares opostos contra
o tubo shaft.  Os parênteses com 2 1/2 " braços verticais deveriam ser
em frente a um ao outro, e os parênteses com 3 1/2 " braços verticais
deva estar em frente a um ao outro.   Place eles primeiro, marque as posições,
e perfura 1/2 " diâmetro fura pelos buracos de parêntese em
o disco de madeira e no cabo de tubo.   Insert 1/2 " x 2 1/2 " parafusos
e aperta com nozes e lavadoras de fechadura.   Os 2 parafusos pelo tubo
forme uma cruz, um sobre o outro.
 
<FIGURA 31>

11p37.gif (353x353)


 
Repita este procedimento com os 4 parênteses de disc/shaft restantes no
disco de madeira e o cabo de tubo ao fim oposto do rotor.
 
Firme pares do menor, lid/shaft põe entre parênteses às tampas de meio-tambor
e o cabo de tubo em cada lugar onde as tampas são entalhadas para deixar
a passagem de cabo de tubo por.   Place eles defronte um ao outro, um em
cada meio-tambor lid.  Use 1/2 " x 2 1/2 " parafusos, nozes e lavadoras de fechadura.
 
<FIGURA 32>

11p38.gif (393x393)


 
PORTES
 
Termine pedaços prendidos ao topo e fins de fundo do cabo de rotor cada
descanse em um rolo ou rolamento de esferas montou em postes de apoio horizontais.
Isto assegura rotação lisa e eficiente.   é importante selecionar
portes bons e os instala corretamente (portes usados bons podem
seja usada).
 
Siga as mesmas considerações cedidas PORTES, " página 18, Rotor #1.
 
FAÇA PEDAÇOS DE FIM DE CABO
 
Pedaços de fim de aço sólidos firmados aos fins do cabo de tubo provêem
superfícies lisas para ajustar nos portes.
 
Veja " FAÇA CABO TERMINAR PEDAÇOS, " página 21, Rotor #1 para informação específica.
Para este rotor, podem ser feitos ambos os pedaços de fim de cabo o mesmo--como o
pedaço de fim de topo em Rotor #1.  do que Nenhum comprimento extra é precisado no fim de fundo
pedaço para prender a um cabo de extensão de bomba.
 
PRENDA OS PEDAÇOS DE FIM AO CABO DE TUBO
 
Corte cada fim do squarely de cabo de tubo aproximadamente 3 " além das extremidades
dos parênteses de disc/shaft--se há tanto tubo; se não,
simplesmente tem certeza que os fins são aparados squarely.   Se necessário,
arquive as superfícies interiores a accomodate cada pedaço de fim de cabo.
 
Empurre o fim de tubo de um dos pedaços de fim em um fim do tubo
até os restos de colarinho no fim do tubo.   Mark 1 " do fim
do tubo com uma Broca de punch.  um 1/2 " buraco pelo tubo e o
termine pedaço, e deburr it.  Keeping o pedaço de fim em lugar, tranque por
o buraco com um 1/2 " x 2 1/2 " parafuso e aperta abaixo com noz e fechadura
lavadoras.
 
Repita o procedimento são para o outro pedaço de fim no outro fim
do cabo de tubo.
 
EQUILIBRE O ROTOR
 
Prepare dois tripés de poste de madeira simples.   Place o porte de topo em um
e o porte de fundo no outro.   Suspend o horizontally de rotor
entre os tripés, com os pedaços de fim de cabo no bearings.  O
portes têm que estar operando suavemente para descobrir qualquer outra causa
de movimento desigual no rotor.
 
<FIGURA 33>

11p39a.gif (317x393)


 
Dê para o rotor alguns torções.   Se tende
pare toda vez na mesma posição, então o lado,
isso vem descansar a fundo é o " lado " pesado.
Grave um ou mais parafusos perto da extremidade do
lado de topo de cada disco de madeira--número igual em
cada disc.  Spin o rotor again.  Keep que ajusta
o número, tamanho e posição dos parafusos até
o rotor pára em qualquer posição.
 
Buracos de broca nos discos aproximadamente 1 1/2 " do
afie nas áreas onde os parafusos eram temporariamente
prendida e os insere nos buracos.   Se você
perfure os buracos ligeiramente Menor que o exterior
diâmetro dos parafusos, então os parafusos podem ser
virada dentro como screws.  Otherwise os firme com
louco e lavadoras; se você faz isto então as nozes e
devem ser usadas lavadoras no processo de balanceamento.
 
<FIGURA 34>

11p39b.gif (317x317)


 
Depois que são colocados os parafusos de balanceamento ou pesos equivalentes em posição,
gire o rotor novamente para ter certeza é bem equilibrado.   Se o rotor
é pobremente equilibrado tremerá separadamente a velocidades mais altas.
 
A ARMAÇÃO DE ROTOR
 
A armação que apoiará o rotor está na mesma configuração básica
como a armação de apoio para Rotor #1, com estas diferenças,:
 
* é mais alto
 
* é mais largo, dar quarto para uma talha e um alternador ou
  gerador ascensão.
 
* usa postes de madeira localmente cortados em vez de tábuas às que estão cortadas
  uma serraria.
 
* os apoios horizontais (agüentando apoios) está em pares--entalhado
  e pôs entre parênteses, chicoteou ou caso contrário firmou ao redor do vertical
  apóia.
 
Corte a madeira mais direta, mais forte propele você pode achar (4"-8 " diâmetro).
 
A armação é projetada para combinar força e simplicidade de construção.
 
Devem ser firmadas junto com firmeza juntas na armação.   que Um modo é
fazer 4 parênteses de armação de 1/2 " diâmetro aço moderado Curva de rod. 
comprimentos satisfatórios para uma U-forma enquanto vermelho quente.   Thread os fins.   Drill
2 buracos em uma seção de ângulo de aço para accomodate os fins do
U-parafuso.
 
<FIGURA 35>

11p40.gif (540x540)


ÂNCORAS E ARAMES DE SUJEITO
 
A armação de rotor deveria ser estabilizada com pelo menos 4 (preferivelmente 6)
sujeito telegrafa correndo da armação a âncoras que são embutidas firmemente
no ground.  See " FAZEM ÂNCORAS E PRENDEM o SUJEITO TELEGRAFA, " página 26,
Rotor #1 para um desígnio de âncora e infortnation em sujeito wires.  não Fazem
prenda o sujeito telegrafa agora; a armação será ajuntada a este rotor antes
é elevado em posição.
 
COMECE A AJUNTAR A ARMAÇÃO
 
Será melhor ajuntar o rotor e moldar no chão, e
então eleve em posição--desde que a estrutura inteira é tão alta.
 
O fundo do rotor deveria ser pelo menos cintura alto; tão cortado o
apoio vertical propele longo bastante para incluir:   uns 2 ' ou 3 ' porção
isso estará no chão; a distância de chão para cintura; um
distância equivalente à altura do rotor (de fim de tubo para
fim de tubo); mais um pé extra ou assim.   (de Isto deveria se lembrar o
mais alto você monta o rotor sobre chão o melhor.)
 
Ponha os apoios verticais aproximadamente 8 ' separadamente, compare a um ao outro.
Coloque um par de 10 ' postes em frente a um para o outro, de forma que eles
cruze os apoios verticais a pontos que serão sobre cintura alto,
e a ângulos de direito para os apoios verticais. Estes serão o
apoios de porte de fundo.
 
Confira para ângulos de direito, e marque os lugares onde toda a cruz de postes.
Entalhe todos os postes um pequeno nestes lugares.   Fasten junto, conferindo
manter os ângulos certos.
 
Se você está usando que U-parafuso põe entre parênteses para firmar os postes, aperte o
ângulo de aço contra a madeira com nozes e lavadoras de fechadura, e então
aperte outra noz contra cada noz, por fechar extraordinariamente.
 
FAÇA PORTE MONTA; INSTALE O FUNDO MONTE E AGÜENTANDO
 
Cada um dos 2 alojamentos de porte trancará o dentro de ângulo de aço
assembléias que são trancadas o topo e apoio de porte de fundo ao redor
postes.
 
Considerando que os fundo porte apoio postes já são instalados, você pode
julgue os comprimentos de aço ângulo-precisaram atravessar o porte de topo
apoio propele also.  Cut 8 comprimentos de aço angle.  Drill um 1/2 "
fure a cada fim de todos os 8 pedaços.   Position os buracos assim eles vão
se alinhe vertically entre si quando os pedaços de ângulo são emparelhados.
 
Trabalhe do ponto de centro de cada pedaço.   Drill buracos no topo dois
pedaços de cada monte de porte para acomodar os portes particulares
você vai usar.
 
Instale o bottorn montam sobre o apoio de porte poles.  Place isto
em cima de para um lado, deixando bastante quarto para o disco de rotor de madeira
clarear o apoio vertical.   Center o monte pelos postes.
Fuja em lugar com nozes e lavadoras de fechadura.
 
Remova o porte de fundo do fim do rotor no tripé
e instala sobre o monte com parafusos, nozes e lavadoras de fechadura.
 
<FIGURA 36>

11p42.gif (353x353)


 
AJUNTE O ROTOR E ARMAÇÃO
 
Remova o frorn de rotor os tripés e ponha no ground.  Bring
a porção da armação de rotor que é completada para cima ao redor de Empurrão de it. 
o fundo cabo fim pedaço como longe abaixo como entrará em seu porte,
que há pouco esteve montado sobre os postes de apoio.
 
Ajunte o monte de porte de topo e agüentando livremente sobre o topo
agüentando apoio propele, em posição aproximada.
 
Traga os topo porte apoio postes em posição, enquanto escarranchando o
supports.  Slide vertical (bata suavemente se necessário) o porte
em cima do topo cabo fim pedaço do rotor até onde irá.
 
Confira estes alinhamentos:
 
*  O cabo de rotor deveria ser paralelo aos postes de apoio verticais.
 
*  Os topo porte apoio postes deveriam ser paralelos ao fundo
   que agüenta postes de apoio.
 
*  O avião de rotação do porte de topo deveria ser perpendicular
   (a ângulos de direito) para o rotor shaft.  Isto também aplica para o
   assentam porte.
 
Marque, e então entalhe, os topo porte apoio postes e o vertical
apoios onde eles cross.  Fasten eles junto, mantendo tudo
alignments.  Tighten o porte de topo para seu monte e o monte para
o apoio propele.
 
Apóie o horizontally de armação, com o rotor nisto, em temporário
apoios alto bastante fora o chão assim você pode girar o rotor.  O
rotor tem que girar livremente nos portes, sem resistência.
 
Confira todos o shaft/bearing de frame/rotor montam alinhamentos.   que Você pode fazer
ajustes angulares nos montes de porte inserindo bom-de tamanho,
shims.  Loosen robusto e retighten tranca e louco como necessário.
 
Se qualquer um dos portes você uso é ajustável com jogo-parafusos,
você pode ajustar mais adiante para movimento liso.   Loosen o porte
ligeiramente do monte fazer estes ajustes; então re-aperte.
 
NOTE:  portes Novos podem ser duros até que eles estão quebrados dentro um pequeno,
Por causa do (graxa) empacotando.   Turn o rotor várias vezes
começar este process.  não confundem movimento apertado com áspero
movimento.
 
Podem ser feitos melhor ajustes finais quando o rotor está em seu final,
posição vertical.
 
INSTALE A ARMAÇÃO NO CHÃO E APÓIE COM ARAMES DE SUJEITO
 
Determine onde você colocará suas âncoras e os enterrará dentro o
fundamente, com os conectores para os arames de sujeito que permanecem sobre chão.
 
Prenda olhos de parafuso, ou alguns outros conectores fortes, se aproxime o topo de
a armação de rotor e firma arames de sujeito a eles.
 
Cave dois furam 2 ou 3 ' fundo, 8 ' separadamente.   Raise o rotor e molda para cima
vertically, colocando os apoios verticais no holes.  Isto é
pelo menos um seis-homem job.  ao que O fundo do próprio rotor deveria ser
menos cintura high.  Pack terra firmemente ao redor dos apoios verticais em
os buracos.
 
Tire arames de sujeito apertado pelos conectores nas âncoras, e
firme them.  Turnbuckles instalou ao longo dos arames o ajudará
ajuste os arames para tensão de máximo.
 
Leia do princípio ao fim os últimos parágrafos de " ASSEMBLÉIA FINAL, " Rotor #1,
começando com o último parágrafo em página 27.   As mesmas considerações básicas
aplique (excluindo qualquer aplanando das vigas).
 
CONSTRUA E INSTALE EQUIPAMENTO ADICIONAL
 
Freio de rotor
 
Um freio mão-operado pode reduzir a velocidade ou pode parar o rotor em ventos altos que
possa danificar it.  Attach um poste de madeira borracha-acolchoado (de cerca de 2 " diâmetro)
em uma dobradiça para o apoio vertical próximo ao rotor, ao
altura exata da extremidade de madeira do disco de rotor de fundo (quer dizer, não
em cima do encaixe onde o cinto de transmissão será).   que UMA fonte mantém
a alavanca de freio longe do disco.   Pull uma corda (traspassando um
guia prendeu ao apoio vertical) trazer o borracha-acolchoado
fim da alavanca contra o disco de rotor.
 
<FIGURA 37>

11p44.gif (353x353)


 
Uma fechadura positiva pode ser feita perfurando um buraco perto da extremidade do
assente disco de rotor para acomodar uma 1/2 " vara em um pedaço de cord.  O
vara se ocuparia um buraco de um prato pequeno atarraxado ao porte de fundo
postes de apoio debaixo do disco de rotor.
 
Talha de transmissão
 
Faça uma talha de uma roda de bicicleta (sem pneu) e um disco de madeira.
Os ajunte sobre um " garfo " e firme a assembléia inteira sobre o
armação de rotor com um parêntese.
 
Corte um 10 " disco de madeira de diâmetro de um 1 " board.  Cut grosso um arredondou
entalhe em sua extremidade que é 1/2 ' largo e 1/2 " deep.  Drill um buraco
no centro do disco aceitar o fim da roda de bicicleta
axle.  Drill 3 buracos no disco em um arranjo simétrico
ao redor do centro hole.  Slip o disco em cima do eixo de roda de bicicleta
e parafuso tight.  Push parafusos pelos 3 buracos, pelo
raios de roda de bicicleta, e em pratos pequenos enganchados atrás dos raios--aperte
feche lavadoras e nozes sobre os fins de parafuso atrás o pequeno
pratos.  The encabeça destes 3 parafusos deve ser countersunk no
disco de madeira assim eles não projetam sobre sua superfície--os manter
fora do modo do parêntese grande, ou " aforquilha " que segurará o
roda e disco para a armação de rotor.
 
Faça um garfo " U-amoldado " de 1/4 " tira de aço grossa que mede 2 "
across.  Start com um pedaço aproximadamente 3 ' muito tempo.
 
Faça um parêntese de 1/4 " tira de aço grossa, 2 " por.
 
Firme o proprietário de talha ao eixo de roda de bicicleta.   Bolt o pequeno
ponha entre parênteses ao proprietário de talha.
 
Corte um encaixe na armação de rotor apoio vertical que é alguns
pés distante do rotor.   Make o encaixe no lado de fora do
propela, ligeiramente sobre os fundo porte apoio postes, e a uns 15 - 25 [grau]
pesque o horizontal.
 
Atarraxe o parêntese no que é trancado ao proprietário de talha o vertical
apoio a este encaixe, com parafusos de madeira grandes.
 
<FIGURA 38>

11p45.gif (393x393)


 
Um cinto de transnission pode ser feito de um tubo interno automóvel velho,
contanto a borracha ainda é elástica.   Um aproximadamente 1 " largo
tira é spirally " cortado " ao longo do tubo com uma lâmina de navalha de forma que
é um strip.  Well contínuo mais de 100 ' de tal tira pode ser cortada
de um tube.  interno Isto é então trançado, e deu laçada ao redor do
encaixe do disco de rotor de fundo e o encaixe no 10 " disco de madeira
isso vira com a roda de bicicleta.   Tighten o cinto, corte sobrepondo,
fins, amarre um nó, e enterre o nó na borracha trançada.
ALTERNADOR OU GERADOR
 
Monte um automóvel (ou outro semelhante) alternador ou gerador sobre
os fundo porte apoio postes do rotor moldam, entre o
rotor e o apoio vertical com a talha de transmissão nisto.
Parafusos de uso, tiras de aço e ângulos de aço para afiançar isto, e uma madeira
entale para inclinar isto a uns 10-20 [graus] ângulo.
 
<FIGURA 39>

11p46.gif (486x486)


 
Faça outra transmissão cingir e dê laçada ao redor da roda de bicicleta
e a talha no alternador ou gerador.
 
CONEXÕES ELÉTRICAS
 
As conexões de arame e outro equipamento elétrico como voltagem
regulador deveria ser semelhante a esses em automóveis.   Preferably
equipamento satisfatório do mesmo automóvel deveria ser usado.
 
NOTE:  tão pequeno quanto possível alternator/generator deveriam ser usados como
as máquinas mais poderosas não virarão nos ventos mais claros.
 
São mostrados dois diagramas de instalação elétrica típicos.   Padrão automóvel partes
poderia ser usada mas deve ser compatível.   Que é, uma voltagem apropriada,
regulador para o alternador e a bateria ser carregada deve
seja used.  (limitação Espacial aqui não permite elaboração no
Referência de equipment.  geradora deveria ser feita à literatura
no assunto ou um auto-mecânico experiente deveria ser consultado.)
O alternador e o circuito de gerador deveriam ser principalmente
igual a esses nos carros de motor dos quais eles eram afastados.
 
Alternadores de          ou geradores requerem menos rpm do rotor
cortar dentro " e começar eletricidade geradora.
 
<FIGURA 40>

11p47.gif (600x600)


 
APÊNDICE DE                             
 
Uma Avaliação de Algumas Publicações de S-rotor. . .
 
1.  O Rotor de Asa teoricamente e Pratica, por Sigurd J. Savonius,
    ENG. Capt. Lt.N.R., publicou por Savonius & Cia., Helsingfors,
    Finlândia, 1925, 39 pp.
 
Escrita pelo inventor da máquina de vento, este folheto descreve
princípios de operação, construção de modelos vários construída pelo
inventor, e algum teste resulta nesses modelos.   que UMA comparação é
feita com o desempenho do rotor e alguma multi-lâmina standard
windmills.  que As conclusões que Savonius tirou dos testes dele parecem
contradizer a experiência de tudo outros:   que ele reivindicou que seu
rotor era consideravelmente mais eficiente que um moinho de vento de multiblade
da área de superfície varrida comparável.
 
Como os detalhes de experiências de Savonius' não é determinado, é
impossível dizer onde ele errou.   comparando as curvas em
gráfico #1, pode ser visto que os resultados dele são mais otimista que

11p02.gif (540x540)


esses obtidas por outros.
 
2.  Como Construir uma Máquina de Vento Barata por Bombear Água, Fazer-isto-você,
    Folheto #5, 1965 de fevereiro, por UM. Bodek, publicado por,
    Brace Instituto.
 
Este folheto apresenta um bastante único método de construir um S-rotor
de 45 (Imperial) galão tambores de óleo.   que Os passos de construção são
um pouco delineado e pode não dar bastante detalhe para alguém
familiar com procedimentos de construção.
 
Deveriam ser especificados materiais alternativos e métodos de construção
por fazer os discos, ou pratos de fim, em condições como esses,
prevalecendo em países em desenvolvimento--plywood ordinário sempre não é
disponível ou disponível; e qualidade marinha é longe melhor nisto
aplicação de qualquer maneira.
 
Um desígnio é determinado para transmitir um movimento rotativo em um reciprocar
movimento satisfatório por operar um pistão ou uma bomba de diafragma.
Mas eu penso que as perdas de fricção do sistema proposto vão
seja considerable.   Also, a bomba de diafragma sugerida tem vários
limitations:  estrutural é comparativamente grande em diâmetro e
então bastante inadequado para um borehole; deve ser afiançado ao
fundo do borehole contra o puxe da vara conectando--um
proposição muito não prático.   A bomba não é satisfatória para grande
cabeças de água; os 15 ' (5m) cabeça sugerida no exemplo tem
pequena aplicação prática.   Porque a estrutura comovente e o
vara conectando é bastante pesada, eles absorverão uma porção significativa
do energy.  disponível parece provável que o diafragma de
da bomba não desejará por último.   E desde que a bomba tem que ser imobilizada
ao fundo do bem, mudando o diafragma poderiam ser
muito difícil.
 
A estrutura de apoio requer soldadura--difícil fazer dentro o
village.  comum E uma combinação de borracha é precisada acasalar alguns
superfícies--também difícil achar em uma aldeia.
 
Como determinado, a curva do plotted de velocidade de vento contra água entregada
a uns 10 ' cabeça só aplicará nas melhores condições.
 
Não há nenhuma provisão por governar ou frear sistemas que são
necessário proteger o dispositivo em ventos muito fortes.
 
3.  Desempenho Testa de Rotor de Savonius, por M. H. Simmonds e
    UM. Bodek, Instituto de Pesquisa de Cinta Relatório Técnico Nenhum. 5.
 
O método por testar o rotor é bastante preciso e apropriado.
O plotted de coeficiente de poder contra relação de velocidade de gorjeta para vários
vento poder máquinas espetáculos corretamente que o rotor tem o mais baixo
coeficiente de desempenho (é o menos poderoso).
 
Curvas de teste várias incluídas no relatório são muito úteis para um
desenhista e ajudará com tomar uma decisão inteligente sobre
se a máquina trabalhará em uma determinada condição de vento.
 
As conclusões cedidas o resumo, porém, insinuam que o rotor
é satisfatório para bombear água em relativamente baixas velocidades de vento--o qual
Eu acredito para ser falso.
 
4.  Uma Investigação Na Conveniência de Rotor de Savonius para o
    Use como uma Fonte de Poder em países Subdesenvolvidos, por UM. N.
    BYMER.   Faculdade de Ciência Imperial e Tecnologia, Londres S.W.7.
 
O relatório descreve um exercício construindo e testando um S-rotor.
Este rotor foi colocado horizontally que não é uma posição típica
para o rotor.  devido a dificuldades várias, os erros lendo
é mesmo high.  que O relatório dá para uma bibliografia limitada e para tentativas
fazer uma avaliação de méritos econômicos do rotor.   O general
conclusões são que a máquina não é muito poderosa; mas pode ser
satisfatório por bombear quantias limitadas de água.
 
5.  O S-rotor e suas Aplicações, por S. J. Savonius.  Mechanical
    Engineering Vol. 53, 1931 de maio, Não. 5.
 
O autor descreve o trabalho mais cedo dele e o experimental dele e
comparação teórica de máquinas de vento várias com o S-rotor.
Ele reivindica 30% eficiência pelo S-rotor dele contra 20% como o mais alto
máximo teórico para todo o airwheels de vertical-cabo, calculou por
Professor Betz.  O próprio autor estados que " Ou o autor
testes e resultados estavam completamente a falta, ou fazendo o deles/delas
cálculos teóricos Professor Betz e a Escola alemã de
peritos aerodinâmicos tinham negligenciado algo de importância. "   De
os resultados de numerosos testes através de outros, é bastante evidente que
Savonius' " testa e resultados estavam completamente a falta ".
 
A velocidade de gorjeta ótima para arejar relação de velocidade de cerca de 1.0 achou por
Savonius parece estar correto; isto é confirmado em testes através de outros.
 
Numerosas aplicações são determinadas o rotor alguns dos quais é questionável
e mais razoável.
 
O autor propõe dois alternativa que freia sistemas, i.e., um freio
toque tambor, e " freios de ar que consistem em pontas pequenas das quais desdobram
a superfície de asa quando uma velocidade predeterminada é excedida. "   According
para o relatório, o desempenho do rotor em água é análogo a isso
em ar, levando em conta as diferenças nas densidades do
dois media.  As reivindicações de autor que 1.6 cavalo-vapor por metro quadrado
de área de superfície a uma velocidade de água de 2 metros por segundo foi atingida.
 
Uma aplicação interessante e possível descrita é a colocação de
o rotor com seu eixo em uma posição horizontal de forma que isto é virado
pela onda motion.  que UM dispositivo deste tipo foi instalado em Mônaco
ao redor 1930 e inflou água 200 ft.   UMA produção de poder de 1.8 para
2.7 HP por metro quadrado é reivindicado a uma velocidade de onda de 3 metros por
segundo.
 
6.  Desígnio, Desenvolvimento e Prova de uma Baixa Cabeça, Eficiência Alta,
    Máquina de Energia Cinética, por Russel B. MACPHERSON, U. Massa. Escola
    de Criar, Amherst, Massachusetts.
 
O papel apresenta vento túnel teste dados em um S-rotor Curvas de model. 
é plotted que mostram relações entre eficiência, velocidade de rotor e
dê poder a output.  UM diagrama de torque polar é given.  que As curvas de teste são
de algum uso para o desenhista, e indica uma bastante baixa capacidade de
o S-rotor, menos em ventos muito altos.
 
7.  Apêndice C.   O Rotor de Savonius.   UM Estudo Administrou para o
ESCRITÓRIO DE     DE PESQUISA DE PRODUÇÃO E DESENVOLVIMENTO, PRODUÇÃO DE GUERRA,
TÁBUA de    , Washington, DC, 31 de janeiro de 1946, Criando Pesquisa,
Divisão de    , Universidade de Nova Iorque.
 
O artigo descreve testes em um modelo em um vento tunnel.  Os resultados
é tabulada, e eficiência de vs de poder, rpm de vs de poder do S-rotor,
e rpm de vs de eficiência das curvas de rotor são plotted. Análise de   de um
rotor hipotético operando em um 30 mph vento e desenvolvendo 1000 kw
era made.  O rotor teria que ser 360 ft alto, montado em um 50 ft
funde, e tenha um diâmetro de 60 pés   O custo calculado de
construindo tal um rotor de Savonius era muito mais alto que para um axial
moinho de vento de fluxo que produz o mesmo poder.
 
8.  Vento e Windspinners, por Michael UM. Hackleman e David W. More,
    publicou através de Impressão de Imprensa de Paz e Publicando, 3 28 Willat Ave.,
    Culver Cidade, Califórnia 90230 E.U.A..
 
Vários capítulos em tais fundamentos como conceitos de energia e geração
de eletricidade é incluída neste livro, mais alguma construção,
information.  As explicações estão claras, mas em cima de-simple.  O livro
contém muitas contradições e erros numéricos.   Overall, o
autores superestimam as capacidades do S-rotor.
 
Em alguns exemplos pode estar que erratas são responsáveis por dados
isso está em erro por até um fator de 101 (Em capítulo 7,
figuras para poder gerado deveriam ser 82.85 watts em vez de 828.495
watts, e 37.5 watts em vez de 373.5 watts.)   Em outros casos, o
erros combinam com otimismo sem assistência confundir ou enganar o
reader.  Mesa 1 em página 96 contém erros aritméticos, e mais adiante,
folhas leigo debaixo da impressão que o S-rotor é capaz de
vários quilowatts gerando de eletricidade que poderia ser só o
caso em um furacão--que assoaria a estrutura inteira fora.
A mesa começa fora com uma velocidade de vento de 32 mph; há poucos
lugares no mundo onde ventos fixos são aquele alto.
 
A " lei " de cubo que pertence para arejar energia simplesmente é explained.  O
seção em geradores e alternadores são úteis para um leigo que
quer saber algo sobre a aplicação deles/delas.   O capítulo em
baterias detalham como escolher, custo e teste batteries.  Isto
especificamente aplica a condições americanas, e seria de pequeno
use a alguém em um país em desenvolvimento.   Likewise, o capítulo em
" Usando Eletricidade " aplica a condições americanas.
 
Os autores provêem informação sobre o que eu acredito para ser bastante caro
e complicado controle sistemas.
 
Construção de detalhe é descrita para três desígnios alternativos.   O
são feitos pratos de fim de plywood (usa qualidade marinha se você usar plywood!).
O método de localizar centro aponta e marcando círculos
é descrita em detail.  que óleo Cortante toca tambor pela metade com uma tocha de gás,
como sugerida, seria não prático em um país em desenvolvimento; pode ser
feita bastante facilmente com um martelo e frio-cinzel. L-parênteses de   são
prenda meio-tambores a discos em vez dos lábios dos tambores.
A " assembléia de esqueleto " que é a alternativa ao desígnio básico
parece complicada desnecessariamente e caro.   Como o autor sugere,
seu único mérito poderia ser para propósitos experimentais.
 
Portes indicados não têm que ser ambos orla montada e excêntrico-fechando.
O porte de fundo deveria ser orla-montado preferivelmente
e ego-alinhando, mas a necessidade de porte de topo não é.
 
Os autores não recomendam usar um tubo de água para o cabo do
rotor.  Em ambos meus S-rotores eu usei tubo de água ordinário e
não experimentou nenhum problema.   O método sugerido de usar orlas
e enfiou mamilos é desnecessariamente caro, particularmente em um
país em desenvolvimento.
 
São sugeridos dois tipos básicos de apoiar estrutura:   a pessoa é um vertical
cabo em um pivô que habilita o rotor a ser trazido o
posição horizontal no chão para manutenção, etc.; e outro
é um structure.  externo eu acredito ambos ser um pouco não prático.
Um vigamento mais simples é mostrada, de quem fins podem ser cavados no chão
e que pode ser apoiada através de quatro ou seis arames de sujeito ancorados com
turnbuckles.
 
São sugeridos que Spoilers reduzam a velocidade o rotor em velocidades de vento muito altas.
Eu acredito que seria muito difícil propor um arranjo
onde ambos o spoilers movem e abrem através de quantias exatas.   erros Pequenos
no desígnio e construção do mecanismo poderia causar mesmo
desequilíbrio sério e vibrações a velocidades mais altas.
 
Ajudaria o leitor para enfatizar aquelas velocidades de vento fixas acima
12 mph (a qual só uma fração de um watt é gerada por um
pé quadrado da superfície do S-rotor) é muito raro em a maioria das partes de
o world.  E seguramente uma declaração de cautionary sobre a conveniência
de um S-rotor para velocidades de vento debaixo de 10 mph deveria ser incluída ao
começando do livro em lugar de em página 105.
 
== == == == == == == == == == == == == == == == == == == ==
== == == == == == == == == == == == == == == == == == == ==
 

CD3WD Project Donate