Back to Home Page of CD3WD Project or Back to list of CD3WD Publications

5. Mermas de secado

Indice - Precedente - Siguiente

En primer lugar hay que establecer una diferencia entre "merma. y "pérdida".

Según el diccionario "merma" es una porción que se consume naturalmente o se substrae de una cosa, o también depreciación por pérdida de materia que se produce en las mercancías de toda ciase transportadas o almacenadas; mientras que "pérdida" sería carencia, dono o menoscabo que se recibe en una cosa.

El sentido de "merma" es una pérdida natural o normal que se establece de común acuerdo, mientras que "pérdida"" es una ocasionada por error, mal uso o por acción delictuosa.

Por ejemplo, merma de secado es la reducción de una cantidad de grano en poso por acción de la extracción de humedad, mientras que una perdida de secado sería cuando se seca excesivamente, por debajo de una base admitida, problema que conocemos por "sobresecado", ya sea por defecto de uso de la secadora, o porque se hace "ex profeso".

 

6. Tablas de mermas de secado o de humedad

Con el objeto de evitar el cálculo de las mermas de secado aplicando las fórmulas que se explican en el Capítulo IV, se han preparado tablas especiales, como la que se muestra en el Cuadro 3, donde ya se han realizado los cálculos.

En la linea vertical de la izquierda se encuentran las humedades iniciales del grano y en la línea horizontal superior las humedades finales. En la intersección de los valores respectivos se hallan las mermas de peso expresadas en porcentaje. Tomando un ejemplo anterior (maíz que se seca de 24 a 13,5%), la merma, según el cuadro, será de 12,14%.

Cuadro 3. Mermas de secado

Importante: no hay que incurrir en el error en que caen algunas personas, que calculan la merma restando simplemente las humedades inicial y final, pues el valor que se obtiene es siempre menor que el real.

 

7. Descuentos a los productores

Son entonces las mermas de humedad las que hay que descontar a los productores que entregan granos húmedos. Hay que aclarar que, de acuerdo a las reglamentaciones de la Junta Nacional de Granos, el descuento es algo mayor, pues se acepta que la humedad final para calcular esas meonas es de 1,5 puntos menos para sorgo, un punto para maíz y 0,5 puntos para los restante granos y oleaginosas (Dubois, 1987) (Cuadro 4).

HUMEDAD

Grano Base o Tolerancia Diferencia Humedad final para el cálculo de la merma
Maíz 14,5 1,0 13,5
Sorgo 15,0 1,5 13,5
Avena, cebada, centeno - trigo, trigo-pan, arroz ciscara 14,0 0,5 13,5
Mijo 15,0 0,5 14,5
Cartamo 10,0 0,5 9,5
Lino   0,5 9,5
Colza 8,0 0,5 7,5
Girasol 11,0 0,5 10,5
Maní (descascarado) 9,0 0,5 8,5
Soja 13,0 0,5 12,5

Cuadro 4. Descuentos de cantidad a efectuar por merma de humedad (Doc. JNG)

Así, para UD maíz recibido con 18% de humedad, se debe calcular la merma hasta 13,5%. La tabla indica que la merma es de 5,2%. Sin embargo, la base utilizada es de 14,5% , y la tabla indica que la merma es de 4,1 %.

La diferencia es de: 5,2% - 4,1% = 1,1%

Estos mayores descuentos se han autorizado para compensar algunas pérdidas que se originan en los procesos del acopio (manipuleo, conservación, etc.).

En Francia, por ejemplo, existen también tablas oficiales de descuentos para maíz sorgo, que ya incluyen factores para tener en cuenta esas perdidas adicionales por el manejo postcosecha.

En Estados Unidos el cálculo de esta merma, en la comercialización a nivel de acoplo, se hace aplicando un coeficiente que varía según la humedad final alcanzada en el secado, a la cual se agrega un pequeño porcentaje suplementario para compensar las pérdidas por manipuleo. Agregando este valor, el coeficiente total varía, entonces, entre 1,2 a 1,3% por punto de reducción de humedad. Generalmente en la práctica comercial, cada cerealista establece un porcenteje fijo e igual por cada punto removido.

Debe tenerse presente que cuando se seca un grano sólo se pierde agua, no se pierde materia seca, excepto el caso que en la secadora se rompa mucho grano y que parte de el sea eliminado por el aire usado en forma de polvo o granza, pero normalmente, ésta no es una circunstancia muy común ni alcanza valores representativos .

 

8. Merma de volumen

Otro aspecto a analizar es la reducción o merma de volumen de una masa de grano; ésta puede calcularse, para el secado artificial de maíz, entre 0,3 a 0,796 por cada punto de reducción de humedad, según datos proporcionados por Foster (Foster, 1982).

Es así que si se considera un ejemplo de maíz secado de 22 a 14%, tendrá una merma de poso de 9,3%, mientras que la disminución de volumen será de alrededor del 4% (tomando un promedio de 0,5% por cada punto).

 

9. Pérdidas de secado. Sobresecado

Cuando se emplea la secadora se originan algunas pérdidas de grano, como roturas y producción de polvo, que no suelen ser muy altas, y que, en general, se compensan, como se explicó anteriormente.

La perdida más importante es el sobresecado. Algunos cerealistas realizan un sobresecado, para tener una mayor seguridad de almacenamiento, o para reducir los problemas de "revenido" cuando despachan inmediatamente la mercadería a puerto.

El sobresecado puede tener alguna ventaja cuando se vende grano al exterior, pues los compradores extranjeros obtienen una mercadería más seca, más segura, no están pagando agua y requieren menos volúmenes de transporte para un mismo tonelaje. La diferencia favorable para el vendedor se establecerá si los compradores están dispuestos a pagar un precio extra por ese sobresecado.

Pero el sobresecado tiene otro costo extra: el mayor consumo de energía, que aumenta en mayor proporción cuanto más bajo es el contenido de humedad final.

Experiencias realizadas en Canadá (Wassermann et al. 1984) han demostrado también que un sobresecado puede reducir la capacidad de secado entre 10 y 20%.

Si alguna vez la comercialización de los granos se fijara por materia seca, todos estos problemas tendrían solución.

El sobresecado representa, entonces, muchos dólares que se pierden, no sólo para cerealistas, sino para la economía del país.

Estadísticas publicadas por la Junta Nacional de Granos (Marsans, 1984) indican, por ejemplo, que en algunos años, la soja exportada como grano salió con 11,5% de humedad, cuando la base aceptada es del 13%. Este 1,5% de humedad (en realidad 1,7%), de merma representa, si la cantidad exportada como grano fuera de 1 000 000 de t, un total de unos 2 500 000 dólares que dejan de ingresar al país, sólo por soja.

Los mismos datos suministrados por la JNG dan un promedio de pérdidas por sobresecado de 1,4% para trigo, 1,7% para maíz y 1,4% para sorgo, promedio de los granos exportados desde 1979 a 1983, los que sumados a los datos de soja, significan una pérdida anual de unos 38 000 000 de dólares.

 

10. Contenido de humedad de equilibrio

Cuando un grano se encuentra durante un tiempo suficientemente prolongado en un ambiente con determinada humedad relativa y temperatura, adquiere un contenido de humedad en equilibrio con dicho ambiente, es decir, no absorbe ni pierde agua, mientras el ambiente, por supuesto, no varíe su humedad y temperatura.

Un maíz de secado natural (que no pasó por secadora alguna) puede tener UD contenido de humedad de equilibrio de 0,5 a 1 % superior al mismo maíz que fue cosechado húmedo y debió ser secado artificialmente. Así, es muy posible que, colocados en el mismo ambiente, el primero tenga por ejemplo 14,5% de humedad y el segundo, sólo 13,8%. Esto se debe a cambios en la composición del grano, sobre todo cuando éste alcanza una temperatura superior a 60°C.

Los granos que tienen un alto contenido de aceite, como soja y girasol, absorben menos agua que granos en los que predomina UD endosperma harinoso, como maíz y trigo, para un mismo ambiente. Absorben menos agua, pero la tienen más concentrada en UD menor volumen de grano, pues el aceite y el agua no se mezclan. Por este motivo, esos granos oleaginosos deben ser conservados en los almacenamientos a menores contenidos de humedad.

Se han preparado diversos gráficos donde sé han transportado en coordenadas la humedad relativa versas la humedad de equilibrio de diversos granos para diferentes temperaturas (Figuras 1 a 4).

 

11. Humedad relativa del aire

La humedad relativa del aire es el porcentaje de humedad que posee en ese momento, en relación al máximo contenido de humedad que podría tener en esas condiciones. Cuando se dice que el aire tiene 75% de HR, quiere decir que le faltan 25% para llegar al máximo de humedad. Pero la humedad que puede contener como máximo un aire depende de la temperatura a que se encuentre. Cuanto más caliente se encuentre el aire, mayor es la cantidad de humedad que puede recibir.

El aire comúnrnente utilizado en el secado de granos (entre 90 y 140 °C) tiene una HR muy débil (entre 0,5 y 2%) y es entonces, muy ávido de humedad. Hasta saturarse totalmente, es decir, para llegar al 100% de HR, puede acumular una gran cantidad de humedad, que la va a quitar al grano en poco tiempo.

Resulta conveniente conocer la HR y la temperatura del aire exterior en la propia planta de acopio para saber cuáles son, a veces, las causas de diferentes comportamientos de la secadora, pero ademas son valores fundamentales para la correcta aireación de los granos en los silos de almacenamiento.

La HR se mide por medio de higrómetros o de psicrómetros. Los higrómetros son aparatos que miden la HR a través de la dilatación o contracción que algunos elementos experimentan al entrar en contacto con la humedad del ambiente en que se colocan.

Figura 1. Curvas de humedad de equilibrio para maíz (Doc. JNG)

Figura 2. Curvas de humedad de equilibrio para coIza (Doc. CNEEMA)

Figura 3. Curva de humedad de equilibrio para sorgo (Doc. CENTREINAR)

Figura 4. Curva de humedad de equilibrio para trigo (Doc. CENTREINAR)

El higrómetro metálico o de espiral tiene una pequeña espiral sensible de cinta de cobre recubierta en su cara exterior por una película de una sustancia muy higroscópica.

El higrómetro de cabellos contiene un haz de cabellos desengrasados, uno de cuyos extremos es fijo y el otro se enrrolla en una polea que acciona una aguja indicadora sobre un cuadrante (dial) graduado.

El psicrómetro está formado por un armazón que sostiene dos termómetros iguales, uno de bulbo seco y el otro de bulbo húmedo. Este último tiene el bulbo recubierto por una tela que siempre se mantiene húmeda por medio de una tira o cordel que la sostiene unida a un pequeño recipiente con agua (Figura 5).

En un ambiente seco, la tela que cubre el bulbo evapora parte de su humedad, lo que produce un enfriamiento del bulbo, lo que se registra en un descenso de la temperatura del termómetro. El bulbo seco registra la temperatura ambiente, la cual siempre es mayor que la del bulbo húmedo.

Cuanto menor sea esa diferencia, mayor es la HR del aire, y por el contrario, cuanto mayor sea la diferencia, menor es la HR. El psicrómetro se adapta bien para medir la HR de aire en movimiento.

El higrómetro tienen la ventaja que da una lectura, mientras que la lectura del psicrómetro requiere el empleo de diversas tablas.

La utilidad del psicrómetro está dada porque también proporciona la temperatura del ambiente en el termómetro del bulbo seco.

Conviene colocar estos instrumentos en el exterior, cercanos a la planta de silos, pero protegidos de la intemperie, bajo techo pero no en un ambiente cerrado. Se recomienda colocarlos a una altura de 1,5 a 1,8 m del suelo, pero algo alejados de la influencia de la secadora.

La humedad relativa del aire ambiente no es muy importante en el secado con aire caliente, pero sí lo es en el secado con aire natural o a baja temperatura. En el secado con aire caliente, la HR que tiene importancia es la del aire de secado, como se verá en otro capítulo.

 

12. Psicrometría

Las relaciones entre la humedad, la temperatura y otras propiedades del aire se analizan en los cálculos psicrométricos, que tienen una cierta complejidad y cuyo estudio escaparía en alguna escala a las finalidades de esta obra.

A fin de facilitar su comprensión se han elaborado los diagramas psicrométricos, en los cuales también pueden analizarse los procesos en los que intervienen los granos, como el secado, aireación, humedecimiento y otros, en Ios que participan el aire exterior y el vapor de agua.

Un estudio científico del secado de los granos no podría completarse sin un conocimiento cabal de estas relaciones, que constituyen el fundamento de la psicrometría y de los fenómenos termodinámicos que afectan a los granos.

Otras propiedades que ejercen influencia ea estos procesos son el "mano y el peso de los granos, su área superficial, porosidad, calor de vaporización, conductividad térmica, calor específico, coeficiente de transferencia de calor, coeficiente de difusión de humedad, etc.

A todos aquellos interesados en profundizar en estos temas, se les recomienda la lectura de los siguientes trabajos: Todd (1981); Wilhelm (1976); Lasseran (1977); Bloone and Shove (1971); Agricultural Engineers Yearbook (ASAE).

Figura 5. Psicrómetro con ventilación

 

Bibliografía

ASAE. Agricultural Engineers Yearbook. Manual técnico editado todos los anos por la ASAE, St. Joseph, Michigan, U.S.A.

BLOOME, P.D. y SHOVE, G.C. 1971. Near equilibrium simulation of shelled corn drying. Transactions of the ASAE, N°4: 709.

DUBOIS, M.E.D. 1987. Mermas de secado. Circular Técnica N° 1 . Comisión Técnica de Postcosecha de Granos. Buenos Aires. 5 p.

FOSTER, G.H. 1982. Drying Cereal Grains. Storage of Cereal Grains and Their Products, Chapter 4. American Association of Cereal Chemists, Inc.. St. Paul, Minessota, U.S.A.

LASSERAN, J.C. et al 1977. Spécial Séchage. Perspectives Agricoles. Institute Technique des Céréales et des Fourrages (ITCF), Juin-Juillet, N°6, Paris, France.

MARSANS, G. J. 1984. Sistemas o Métodos de Secado no Convencional. Propuestas para una Mejor Tecnología. Jornadas de Secado y Aireación de Granos. Bolsa de Cereales de Buenos Aires, dic. 5-30.

TOOD, M.L. 1981. Psychrometrics applied to grain processing. ASAE, St. Joseph, Michigan, U.S.A.

WASSERMANN, J.D., STOCK, W.F., FREHLICH, G.E. y LISCHYNSKI, D.E. 1984. Heated air dryer performance. PAMI, Canada. Paper N°84-211, 23p.

WILHELM, L.R. 1976. Numerical calculation of psychrometric properties in Sl units. Transactions of the ASAE, N°2: 318.

 


Capitulo II - Tipos de secadoras

1. Tipos de secadoras de granos

Las máquinas secadoras pueden clasificarse de la siguiente forma:

A) Secadoras de flujo continuo

(1) Verticales (tipo torre)

- de flujo mixto (de caballetes)
- de flujo cruzado (de columnas)
- de persianas
- de flujo contracorriente
- de flujo concurrente

(2) De cascadas

(3) Horizontales

- de flujo cruzado (de columnas hexagonales)
- de flujo mixto
- de lecho plano

B) Secadoras en tandas

(1) De flujo cruzado

- con recirculación
- estáticas

(2) De flujo mixto

- con recirculación
- estáticas

C) Silos secadores

(1) De flujo contracorriente
(2) De flujo cruzado

Tanto las máquinas verticales (de menor tamaño) como las de cascadas, horizontales y secadoras en tandas, pueden ser fijas o transportables.

Esta clasificación comprende solamente a las secadoras comerciales, o sea aquellas que se emplean en las plantas de acopio de granos de una capacidad media a alta.

A nivel de pequeño productor existe una amplia gama de diversos equipos de secado, la mayoría de los cuales son de reducida capacidad y de dísenos simples, que se utilizan en países donde todavía no ha llegado una tecnología avanzada. Estos equipos no han sido incluidos en esta obra.

Para todos aquellos interesados en estos tipos simples de secadoras, recomendamos muy especialmente los trabajos que realiza el CENTREINAR², de Brasil, y que pueden aplicarse a muchos países de zonas tropicales y subtropicales del mundo.

Otros ejemplares de secadoras, algo más evolucionados, como secadoras solares, secadoras por convección natural, patios de secado, túneles de secado, etc., tampoco están incluidos en este libro, pero la bibliografía existente es abundante.

Con respecto a los túneles de secado, para granos embolsados, que se usan en escala comercial en algunos países, como Colombia, están descritos en trabajos que figuran en la bibliografía (Eslava Sarmiento, 1985).

 

2. Secadoras de flujo continuo

Son aquellas en las que el grano se introduce y descarga en forma continua o intermitente, permaneciendo constantemente llenas las secciones de secado y enfriamiento. Las operaciones de secado y enfriamiento se efectúan en forma simultánea e ininterrumpida.

Las secadoras verticales, también llamadas "tipo torre", se caracterizan por el recorrido del grano, desde arriba hacia abajo, y pueden ser clasificadas en varios grupos, de acuerdo al tipo de flujo.

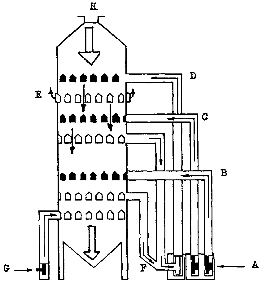
Las secadoras de flujo mixto, también llamadas de "caballetes" (Figura 6), tienen como elemento principal, en las zonas de secado y enfriamiento, un conjunto de conductos en forma de V invertida (Figura 7), por donde circula el aire caliente o frío.

Las de flujo cruzado, también llamadas "de columnas" (Figura 8) poseen columnas o venas rectas por donde circula por gravedad el grano; las columnas están formadas por paredes de chapas perforadas, las que atraviesa el aire caliente (o frío) en forma cruzada o perpendicular al espesor de la columna. Se conocen también secadoras de columnas de forma circular (Figura 9).

Estos dos tipos, por ser los modelos comerciales más empleados en la actualidad, ocupan la mayoría de los capítulos de esta obra.

Las secadoras de persianas tienen su cuerpo principal formado por tres tabiques verticales, como lo muestra la Figura 10, siendo los dos exteriores abiertos en las dos caras, y el tabique medio en zig-zag con grandes perforaciones. Este sistema permite que el grano situado en el costado por donde ingresa el aire caliente descienda más rápidamente que el grano situado en el costado opuesto, con el fin de asegurar un secado más homogéneo. El espesor de la columna es de alrededor de 40 cm.

Las de flujo contracorriente y de flujos concurrentes se conocen como de flujos paralelos (de aire y de grano). Las de flujo contracorriente son aquellas en las que el aire y el grano marchan en la misma dirección, pero en sentido contrario. Las de flujo concurrente son las que el aire y el grano marchan en la misma dirección y en el mismo sentido.

3. Secadoras de flujo contracorriente

En esta secadora el grano fluye hacia abajo y el aire hacia arriba. En forma general este tipo de secadora corresponde al silo secador ilustrado en la Figura 62, de tal manera que se recomienda consultar dicho tema.

Este tipo de secado es muy eficiente energéticamente, porque el aire sale a través del grano más húmedo, o sea muy saturado, pues recoge una máxima carga de humedad.

El espesor de la capa de grano no suele superar los 3 - 4 m, pero si aumenta el espesor de la masa de granos también hay un incremento en la resistencia al paso del aire, que produce una disminución de la capacidad de secado.

El equipo puede funcionar todo en caliente y efectuar el enfriamiento en un silo separado (Figura 11) para hacer el proceso en forma continua, aplicando lo que se conoce como "secado combinado.. (Capítulo VI).

Figura 6. Esquema de una secadora de flujo continuo, de caballetes (Doc. IRAM)

A.1.3: cámara de combustión; A.15: ventilador para el aire de combustión; A.1.6: conducto de aire para la combustión; A.2: ventilador de aire caliente; A.3: plenum de aire caliente; A.3.2: entrada de aire; A.4.2: cámara de secado (de caballetes); B.1: ventilador de aire frío; B.2: plenum de aire frío; B.3.2: cámara de enfriamiento; C.1: entrada de granos; C.2: depósito de granos; C.6: descarga de granos; F.1: bastidor

Figura 7. Corte de una cámara de secado de caballetes (Doc. Sirocco - Bühler) A: cámara de secado; B: caballetes; C: plenum de aire caliente; D: plenum de aire usado; E: dirección del grano; F: ingreso del aire caliente; G: aire caliente mezclándose con el grano; H: salida del aire usado.

Figura 8. Esquema de una secadora de flujo continuo, de columnas (Doc. IRAM)

Los nombres de las distintas partes son iguales que los de la Figura 6, con excepción de A.4.1: cámara de secado (de columnas).

Figura 9. Secadora de columna de forma circular (Doc. Zimmerman)

Figura 10. Cuerpo principal de secadora de persianas (Doc. Riviere - Casalis)

Figura 1 1. Silo secador de flujo contracorriente (secado combinado) (Doc. MWPS-13)

 

4. Secadoras flujo concurrente

Ea este tipo, el grano y el aire de secado fluyen en la misma dirección y sentido. De esta forma el aire caliente se encuentra con grano frío y húmedo, pero la transferencia de calor y humedad que tiene lugar asegura que la temperatura del grano no alcance la temperatura del aire de entrada y que descienda rápidamente.

Este diseño tiene la ventaja que se pueden emplear muy altas temperaturas del aire, que originan altas velocidades de secado sin sobrecalentar el grano. Este último está sometido a un tiempo de permanencia más corto, por lo cual no es muy afectado.

Se ha comprobado también que el consumo específico de energía se encuentra entre 850 y 900 kcal por kg. de agua evaporada, que significa una buena eficiencia térmica.

En la práctica se ha comprobado que la extracción de humedad por cada tratamiento de flujo concurrente no supera los dos puntos de humedad, de manera que las secadoras comerciales existentes tienen dos o tres etapas, separadas cada una por secciones de reposo. Tales máquinas son muy altas, la potencia consumida es elevada y los tiempos de residencia más prolongados, todo lo cual está limitando, hasta ahora, la difusión de modelos de este tipo, así como su mayor costo inicial.

En la Figura 12 se observa una secadora de este diseño, de tres etapas con temperaturas diferenciales con enfriado en flujo contracorriente.

Figura 12. Esquema de secadora de flujos concurrentes, de tres etapas de secado y enfriamiento por flujo contracorriente. (Doc. FAO)

A: ingreso de aire al quemador; B C-D: aire caliente en tres etapas; E: salida de aire usado; F: recirculación de aire usado; G: ingreso de aire para enfriamiento; H: entrada de grano húmedo.

 

5. Secadoras cascadas

Estas máquinas están formadas por uno o dos planos inclinados, compuestos por persianas (las que atraviesa el aire) por las cuales el grano va descendiendo en forma de una cascada continua.

Este sistema tiene la ventaja de que no se tapan agujeros (porque no existen) con borra o basura, como en otras secadoras que tienen paredes perforadas. También son aptas para secar semillas muy pequeñas, como calza, tréboles y otras similares, reduciendo el caudal de aire.

La corriente de aire que pasa por las persianas, además de su función principal de secar y enfriar, realiza una buena limpieza del grano. Las impurezas arrastradas tampoco caen en el plenum o cámara de aire caliente, con lo cual el riesgo de incendio es reducido a un mínino.

Existen dos configuraciones especiales, una con un solo plano inclinado (Figura 13), en el cual la última sección es la zona de enfriado, y otra con dos planos inclinados (Figura 14) donde el plano superior es la zona de secado, y el inferior, la zona de enfriado.

Como son equipos de poca inclinación ocupan un área superficial mayor que las secadoras tipo torre. Además la potencia absorbida por toneladas es casi el doble que las secadoras mencionadas.

Con el fin de aumentar la capacidad de secado se han fabricado secadoras con este mismo principio de cascadas, pero verticales, formadas por módulos de forma romboidal (Figura 15) que pueden montarse uno arriba del otro, obteniéndose secadoras de hasta 100 t/hora.

En general, estas secadoras de lecho en cascadas emplean mayores caudales de aire que las secadoras de flujo mixto, pero trabajan a menores temperaturas del aire de secado. Sus fabricantes dicen que por dichas razones son preferidas estas máquinas por las malterías y los elaboradores de arroz.

La instalación de las secadoras de 1 ó 2 planos es fácil, pues ya vienen entregadas en un único cuerpo completo, y solo se necesita una grúa para ubicarlas.

Figura 13. Secadora de cascadas, de un solo plano (Doc. Alvan Blanch)

Figura 14. Secadora de cascadas, de dos planos (Doc. Alvan Blanch)

Figura 15. Secadora de cascadas, de módulos romboidales (Doc. Alvan Blanch)

1: transportador de granos; 2: tolva de grano húmedo; 3: secciones de calor; 4: conducto de aire caliente; 5: sección de enfriado; 6: conducto de aire frío; 7: rosca de descarga de grano; 8: ventilador de aire frío; 9: controles de quemador; 10: ventilador y cámara de combustión; 11: cámaras de calor; 12: salida de aire usado.

 

6. Secadores horizontales

Se ubican en este grupo dos tipos: las secadoras horizontales de columnas hexagonales y las secadoras horizontales planas.

Las primeras son similares en su diseño a las secadoras en tandas descritas en el Capítulo VI, pero se diferencian porque su operación es continua, tienen ciclo de enfriamiento, son mas complejas, y suelen ser más largas (Figura 16). En la Figura 17 se observa un esquema interno de una secadora de este tipo, en la cual el grano se desplaza desde arriba por venas que rodean un plenum de aire caliente o frío;

La capacidad de estas máquinas se aumenta haciéndolas de mayor longitud. Algunas marcas están formadas por módulos superpuestos, en los que cada modulo es una secadora individual. Esta última disposición tiene la ventaja de que cada módulo puede tener temperaturas de secado diferentes, mayores en los módulos superiores y menores en los inferiores; al mismo tiempo se detienen o suprimen los ventiladores de aire frío (excepto en el módulo inferior), intercalando de esta forma períodos de reposo que mejoran la calidad y eficiencia del proceso (Figura 44).

Las secadoras horizontales planas se caracterizan por tener la sección de secado y enfriamiento en posición horizontal plana. Pueden ser clasificadas en dos modelos: de lecho fijo y de lecho fluido.

Las de lecho fijo (Figura 18) tienen una cámara de secado plana de un ancho de unos 3 m y una longitud entre 10 y 15 m.

El grano es removido coutinuamente por un agitador que avanza y retrocede, y es transportado por UD piso movible hacia el extremo de salida. En la última parte de la máquina se lleva a cabo el enfriado del grano.

El grano avanza en capas de 30 a 48 cm, removidas regularmente, produciéndose así un buen contacto entre grano y aire. Según sus constructores, estas características les permiten obtener una alta calidad de grano seco.

Muchas de estas secadoras horizontales también pueden ser empleadas para secar forraje, pellets y otros productos y subproductos.

Son secadoras de baja capacidad de secado, de alrededor de 5 -7 t/hora.

Figura 16. Secadora horizontal, de columnas hexagonales (Doc. Beard)

Figura 17. Sección transversal de secadora horizontal de columnas hexagonales.

Figura 18. Esquema de secadora horizontal de lecho fijo, plano doble (1)oc. de Zunche)

1: tolva suplementaria, 2: tolva de carga; 3: equipo generador de calor; 4: agitador; 5: ventilador de aire caliente; 6: plano de secado; 7: plenum de aire caliente; 8: plano de enfriamiento; 9: ventilador de aire frío; 10: lecho móvil de precalentamiento y presecado; 11: chimenea de salida de aire usado; 12: sinfín de descarga. Las dimensiones están expresadas en milímetros.

Las secadoras de lecho fluido se diferencian porque emplean elevados caudales de aire caliente, con el fin de agitar y poner en suspensión a la capa de granos, y de esta forma conseguir un secado más rápido y uniforme (Figura 19).

Existe otro tipo de secadora horizontal de lecho fijo, más simple, también llamada "de capa estacionaria., pero que trabaja en tandas. La ilustración de la figura muestra una secadora de esas características (Dalpasquale et al. 1991) Figura 20).

Figura 19. Secadora horizontal de lecho fluido (Doc. Trimec)

Figura 20. Secadora horizontal, de capa estática o estacionaria (Doc. FAO)

 

7. Secadoras en tandas y silos secadores

Estos tipos de secadores se describen en forma detallada al tratar los temas de secado en tandas y secado a baja temperatura, en el Capítulo VI.

 

Bibliografía

- DALPASQUALE, V.A., MARQUES PEREIRA, D.A., SINICIO, R., OLIVEIRA FILHO, D. 1991. Secado de granos a altas temperaturas. Oficina Regional de la FAO, Santiago, Chile. Serie Tecnología Postcosecha 10. 75 p.

- ESLAVA SARMIENTO, H. 1985. Secamiento estacionario en túneles armados con sacos. Revista Acogranos, Año 1. N°1: 32-36. Bogotá, Colombia.


Capitulo III - Energia y combustion

1. El problema de la energía

En este capítulo se estudiará cómo se aprovecha la energía de los combustibles, cómo se puede expresar la eficiencia o el rendimiento de una secadora con respecto a otra, como se producen las distintas pérdidas de energía, cuales son las maneras más racionales de reducir el consumo de los diferentes combustibles, as! como los tipos de combustibles y la correcta combustión.

En los manuales de los fabricantes de secadoras y en los costos de secado que se llevan a cabo en el acopio se encuentra expresado el consumo de combustible utilizando como unidad el kg, el litro o el m³ por quintal de grano secado o por hora de trabajo.

Esta forma de expresión es útil para esos cálculos, pero no es totalmente exacta porque el consumo veía de un combustible a otro, porque es diferente según la humedad inicial del grano, la temperatura de secado empleada y depende además de otros factores, como se verá en otro capitulo.

Resulta más adecuado indicar el consumo de energía en otra unidad, como es la cantidad de kilocalorías consumidas por cada kg de agua evaporada, que permite hacer comparaciones entre secadoras, y cuya determinación se explica enseguida. Es lo que se denomina "consumo específico de energía".


Indice - Precedente - Siguiente

CD3WD Project Donate